TOP
|
特許
|
意匠
|
商標
特許ウォッチ
Twitter
他の特許を見る
公開番号
2025141030
公報種別
公開特許公報(A)
公開日
2025-09-29
出願番号
2024040746
出願日
2024-03-15
発明の名称
送風装置および掃除機
出願人
ニデック株式会社
代理人
弁理士法人 佐野特許事務所
主分類
F04D
29/28 20060101AFI20250919BHJP(液体用容積形機械;液体または圧縮性流体用ポンプ)
要約
【課題】送風効率を向上させることができる送風装置を提供する。
【解決手段】送風装置は、上下に延びる中心軸を中心に回転可能なインペラと、インペラを回転させるモータと、インペラを径方向外方から覆うファンカバーと、を備える。インペラは、モータに固定される主板と、主板の上方に配置され、径方向中心部に開口を有し、開口の縁部から径方向外方に向かって斜め下方に延びる上板と、主板と上板との軸方向間に配置され、周方向に互いに間隔を隔てて配列される複数の動翼と、を有する。主板は、モータに固定されるインペラ固定部と、インペラ固定部から径方向外方に向かって斜め下方に延びる傾斜部と、を有する。傾斜部の少なくとも径方向外方の先端部は、径方向外方に向かって斜め下方に直線状に傾斜する。
【選択図】図6
特許請求の範囲
【請求項1】
上下に延びる中心軸を中心に回転可能なインペラと、
前記インペラを回転させるモータと、
前記インペラを径方向外方から覆うファンカバーと、を備え、
前記インペラは、
前記モータに固定される主板と、
前記主板の上方に配置され、径方向中心部に開口を有し、前記開口の縁部から径方向外方に向かって斜め下方に延びる上板と、
前記主板と前記上板との軸方向間に配置され、周方向に互いに間隔を隔てて配列される複数の動翼と、を有し、
前記主板は、
前記モータに固定されるインペラ固定部と、
前記インペラ固定部から径方向外方に向かって斜め下方に延びる傾斜部と、を有し、
前記傾斜部の少なくとも径方向外方の先端部は、径方向外方に向かって斜め下方に直線状に傾斜する、送風装置。
続きを表示(約 1,200 文字)
【請求項2】
前記傾斜部は、前記インペラ固定部との境界から前記先端部に至るまで、径方向外方に向かって斜め下方に直線状に傾斜する、請求項1に記載の送風装置。
【請求項3】
前記上板の板厚は、前記主板の板厚以上である、請求項1に記載の送風装置。
【請求項4】
前記上板は、前記傾斜部よりも、軸方向と直交する方向に対する傾斜が大きい、請求項1に記載の送風装置。
【請求項5】
前記モータは、
前記中心軸を中心に回転可能なロータと、
前記ロータの径方向外方に配置され、前記ロータを回転させるステータと、を有し、
前記ロータは、
前記中心軸に沿って延びるシャフトと、
前記ステータの上方側で前記シャフトを回転可能に支持する上ベアリングと、有し、
前記インペラ固定部は、前記シャフトのうち前記上ベアリングよりも上方の部分に固定され、
前記上ベアリングの少なくとも一部は、前記傾斜部に対して径方向に重なる位置に配置される、請求項1に記載の送風装置。
【請求項6】
前記モータは、
前記中心軸を中心に回転可能なロータと、
前記ロータの径方向外方に配置され、前記ロータを回転させるステータと、
上ハウジングと、を有し、
前記ロータは、
前記中心軸に沿って延びるシャフトと、
前記ステータの上方側で前記シャフトを回転可能に支持する上ベアリングと、有し、
前記上ハウジングは、
前記ステータの上方に位置し、軸方向に貫通する上ベアリング用開口を径方向中心部に有するハウジング上部と、
前記上ベアリング用開口に配置され、前記上ベアリングを保持する上ベアリング保持部と、を有し、
前記ハウジング上部および前記上ベアリング保持部は、互いに連結され、
前記ハウジング上部は、樹脂で構成され、
前記上ベアリング保持部は、前記ハウジング上部よりも熱伝導性が高い材料で構成される、請求項1に記載の送風装置。
【請求項7】
前記インペラから流出する流体の流通経路上に配置される複数の静翼を有するディフューザを備え、
前記モータは、
前記中心軸を中心に回転可能なロータと、
前記ロータの径方向外方に配置され、前記ロータを回転させるステータと、
上ハウジングと、を有し、
前記上ハウジングは、前記ステータの上方に位置するハウジング上部を有し、
前記ディフューザは、前記ハウジング上部に固定されるディフューザ固定部を有し、
前記ディフューザ固定部の少なくとも一部は、前記傾斜部に対して径方向に重なる位置に配置される、請求項1に記載の送風装置。
【請求項8】
請求項1~7のいずれか1項に記載の送風装置を備える、掃除機。
発明の詳細な説明
【技術分野】
【0001】
本発明は、送風装置および掃除機に関する。
続きを表示(約 1,100 文字)
【背景技術】
【0002】
掃除機は、送風装置を備える。送風装置が駆動することにより、塵埃などを含む流体が掃除機に吸引される(たとえば、特許文献1参照)。
【先行技術文献】
【特許文献】
【0003】
特開2010-38027号公報
【発明の概要】
【発明が解決しようとする課題】
【0004】
送風装置は、インペラを備える。インペラは、回転することにより、流体を吸引し、その流体を径方向外方に流出する。この構成において、インペラから流出される流体の圧力損失が大きければ、送風効率が低下する場合がある。
【0005】
本発明は、送風装置の送風効率を向上させることを目的とする。
【課題を解決するための手段】
【0006】
本発明の例示的な送風装置は、上下に延びる中心軸を中心に回転可能なインペラと、インペラを回転させるモータと、インペラを径方向外方から覆うファンカバーと、を備える。インペラは、モータに固定される主板と、主板の上方に配置され、径方向中心部に開口を有し、開口の縁部から径方向外方に向かって斜め下方に延びる上板と、主板と上板との軸方向間に配置され、周方向に互いに間隔を隔てて配列される複数の動翼と、を有する。主板は、モータに固定されるインペラ固定部と、インペラ固定部から径方向外方に向かって斜め下方に延びる傾斜部と、を有する。傾斜部の少なくとも径方向外方の先端部は、径方向外方に向かって斜め下方に直線状に傾斜する。
【0007】
本発明の例示的な掃除機は、上記送風装置を備える。
【発明の効果】
【0008】
本発明の例示的な送風装置および掃除機によれば、送風装置の送風効率を向上させることができる。
【図面の簡単な説明】
【0009】
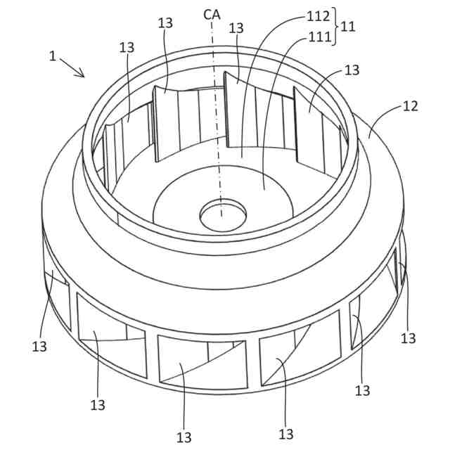
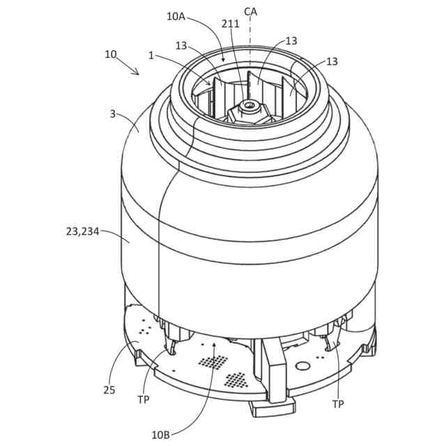
図1は、実施形態に係る送風装置の斜視図である。
図2は、実施形態に係る送風装置のインペラの斜視図である。
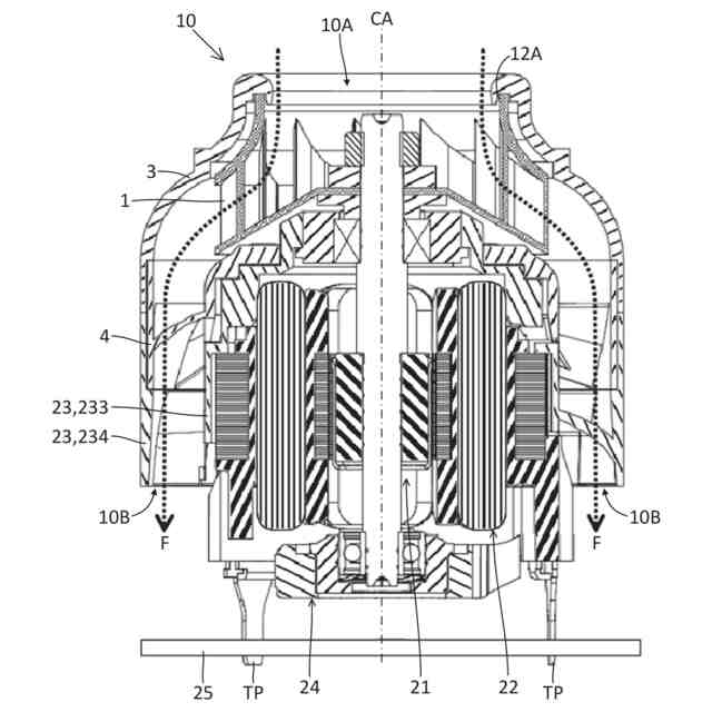
図3は、実施形態に係る送風装置の断面斜視図である。
図4は、実施形態に係る送風装置に吸引され排出される流体の流通経路を示す図である。
図5は、実施形態に係る送風装置に吸引され排出される流体の流通路を構成する各部材の分解断面斜視図である。
図6は、実施形態に係る送風装置のインペラの断面図である。
図7は、実施形態に係る送風装置を備える掃除機の斜視図である。
【発明を実施するための形態】
【0010】
以下、本発明の例示的な実施形態について、図1~図7を参照しながら説明する。
(【0011】以降は省略されています)
この特許をJ-PlatPat(特許庁公式サイト)で参照する
関連特許
ニデック株式会社
モータの制御方法
23日前
ニデック株式会社
生産管理システム
8日前
ニデック株式会社
送風装置および掃除機
5日前
ニデック株式会社
モータ及びモータ製造方法
8日前
ニデック株式会社
判別システム、判別方法、および判別プログラム
1日前
ニデック株式会社
画像検査装置、画像分割方法、および画像分割プログラム
1日前
ニデック株式会社
外観検査装置、外観検査方法、および外観検査プログラム
2日前
ニデック株式会社
画像検査装置、再調整要否提示方法および再調整要否提示プログラム
2日前
ブルースカイテクノロジー株式会社
放電抵抗回路監視付き電圧センサ
4日前
個人
圧縮機
5か月前
個人
海流製造装置。
17日前
株式会社ツインバード
送風装置
15日前
株式会社ツインバード
送風装置
15日前
ダイニチ工業株式会社
空調装置
3か月前
カヤバ株式会社
電動ポンプ
1か月前
ビッグボーン株式会社
送風装置
1か月前
株式会社不二越
蓄圧装置
2か月前
株式会社ノーリツ
ロータリ圧縮機
1か月前
株式会社ニクニ
液封式ポンプ装置
4か月前
シャープ株式会社
送風装置
5か月前
シャープ株式会社
送風装置
5か月前
株式会社酉島製作所
ポンプ
5か月前
個人
携帯型扇風機用の送風ノズル
4か月前
株式会社酉島製作所
ポンプ
3か月前
シャープ株式会社
送風装置
5か月前
株式会社酉島製作所
ポンプ
4か月前
株式会社電業社機械製作所
ポンプ
5か月前
小倉クラッチ株式会社
ルーツブロア
2か月前
株式会社不二越
油圧ユニット
4か月前
株式会社坂製作所
スクロール圧縮機
3か月前
サンデン株式会社
スクロール圧縮機
1日前
サンデン株式会社
スクロール圧縮機
1日前
株式会社不二越
ベーンポンプ
2か月前
サンデン株式会社
スクロール圧縮機
1日前
リンナイ株式会社
羽根車
5か月前
株式会社ノーリツ
ロータリー圧縮機
3か月前
続きを見る
他の特許を見る