TOP
|
特許
|
意匠
|
商標
特許ウォッチ
Twitter
他の特許を見る
公開番号
2025146216
公報種別
公開特許公報(A)
公開日
2025-10-03
出願番号
2024046876
出願日
2024-03-22
発明の名称
建設機械
出願人
日立建機株式会社
代理人
弁理士法人開知
主分類
E02F
9/00 20060101AFI20250926BHJP(水工;基礎;土砂の移送)
要約
【課題】燃料電池で生成された水の消費量を高めることができる建設機械を提供する。
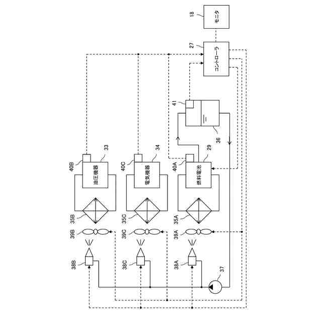
【解決手段】ショベルは、燃料電池29と、燃料電池29で生成された電力が供給される電気機器34と、電気機器34を用いて駆動される油圧機器33と、燃料電池29用の冷却水を冷却する空冷式の冷却器35Aと、油圧機器33の作動油を冷却する空冷式の冷却器35Bと、燃料電池29で生成された水を冷却器35Aへ散布する散水装置38Aと、燃料電池29で生成された水を冷却器35Bへ散布する散水装置38Bとを備える。
【選択図】図3
特許請求の範囲
【請求項1】
燃料電池と、
前記燃料電池で生成された電力が供給される電気機器と、
前記電気機器を用いて駆動される油圧機器と、
前記燃料電池用の冷却水を冷却する空冷式の第1冷却器と、
前記油圧機器の作動油を冷却する空冷式の第2冷却器とを備えた建設機械において、
前記燃料電池で生成された水を前記第1冷却器へ散布する第1散水装置と、
前記燃料電池で生成された水を前記第2冷却器へ散布する第2散水装置とを備えたことを特徴とする建設機械。
続きを表示(約 1,600 文字)
【請求項2】
請求項1に記載の建設機械において、
前記電気機器用の冷却水を冷却する空冷式の第3冷却器と、
前記燃料電池で生成された水を前記第3冷却器へ散布する第3散水装置とを備えたことを特徴とする建設機械。
【請求項3】
請求項2に記載の建設機械において、
前記第1冷却器に向かって流れる冷却風を生起する第1冷却ファンと、
前記第2冷却器に向かって流れる冷却風を生起する第2冷却ファンと、
前記第3冷却器に向かって流れる冷却風を生起する第3冷却ファンとを備え、
前記第1冷却ファンは、前記第1散水装置と前記第1冷却器との間に配置され、
前記第2冷却ファンは、前記第2散水装置と前記第2冷却器との間に配置され、
前記第3冷却ファンは、前記第3散水装置と前記第3冷却器との間に配置されたことを特徴とする建設機械。
【請求項4】
請求項1に記載の建設機械において、
前記燃料電池で生成され、前記第1散水装置および前記第2散水装置によって散布される水を貯留する水タンクと、
前記水タンクで貯留された水の量を検出する水量センサと、
前記水量センサの検出結果を報知する報知器とを備えたことを特徴とする建設機械。
【請求項5】
請求項1に記載の建設機械において、
前記燃料電池で生成され、前記第1散水装置および前記第2散水装置によって散布される水を貯留する水タンクと、
前記水タンクで貯留された水の量を検出する水量センサと、
前記第1冷却器に対して冷却風を生起する第1冷却ファンと、
前記第2冷却器に対して冷却風を生起する第2冷却ファンと、
前記燃料電池用の冷却水の温度を検出する第1温度センサと、
前記油圧機器の作動油の温度を検出する第2温度センサと、
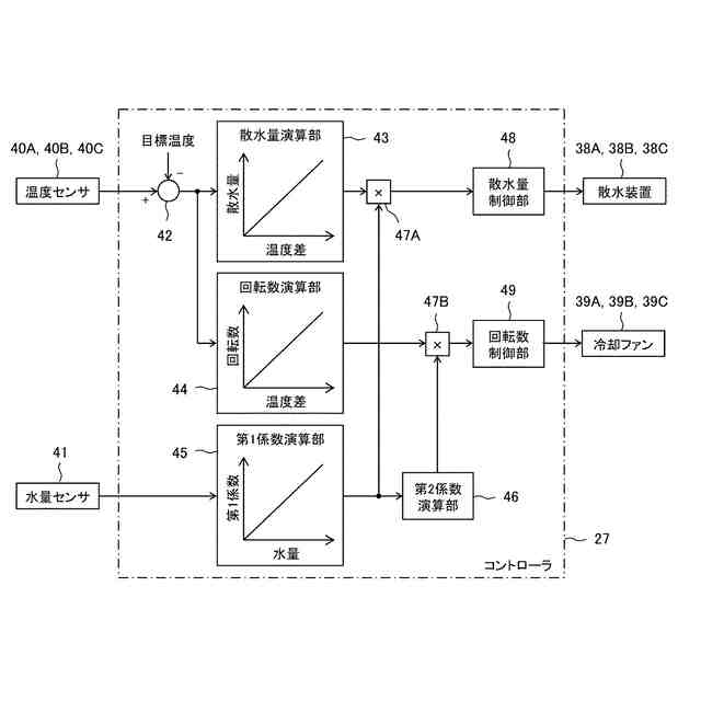
前記第1温度センサ及び前記水量センサの検出結果に基づいて前記第1散水装置の散水量及び前記第1冷却ファンの回転数を制御し、前記第2温度センサ及び前記水量センサの検出結果に基づいて前記第2散水装置の散水量及び前記第2冷却ファンの回転数を制御するコントローラとを備えたことを特徴とする建設機械。
【請求項6】
請求項5に記載の建設機械において、
前記コントローラは、
前記第1温度センサで検出された温度が予め設定された目標温度より高いほど、前記第1散水装置の散水量を増加すると共に、前記第1冷却ファンの回転数を増加し、前記水量センサで検出された水量が多いほど、前記第1散水装置の散水量を増加すると共に、前記第1冷却ファンの回転数を減少し、
前記第2温度センサで検出された温度が予め設定された目標温度より高いほど、前記第2散水装置の散水量を増加すると共に、前記第2冷却ファンの回転数を増加し、前記水量センサで検出された水量が多いほど、前記第2散水装置の散水量を増加すると共に、前記第2冷却ファンの回転数を減少することを特徴とする建設機械。
【請求項7】
請求項4に記載の建設機械において、
前記水量センサの検出結果に基づいて前記燃料電池及び前記報知器を制御するコントローラを備え、
前記コントローラは、
前記水量センサで検出された水量が第1の閾値を超え且つ第2の閾値未満である場合、前記燃料電池の発電電力を制限すると共に、前記燃料電池の発電電力を制限する旨の注意メッセージを前記報知器で表示し、
前記水量センサで検出された水量が前記第2の閾値に達する場合、前記燃料電池の発電を停止すると共に、前記燃料電池を停止する旨の警告メッセージを前記報知器で表示することを特徴とする建設機械。
発明の詳細な説明
【技術分野】
【0001】
本発明は、燃料電池を搭載した建設機械に関する。
続きを表示(約 1,300 文字)
【背景技術】
【0002】
特許文献1は、自動車等の一般車両において、水素と酸素を化学反応させて電力を生成すると共に、水を生成する燃料電池と、燃料電池で生成された電力で駆動される走行用モータと、燃料電池用の冷却水を冷却する空冷式の熱交換器と、燃料電池で生成された水を貯留するタンクと、タンクで貯留された水を熱交換器へ噴霧する水噴霧装置とを備えたことを開示する。
【0003】
熱交換器は、ファンの作用で吸引された空気との熱交換だけでなく、水噴霧装置で噴霧された水の蒸発により、冷却水を冷却する。これにより、燃料電池で生成された水を消費すると共に、熱交換器の冷却力を高める。なお、ファンは、熱交換器の裏面側に配置され、水噴霧装置は、熱交換器の表面側(すなわち、裏面側とは反対側)に配置されている。
【0004】
ここで、ショベル等の建設機械においても、脱炭素化の観点から、燃料電池を搭載することが検討されている。燃料電池を搭載した建設機械に対し、特許文献1に記載の技術を採用すれば、燃料電池で生成された水を消費することが可能である。
【先行技術文献】
【特許文献】
【0005】
特許第6500790号公報
【発明の概要】
【発明が解決しようとする課題】
【0006】
しかし、建設機械の場合には、自動車等の一般車両に比べて、作業で消費される電力が多いため、燃料電池で大量の水が生成される。そのため、大量の水を消費する観点で改善の余地がある。
【0007】
本発明は、上記事柄に鑑みてなされたものであり、その目的は、燃料電池で生成された水の消費量を高めることができる建設機械を提供することにある。
【課題を解決するための手段】
【0008】
上記目的を達成するために、本発明は、燃料電池と、前記燃料電池で生成された電力が供給される電気機器と、前記電気機器を用いて駆動される油圧機器と、前記燃料電池用の冷却水を冷却する空冷式の第1冷却器と、前記油圧機器の作動油を冷却する空冷式の第2冷却器とを備えた建設機械において、前記燃料電池で生成された水を前記第1冷却器へ散布する第1散水装置と、前記燃料電池で生成された水を前記第2冷却器へ散布する第2散水装置とを備える。
【発明の効果】
【0009】
本発明によれば、燃料電池で生成された水の消費量を高めることができる。
【図面の簡単な説明】
【0010】
本発明の一実施形態におけるショベルの構造を表す側面図である。
本発明の一実施形態における駆動システムの構成を表す概略図である。
本発明の一実施形態における冷却システムの構成を表す概略図である。
本発明の一実施形態におけるコントローラの機能的構成を関連機器と共に表すブロック図である。
本発明の一実施形態におけるコントローラの処理手順を表すフローチャートである。
【発明を実施するための形態】
(【0011】以降は省略されています)
この特許をJ-PlatPat(特許庁公式サイト)で参照する
関連特許
日立建機株式会社
建設機械
3日前
日立建機株式会社
油圧機器
3日前
日立建機株式会社
作業機械
3日前
日立建機株式会社
作業車両
3日前
日立建機株式会社
建設機械
3日前
日立建機株式会社
作業機械
3日前
日立建機株式会社
作業機械
3日前
日立建機株式会社
ダンプトラック
3日前
日立建機株式会社
水素供給システム
3日前
日立建機株式会社
減速機及び建設機械
3日前
日立建機株式会社
作業機械及び監視システム
3日前
日立建機株式会社
アキシャルピストン式液圧回転機
3日前
日立建機株式会社
作業機械の経路生成装置及び作業機械
3日前
日立建機株式会社
計測装置及びダンプトラックの走行装置
3日前
日立建機株式会社
満足度収集システム及び満足度収集サーバ
3日前
個人
鋼管
18日前
FKS株式会社
擁壁
7日前
鈴健興業株式会社
敷板部材
3日前
株式会社クボタ
作業車
5日前
株式会社クボタ
作業車
5日前
株式会社奥村組
ケーソン工法
10日前
個人
擁壁用ブロックおよび擁壁
4日前
株式会社ネクステリア
平板基礎
3日前
株式会社武井工業所
積みブロック
27日前
株式会社大林組
建物の構造
4日前
株式会社奥村組
ケーソン刃口金物
10日前
株式会社熊谷組
密度計測方法
5日前
株式会社大林組
袋体付き排水パイプ
17日前
株式会社大林組
袋体付き排水パイプ
17日前
ヤマト発動機株式会社
浮遊型消波装置
7日前
日立建機株式会社
作業機械
7日前
大和ハウス工業株式会社
杭抜き先端具
11日前
日立建機株式会社
作業機械
25日前
日立建機株式会社
建設機械
3日前
ゼニヤ海洋サービス株式会社
通船ゲート
17日前
鹿島建設株式会社
接続方法および接続構造
17日前
続きを見る
他の特許を見る