TOP
|
特許
|
意匠
|
商標
特許ウォッチ
Twitter
他の特許を見る
公開番号
2025143983
公報種別
公開特許公報(A)
公開日
2025-10-02
出願番号
2024043529
出願日
2024-03-19
発明の名称
木質部材のコンクリート面への接合工法
出願人
株式会社奥村組
代理人
弁理士法人翔和国際特許事務所
主分類
E04B
1/58 20060101AFI20250925BHJP(建築物)
要約
【課題】木質部材をコンクリート面に接合する作業を容易にすると共に、鋼棒固着孔の内部に中空鋼棒を、充填固化剤を充填して安定した状態で固着できる接合工法を提供する。
【解決手段】木製柱11の下端面11bに、複数の鋼棒固着孔12を形成する固着孔穿孔工程と、ベースプレート20に、一端部の端部開口22aを一方の面20aに臨ませると共に、他端部側を他方の面20bから立設させて、中空鋼棒22を固定する鋼棒固定工程と、各々の中空鋼棒22を鋼棒固着孔12に挿入させて、充填固化剤14を注入固化させることで、木製柱11の下端面11bに、ベースプレート20を一体として固定するベースプレート一体化工程と、接合手段26を介してベースプレート20をコンクリート面30aに接合して、木製柱11を、コンクリート面30aに一体として接合させる木質部材接合工程とを含んで構成される。
【選択図】図1
特許請求の範囲
【請求項1】
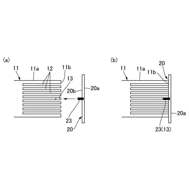
木質部材に穿孔形成された鋼棒固着孔に中空鋼棒を挿入し、挿入した中空鋼棒を介して前記鋼棒固着孔に充填固化剤を充填して固化させることで部材同士を接合する、GIR工法による木質部材のコンクリート面への接合工法であって、
前記木質部材の接合端面に、前記中空鋼棒を挿入固着させる複数の鋼棒固着孔を穿孔形成する固着孔穿孔工程と、
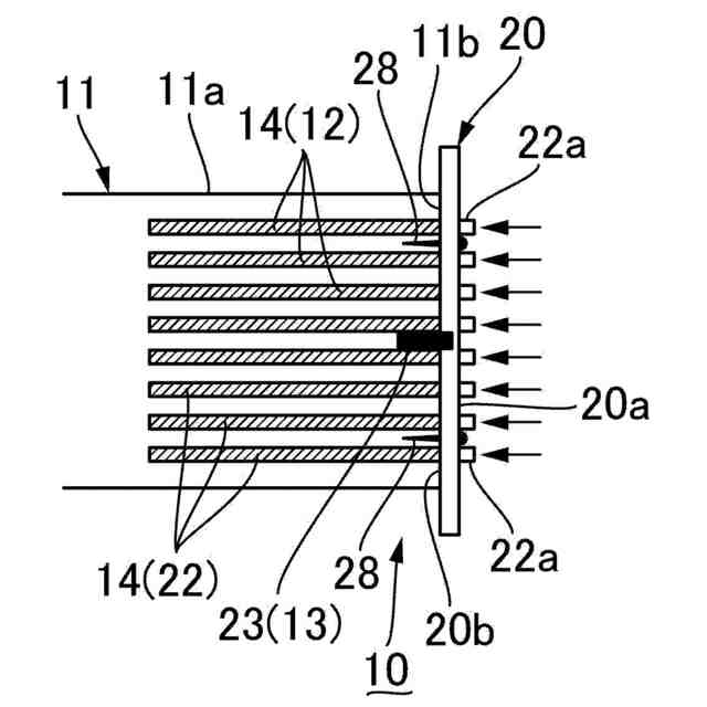
前記木質部材の前記接合端面よりも一回り大きな平面形状を備える金属製のベースプレートに、前記木質部材の前記接合端面の複数の前記鋼棒固着孔と対応する各々の位置において、複数の前記中空鋼棒を、一端部の端部開口を一方の面に臨ませると共に、他端部の端部開口側を他方の面から立設させた状態で固定する鋼棒固定工程と、
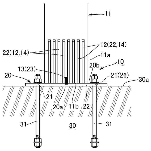
前記中空鋼棒を立設させた前記ベースプレートを、各々の前記中空鋼棒を前記鋼棒固着孔に挿入させて前記他方の面を前記木質部材の前記接合端面に密着させた状態で、前記一方の面に臨ませた一端部の前記端部開口から、前記中空鋼棒を介して、複数の前記鋼棒固着孔に前記充填固化剤を各々注入充填して固化させることによって、前記木質部材の前記接合端面に、前記ベースプレートを一体として固定するベースプレート一体化工程と、
しかる後に、前記木質部材の前記接合端面に一体として固定された前記ベースプレートを、該ベースプレートにおける前記木質部材の前記接合端面から張り出した部分に設けられた接合手段を介して、被接合面であるコンクリート面に接合することによって、前記木質部材を、コンクリート面に一体として接合させる木質部材接合工程とを含んで構成される木質部材のコンクリート面への接合工法。
続きを表示(約 550 文字)
【請求項2】
前記木質部材は、木製柱であり、前記木質部材の前記接合端面は、木製柱の下端面であり、前記コンクリート面は、コンクリートスラブの上面である請求項1記載の木質部材のコンクリート面への接合工法。
【請求項3】
前記木製柱は、矩形状の断面形状を有していると共に、金属製の前記ベースプレートは、前記木製柱の矩形状の断面形状よりも一回り大きな矩形状の平面形状を有している請求項2記載の木質部材のコンクリート面への接合工法。
【請求項4】
前記ベースプレートにおける、前記木質部材の前記接合端面から張り出した部分に設けられた前記接合手段は、当該張り出した部分に形成された、前記コンクリート面から突出して埋設されたアンカーボルトを締着させる複数のボルト締着孔である請求項1又は2記載の木質部材のコンクリート面への接合工法。
【請求項5】
前記固着孔穿孔工程、前記鋼棒固定工程、及び前記ベースプレート一体化工程は、前記木質部材の製造工場において実施されるようになっており、前記木質部材接合工程は、前記ベースプレートが固定された前記木質部材を搬送した施工現場において実施されるようになっている請求項1又は2記載の木質部材のコンクリート面への接合工法。
発明の詳細な説明
【技術分野】
【0001】
本発明は、木質部材のコンクリート面への接合工法に関し、特に、木質部材に穿孔形成された鋼棒固着孔に挿入した中空鋼棒を介して、充填固化剤を充填して固化させることにより部材同士を接合する、GIR工法による木質部材のコンクリート面への接合工法に関する。
続きを表示(約 2,400 文字)
【背景技術】
【0002】
近年、好ましくは環境への配慮から、コンクリート主体の建築物に、木製の構造部分を組み込む技術が種々提案されており、木質部材である例えば木製柱を、鉄筋コンクリート製のスラブ等によるコンクリート面に立設させた状態で接合するための構造として、木製柱に穿孔形成された鋼棒の固着孔に、中空鋼棒を挿入し、挿入した中空鋼棒を介して固着孔に充填固化剤を充填して固化させることで部材同士を接合する、GIR工法を用いた接合部の構造が検討されている。
【0003】
また、例えば下記の特許文献1や特許文献2には、鉄筋コンクリート製のスラブ面に、木質部材とは異なるプレキャストコンクリート製の柱を立設させた状態で接合するための接合部の構造が開示されており、これらの接合部の構造では、下端部に配置されるスプライススリーブに柱主筋を中途まで挿通し、これらを帯筋とともに埋設して製作されたプレキヤストコンクリート製の柱を、スラブ上に設置されたレベラー上に、スラブ面から突出した柱主筋をスプライススリーブに差し込んだ状態で建て込むと共に、その下端部の周囲にグラウト用型枠を設置した後、スプライススリーブ内及びスラブ面との間隙に、プレキヤストコンクリート製の柱の下端部の側面に臨ませたグラウト注入孔から、グラウト材を注入して固化させることで、柱下面とスラブ面及び上下の柱主筋を接合するものとなっている。
【先行技術文献】
【特許文献】
【0004】
特公平4-52815号公報
特開平7―18738号公報
【発明の概要】
【発明が解決しようとする課題】
【0005】
一方、GIR工法を用いて木質部材である例えば木製柱をコンクリート面に立設させた状態で接合する場合、上述の従来のプレキャストコンクリート製の柱の接合部の構造と同様に、例えば金属製のベースプレートを介して複数の中空鋼棒を、鉄筋コンクリート製のスラブ等によるコンクリート面から突出させておき、立設させる木製柱を、これの下端面に穿孔形成された複数の鋼棒固着孔に、突出させた中空鋼棒を各々差し込んだ状態で、コンクリート面に建て込んだ後に、中空鋼棒が差し込まれた各々の鋼棒固着孔に、当該中空鋼棒を介して充填固化剤を注入して固化させることによって、木製柱をコンクリート面に立設させた状態で接合することが考えられる。
【0006】
しかしながら、このような、プレキャストコンクリート製の柱の接合部の構造と同様の技術では、木質部材である例えば木製柱に転用しようとすると、木質部材に穿孔形成された複数の鋼棒固着孔の各々に対応させて、複数の中空鋼棒を、コンクリート面の所定の位置から各々精度良く突出させて設けるのに多くの手間を要すると共に、施工現場において、コンクリート面から突出する複数の中空鋼棒を、鋼棒固着孔に各々差し込むようにしながら、木質部材である例えば木製柱をコンクリート面に建て込んで配置する作業にも、多くの手間を要することになる。
【0007】
また特に、木質部材の外周部分に、流動状態の充填固化剤を中空鋼棒に送り込むための注入経路を設けることは、困難であるため、中空鋼棒が差し込まれた鋼棒固着孔に充填固化剤を充填して、鋼棒固着孔に中空鋼棒を一体として固着できるようにするための手段の開発が必要である。
【0008】
本発明は、施工現場において、木質部材をコンクリート面に接合する作業を容易に行えるようにすると共に、鋼棒固着孔の内部に中空鋼棒を、鋼棒固着孔に充填固化剤を充填して安定した状態で一体として容易に固着することのできるGIR工法による木質部材のコンクリート面への接合工法を提供することを目的とする。
【課題を解決するための手段】
【0009】
本発明は、木質部材に穿孔形成された鋼棒固着孔に中空鋼棒を挿入し、挿入した中空鋼棒を介して前記鋼棒固着孔に充填固化剤を充填して固化させることで部材同士を接合する、GIR工法による木質部材のコンクリート面への接合工法であって、前記木質部材の接合端面に、前記中空鋼棒を挿入固着させる複数の鋼棒固着孔を穿孔形成する固着孔穿孔工程と、前記木質部材の前記接合端面よりも一回り大きな平面形状を備える金属製のベースプレートに、前記木質部材の前記接合端面の複数の前記鋼棒固着孔と対応する各々の位置において、複数の前記中空鋼棒を、一端部の端部開口を一方の面に臨ませると共に、他端部の端部開口側を他方の面から立設させた状態で固定する鋼棒固定工程と、前記中空鋼棒を立設させた前記ベースプレートを、各々の前記中空鋼棒を前記鋼棒固着孔に挿入させて前記他方の面を前記木質部材の前記接合端面に密着させた状態で、前記一方の面に臨ませた一端部の前記端部開口から、前記中空鋼棒を介して、複数の前記鋼棒固着孔に前記充填固化剤を各々注入充填して固化させることによって、前記木質部材の前記接合端面に、前記ベースプレートを一体として固定するベースプレート一体化工程と、しかる後に、前記木質部材の前記接合端面に一体として固定された前記ベースプレートを、該ベースプレートにおける前記木質部材の前記接合端面から張り出した部分に設けられた接合手段を介して、被接合面であるコンクリート面に接合することによって、前記木質部材を、コンクリート面に一体として接合させる木質部材接合工程とを含んで構成される木質部材のコンクリート面への接合工法を提供することにより、上記目的を達成したものである。
【0010】
そして、本発明の木質部材のコンクリート面への接合工法は、前記木質部材が、木製柱であり、前記木質部材の前記接合端面が、木製柱の下端面であり、前記コンクリート面が、コンクリートスラブの上面であることが好ましい。
(【0011】以降は省略されています)
この特許をJ-PlatPat(特許庁公式サイト)で参照する
関連特許
株式会社奥村組
破砕装置
22日前
株式会社奥村組
破砕装置
22日前
株式会社奥村組
制振機構
4日前
株式会社奥村組
制振機構
4日前
株式会社奥村組
破砕装置
22日前
株式会社奥村組
運搬方法
4日前
株式会社奥村組
吊り治具
4日前
株式会社奥村組
地山探査方法
1か月前
株式会社奥村組
地山探査装置
1か月前
株式会社奥村組
地山探査装置
1か月前
株式会社奥村組
地山探査装置
1か月前
株式会社奥村組
解体システム
22日前
株式会社奥村組
ケーソン工法
7日前
株式会社奥村組
シールド掘進機
7日前
株式会社奥村組
ケーソン刃口金物
7日前
株式会社奥村組
セグメントの組立方法
25日前
株式会社奥村組
圧入式オープンケーソン
今日
株式会社奥村組
洗浄器具および洗浄方法
今日
株式会社奥村組
バッテリーロコの充電方法
25日前
株式会社奥村組
バッテリーロコの充電機構
25日前
株式会社奥村組
壁下地用胴縁の端部固定構造
今日
株式会社奥村組
鉄筋コンクリート柱の補強工法
1か月前
株式会社奥村組
鉄筋コンクリート柱の補強工法
1か月前
株式会社奥村組
免震用ダンパ装置の連結部構造
4日前
株式会社奥村組
鉄筋コンクリート柱用型枠構造体
1か月前
株式会社奥村組
地山探査装置に用いる地山保持材
1か月前
株式会社奥村組
鉄筋コンクリート柱用型枠構造体
1か月前
国立大学法人 筑波大学
制振機構
4日前
国立大学法人 筑波大学
制振機構
4日前
国立大学法人 筑波大学
制振機構
4日前
株式会社奥村組
先行ビットおよびそれを備える掘削機
1か月前
株式会社奥村組
先行ビットおよびそれを備える掘削機
1か月前
株式会社奥村組
シールド掘進機およびシールド掘進方法
14日前
株式会社奥村組
木質部材のコンクリート面への接合工法
1日前
株式会社奥村組
接合金物を用いた木質構造材の耐火接合構造
4日前
株式会社奥村組
シールドジャッキのスプレッダによる当接部構造
2日前
続きを見る
他の特許を見る