TOP
|
特許
|
意匠
|
商標
特許ウォッチ
Twitter
他の特許を見る
公開番号
2025144155
公報種別
公開特許公報(A)
公開日
2025-10-02
出願番号
2024043798
出願日
2024-03-19
発明の名称
組合せ計量装置
出願人
株式会社イシダ
代理人
フェリシテ弁理士法人
主分類
G01G
19/387 20060101AFI20250925BHJP(測定;試験)
要約
【課題】オーバースケールによる物品の無駄な排出を可及的に低減すること。
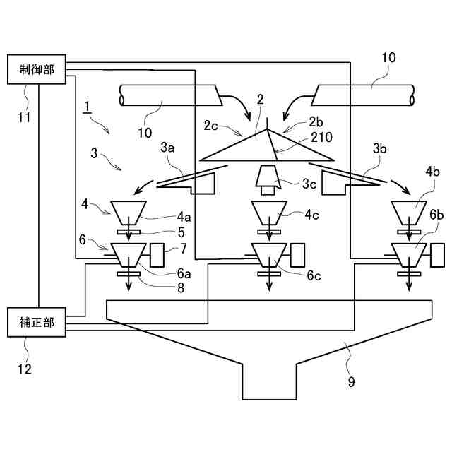
【解決手段】一実施形態に係る組合せ計量装置1は、複数のホッパ6に貯留された物品の重量を組合せて計量目標値に近い重量の物品の組合せを選択して排出する計量装置a~cを有する組合せ計量装置1であって、各計量装置a~cによるそれぞれの組合せ選択を順番に実行させる制御部11と、先に組合せ選択を実行した計量装置によって選択された物品の組合せ重量と選択に用いた計量目標値との偏差を用いて、続いて組合せの選択を実行する計量装置の計量目標値を補正する補正部12とを備える。制御部11は、複数の計量装置a~cの何れかのホッパ6a~6cに、補正部12による補正後の計量目標値と上限値との和を超える重量の物品が貯留されていても、物品の重量が補正部12による補正前の計量目標値と上限値との和を超えない場合、当該ホッパに貯留されている物品を強制排出せずに、次の組合せ選択に利用する。
【選択図】図1
特許請求の範囲
【請求項1】
複数のホッパに貯留された物品の重量を組合せて、計量目標値に近い重量の物品の組合せを選択して排出する計量装置を複数台有する組合せ計量装置であって、
前記各計量装置によるそれぞれの組合せ選択を順番に実行させる制御部と、
先に前記組合せ選択を実行した計量装置によって選択された前記物品の組合せ重量と前記選択に用いた計量目標値との偏差を用いて、続いて前記組合せ選択を実行する計量装置の計量目標値を補正する補正部と、を備え、
前記制御部は、前記複数の計量装置の何れかのホッパに、前記補正部による補正後の計量目標値と上限値との和を超える重量の物品が貯留されていても、前記物品の重量が前記補正部による補正前の計量目標値と上限値との和を超えない場合、当該ホッパに貯留されている物品を強制排出せずに、次の前記組合せ選択に利用する、組合せ計量装置。
続きを表示(約 280 文字)
【請求項2】
前記制御部は、前記補正部による補正後の計量目標値が補正前の計量目標値よりも小さい場合、前記ホッパに貯留されている物品の重量を次の組合せ選択に利用する、請求項1に記載の組合せ計量装置。
【請求項3】
前記制御部は、前記補正部による補正後の計量目標値が補正前の計量目標値よりも大きい場合、前記ホッパに貯留されている物品を強制排出する、請求項1に記載の組合せ計量装置。
【請求項4】
前記物品は、単体重量が大きく、かつ、バラツキがあり、前記各ホッパには、1個乃至3個の物品が供給される、請求項1に記載の組合せ計量装置。
発明の詳細な説明
【技術分野】
【0001】
本発明は、組合せ計量装置に関する。
続きを表示(約 1,100 文字)
【背景技術】
【0002】
従来から、種類の異なる物品をそれぞれ組合せ計量する複数台の計量装置を有する組合せ計量装置が知られている(特許文献1参照)。
【0003】
例えば、組合せ計量装置は、3台の計量装置で種類の異なる商品を組合せ計量してミックス商品を形成する場合、第1の計量装置で組合せ計量された物品の重量とそのときの計量目標値との偏差でもって第2の計量装置の計量目標値を補正して、次の種類の物品を組合せ計量し、第2の計量装置においても、上述の偏差が生ずると、その偏差でもって第3の計量装置の計量目標値を補正するという「順次補正」を行っている。
【0004】
例えば、3種ミックスのパプリカを計量する場合、各計量装置の設定値が、以下のように設定されるケースを想定する。
【0005】
第1計量装置:計量目標値30g、上限値+13g、下限値-20g
第2計量装置:計量目標値30g、上限値+13g、下限値-20g
第3計量装置:計量目標値34g、上限値+15g、下限値無し
かかるケースにおいて、例えば、第1計量装置の組合せ重量が35gであると、第2計量装置の計量目標値は、30g-(35g-30g)=25gに補正され、第2計量装置は、かかる計量目標値25(上限値+13g及び下限値-20gは、そのまま)で組合せ計量する。
【0006】
そして、その時の第2計量装置の組合せ重量が35gである場合には、第3計量装置の計量目標値は、34g-(35g-25g)=24gに補正される。
【0007】
このように、複数の計量装置で組合せ計量を行うときは、第2計量装置及び第3計量装置の計量目標値は、順次補正される。
【0008】
一方、各計量装置は、何れか1台の計量ホッパに貯留される物品の重量が計量目標値+上限値以上になると、当該計量ホッパは、もはや組合せ選択される余地のないオーバースケールになったホッパと判断して、当該計量ホッパに貯留されている物品を強制的に排出するようにしている。
【0009】
そのため、例えば、第3計量装置の計量目標値が24gに補正されたときに、第3計量装置の何れか1台の計量ホッパに貯留される物品の重量が、計量目標値+上限値=24g+15g=39g以上になると、その計量ホッパは、オーバースケールと判断されて、強制的に排出される。
【先行技術文献】
【特許文献】
【0010】
特公平5-6313号公報
【発明の概要】
【発明が解決しようとする課題】
(【0011】以降は省略されています)
この特許をJ-PlatPat(特許庁公式サイト)で参照する
関連特許
株式会社イシダ
計量装置
7日前
株式会社イシダ
X線検査装置
6日前
株式会社イシダ
X線検査装置
6日前
株式会社イシダ
商品処理装置
7日前
株式会社イシダ
X線検査装置
7日前
株式会社イシダ
組合せ計量装置
6日前
株式会社イシダ
電子棚札用の制御システム
6日前
株式会社イシダ
製袋包装機及びフィルムロール交換システム
6日前
株式会社イシダ
検査システム及び検査装置
8日前
株式会社イシダ
自走式フィルムロール交換装置、フィルムロール交換システム、及びフィルムロール交換方法
6日前
個人
メジャー文具
1日前
個人
計量スプーン
29日前
日本精機株式会社
位置検出装置
7日前
日本精機株式会社
位置検出装置
7日前
日本精機株式会社
位置検出装置
7日前
ユニパルス株式会社
ロードセル
今日
大和製衡株式会社
組合せ秤
12日前
大和製衡株式会社
組合せ秤
12日前
アズビル株式会社
圧力センサ
6日前
エイブリック株式会社
磁気センサ回路
6日前
トヨタ自動車株式会社
表示装置
21日前
株式会社東芝
センサ
12日前
株式会社東芝
センサ
12日前
トヨタ自動車株式会社
検査装置
9日前
株式会社チノー
放射光測温装置
今日
株式会社ヨコオ
ソケット
今日
株式会社ユーシン
操作検出装置
9日前
東レエンジニアリング株式会社
計量装置
9日前
TDK株式会社
磁気センサ
29日前
株式会社ナリス化粧品
角層細胞採取用具
19日前
TDK株式会社
ガスセンサ
5日前
個人
粘塑性を用いた有限要素法の定式化
21日前
株式会社東芝
重量測定装置
5日前
TDK株式会社
ガスセンサ
今日
TDK株式会社
ガスセンサ
6日前
三菱マテリアル株式会社
温度センサ
19日前
続きを見る
他の特許を見る