TOP
|
特許
|
意匠
|
商標
特許ウォッチ
Twitter
他の特許を見る
公開番号
2025144154
公報種別
公開特許公報(A)
公開日
2025-10-02
出願番号
2024043797
出願日
2024-03-19
発明の名称
電子棚札用の制御システム
出願人
株式会社イシダ
代理人
フェリシテ弁理士法人
主分類
G07G
1/01 20060101AFI20250925BHJP(チェック装置)
要約
【課題】棚20に陳列された商品21と電子棚札22との紐付け作業において人為的ミスの発生頻度を減らすこと。
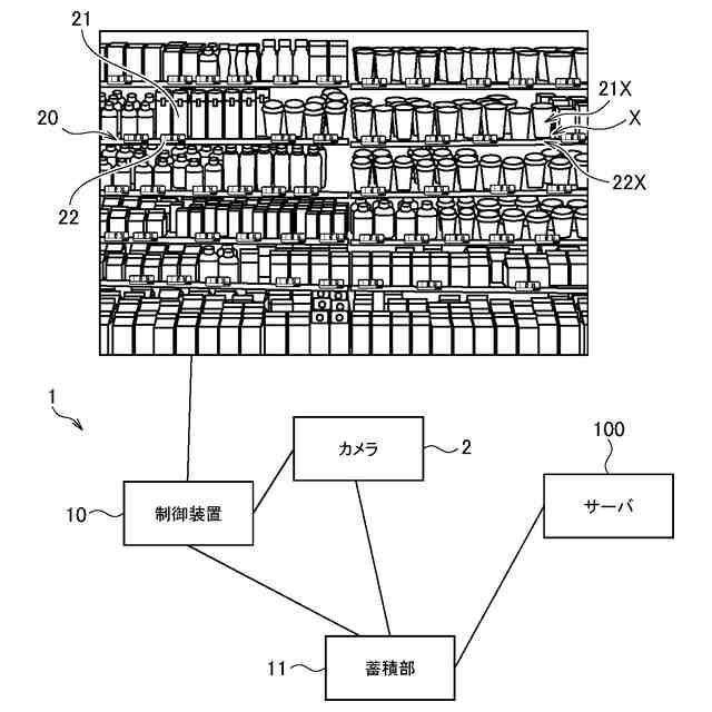
【解決手段】一実施形態に係る電子棚札用の制御システム1は、商品21、棚20及び電子棚札22を撮影するカメラ2と、電子棚札22及びカメラ2を制御する制御装置10と、棚20の指定位置に指定商品が陳列された状態を規定する陳列情報を蓄積する蓄積部11と、を備え、制御装置10は、カメラ2による撮影画像及び陳列情報に基づいて、実際に指定位置に陳列されている商品が指定商品と一致するか否かについて判定し、両者が一致した場合に、指定位置に配置された電子棚札と指定商品とを紐付ける。
【選択図】図1
特許請求の範囲
【請求項1】
棚に陳列された商品毎に配置された電子棚札と共に利用される電子棚札用の制御システム(1)であって、
前記商品、前記棚及び前記電子棚札を撮影するカメラ(2)と、
前記電子棚札及び前記カメラを制御する制御装置(10)と、
棚の指定位置に指定商品が陳列された状態を規定する陳列情報を蓄積する蓄積部(11)と、を備え、
前記制御装置は、前記カメラによる撮影画像及び前記陳列情報に基づいて、実際に前記指定位置に陳列されている商品が前記指定商品と一致するか否かについて判定し、両者が一致した場合に、前記指定位置に配置された電子棚札と前記指定商品とを紐付ける、電子棚札用の制御システム。
続きを表示(約 390 文字)
【請求項2】
前記制御装置は、前記電子棚札の表示部又は前記電子棚札のフレームに表示された二次元コード又はバーコードに基づいて前記電子棚札を特定し、特定した前記電子棚札を前記指定商品と紐付ける電子棚札として決定する、請求項1に記載の電子棚札用の制御システム。
【請求項3】
前記制御装置は、実際に前記指定位置に陳列されている商品が前記指定商品と一致しない場合、所定の通知を行う、請求項1に記載の電子棚札用の制御システム。
【請求項4】
前記制御装置は、前記撮影画像に対応付けられた位置情報に基づき、前記陳列情報のうち前記位置情報に対応する一部の陳列情報を特定し、特定した前記一部の陳列情報及び前記撮影画像に基づき、実際に前記指定位置に陳列されている商品が前記指定商品と一致するか否かについて判定する請求項1に記載の電子棚札用の制御システム。
発明の詳細な説明
【技術分野】
【0001】
本発明は、電子棚札用の制御システムに関する。
続きを表示(約 1,400 文字)
【背景技術】
【0002】
従来から、棚全体に表示面を展開することで、棚の自由な位置に棚札イメージを表示することができる電子棚札が知られている。かかる電子棚札では、ユーザが、PDA端末を用いて、棚に陳列された商品と電子棚札との紐付けを行っていた。
【先行技術文献】
【特許文献】
【0003】
特開2014‐123339号公報
【発明の概要】
【発明が解決しようとする課題】
【0004】
しかしながら、従来の電子棚札では、ユーザが手動で棚に陳列された商品と電子棚札との紐付けを行う必要があるため、人為的ミスが発生してしまうという問題点があった。
【0005】
そこで、本発明は、上記課題に鑑みてなされたものであり、棚に陳列された商品と電子棚札との紐付け作業において人為的ミスの発生頻度を減らすことができる電子棚札用の制御システムを提供することを目的とする。
【課題を解決するための手段】
【0006】
一実施形態に係る電子棚札用の制御システムは、棚に陳列された商品毎に配置された電子棚札と共に利用される電子棚札用の制御システムであって、前記商品、前記棚及び前記電子棚札を撮影するカメラと、前記電子棚札及び前記カメラを制御する制御装置と、棚の指定位置に指定商品が陳列された状態を規定する陳列情報を蓄積する蓄積部と、を備え、前記制御装置は、前記カメラによる撮影画像及び前記陳列情報に基づいて、実際に前記指定位置に陳列されている商品が前記指定商品と一致するか否かについて判定し、両者が一致した場合に、前記指定位置に配置された電子棚札と前記指定商品とを紐付けることを要旨とする。
【発明の効果】
【0007】
本発明によれば、棚に陳列された商品と電子棚札との紐付け作業において人為的ミスの発生頻度を減らすことができる電子棚札用の制御システムを提供できる。
【図面の簡単な説明】
【0008】
図1は、一実施形態に係る電子棚札用の制御システム1の全体構成の一例を説明する図である。
図2は、一実施形態に係る電子棚札用の制御システム1で用いられる電子棚札22の一例を示す図である。
【発明を実施するための形態】
【0009】
以下に添付図面を参照しながら、本発明の好適な実施形態について詳細に説明する。なお、以下の図面の記載において、同一又は類似の部分には、同一又は類似の符号を付している。ただし、図面は模式的なものであり、各寸法の比率等は現実のものとは異なることに留意すべきである。したがって、具体的な寸法等は、以下の説明を参酌して判断すべきである。また、図面相互間においても互いの寸法の関係や比率が異なる部分が含まれ得る。本明細書及び図面において、実質的に同一の機能、構成を有する要素については、同一の符号を付することにより重複説明を省略し、また本発明に直接関係のない要素は図示を省略する。
【0010】
(第1実施形態)
以下、図1~図2を参照して、本発明の第1実施形態に係る電子棚札用の制御システム1について説明する。図1は、本実施形態に係る電子棚札用の制御システム1の全体構成の一例を説明する図であり、図2は、本実施形態に係る電子棚札用の制御システム1で用いられる電子棚札22の一例を示す図である。
(【0011】以降は省略されています)
この特許をJ-PlatPat(特許庁公式サイト)で参照する
関連特許
株式会社イシダ
計量装置
4日前
株式会社イシダ
箱詰装置
1か月前
株式会社イシダ
検査装置
1か月前
株式会社イシダ
製袋包装機
6日前
株式会社イシダ
X線検査装置
3日前
株式会社イシダ
X線検査装置
1か月前
株式会社イシダ
商品処理装置
1か月前
株式会社イシダ
商品処理装置
4日前
株式会社イシダ
X線検査装置
4日前
株式会社イシダ
X線検査装置
3日前
株式会社イシダ
X線検査装置
24日前
株式会社イシダ
組合せ計量装置
3日前
株式会社イシダ
ラベル発行装置
1か月前
株式会社イシダ
組合せ計量装置
6日前
株式会社イシダ
商品処理システム
1か月前
株式会社イシダ
電子棚札用の制御システム
3日前
株式会社イシダ
製袋包装機及びフィルムロール交換システム
3日前
株式会社イシダ
検査システム及び検査装置
5日前
株式会社イシダ
自走式フィルムロール交換装置、フィルムロール交換システム、及びフィルムロール交換方法
3日前
株式会社イシダ
商品処理装置
4日前
株式会社バンダイ
物品供給装置
2か月前
株式会社バンダイ
物品供給装置
2か月前
株式会社バンダイ
物品供給装置
2か月前
株式会社バンダイ
物品供給装置
3か月前
株式会社バンダイ
物品供給装置
3か月前
株式会社バンダイ
物品供給装置
3か月前
株式会社バンダイ
物品供給装置
2か月前
富士電機株式会社
通貨識別装置
2か月前
沖電気工業株式会社
紙幣処理装置
1か月前
沖電気工業株式会社
媒体処理装置
1か月前
沖電気工業株式会社
媒体処理装置
1か月前
沖電気工業株式会社
媒体処理装置
1か月前
株式会社ライト
情報処理装置
1か月前
富士電機株式会社
自動販売機
1か月前
株式会社ライト
情報処理装置
1か月前
株式会社ライト
情報処理装置
2か月前
続きを見る
他の特許を見る