TOP
|
特許
|
意匠
|
商標
特許ウォッチ
Twitter
他の特許を見る
公開番号
2025144247
公報種別
公開特許公報(A)
公開日
2025-10-02
出願番号
2024043934
出願日
2024-03-19
発明の名称
スプリンクラ消火設備
出願人
能美防災株式会社
代理人
彩雲弁理士法人
主分類
A62C
37/11 20060101AFI20250925BHJP(人命救助;消防)
要約
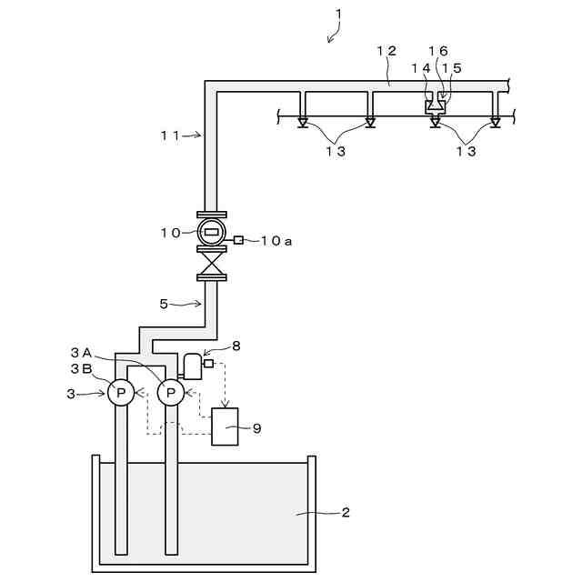
【課題】火災が拡大した際に、より多い流量の放水が可能なスプリンクラ消火設備を提供する。
【解決手段】スプリンクラ消火設備(1)であって、閉鎖型ヘッド(13)と、前記閉鎖型ヘッド(13)よりも多い流量の放水を行う開放型ヘッド(14)と、前記開放型ヘッド(14)の流出口と前記閉鎖型ヘッド(13)の流入口を連通させつつ、前記開放型ヘッド(14)と前記閉鎖型ヘッド(13)を連結するヘッド連結部(15)と、を備えることを特徴とする。
【選択図】図1
特許請求の範囲
【請求項1】
閉鎖型ヘッドと、前記閉鎖型ヘッドよりも多い流量の放水を行う開放型ヘッドと、前記開放型ヘッドの流出口と前記閉鎖型ヘッドの流入口を連通させつつ、前記開放型ヘッドと前記閉鎖型ヘッドを連結するヘッド連結部と、を備えることを特徴とするスプリンクラ消火設備。
続きを表示(約 450 文字)
【請求項2】
前記ヘッド連結部は、所定温度以上に加熱されると、設置位置から落下することを特徴とする請求項1に記載のスプリンクラ消火設備。
【請求項3】
火災発生時、その初期段階では、前記閉鎖型ヘッドが放水を行う一方、前記ヘッド連結部が落下するまで火災が拡大した段階では、前記開放型ヘッドが放水を行うことを特徴とする請求項2に記載のスプリンクラ消火設備。
【請求項4】
前記スプリンクラ消火設備は、前記閉鎖型ヘッドと前記開放型ヘッドに消火水を供給する加圧送水装置をさらに備え、
前記加圧送水装置は、開放型ヘッドが放水を行う際には、前記閉鎖型ヘッドが放水を行う際よりも多い流量で消火水を前記開放型ヘッドに供給することを特徴とする請求項3に記載のスプリンクラ消火設備。
【請求項5】
前記ヘッド連結部材は、所定温度以上に加熱されると、変形する材料により形成されることを特徴とする請求項1乃至4のいずれか1項に記載のスプリンクラ消火設備。
発明の詳細な説明
【技術分野】
【0001】
この発明は、スプリンクラ消火設備に関する。
続きを表示(約 1,300 文字)
【背景技術】
【0002】
スプリンクラ消火設備は、火災発生時、防火対象物の天井等に設けられるスプリンクラヘッドから自動的に放水して消火を行うものであり、主に火災の初期消火を目的として設けられる(例えば、非特許文献1参照)。
【先行技術文献】
【非特許文献】
【0003】
WEBカタログ ”スプリンクラー設備”,能美防災株式会社,[online],[令和6年3月19日検索],インターネット<URL:https://www.nohmi.co.jp/webcatalog_004/sp_de_2907/html5.html#page=1>
【発明の概要】
【発明が解決しようとする課題】
【0004】
この種の消火設備において、スプリンクラヘッドは、一般的には、放水量が80L/min(放水圧は0.1MPa)程度のものが用いられる。
【0005】
しかしながら、火災が拡大した場合、一般的なスプリンクラヘッドでは放水量が足りなくなり、消火が困難になることがあり得る。
【0006】
この発明は、前記の事情に鑑み、火災が拡大した際に、より多い流量の放水が可能なスプリンクラ消火設備を提供することを目的とする。
【課題を解決するための手段】
【0007】
この発明は、閉鎖型ヘッドと、前記閉鎖型ヘッドよりも多い流量の放水を行う開放型ヘッドと、前記開放型ヘッドの流出口と前記閉鎖型ヘッドの流入口を連通させつつ、前記開放型ヘッドと前記閉鎖型ヘッドを連結するヘッド連結部と、を備えることを特徴とするスプリンクラ消火設備、である。
【0008】
この発明において、前記ヘッド連結部は、所定温度以上に加熱されると、設置位置から落下するものとすることができる。また、前記ヘッド連結部は、所定温度以上に加熱されると、変形する材料により形成されるものとすることができる。また、前記ヘッド連結部は、所定温度以上に加熱されると、変形する合成樹脂材料によって形成されるものとすることができる。また、前記スプリンクラ消火設備は、火災発生時、その初期段階では、閉鎖型ヘッドが放水を行う一方、前記連結部材が落下するまで火災が拡大した段階では、前記開放型ヘッドが放水を行うものとすることができる。また、前記スプリンクラ消火設備は、前記閉鎖型ヘッドと前記開放型ヘッドに消火水を供給する加圧送水装置をさらに備え、前記加圧送水装置は、前記開放型ヘッドが放水を行う際には、前記閉鎖型ヘッドが放水を行う際よりも多い流量で消火水を前記開放型ヘッドに供給するものとすることができる。
【発明の効果】
【0009】
この発明においては、火災発生時、その熱気流や炎によって、ヘッド連結部が設置位置から落下するまで火災が拡大すれば、開放型ヘッドが放水を行うことになる。すなわち、閉鎖型ヘッドよりも多い流量で放水が行われることになる。
【0010】
したがって、この発明によれば、火災が拡大した際に、より多い流量の放水が可能なスプリンクラ消火設備を提供することができる。
【図面の簡単な説明】
(【0011】以降は省略されています)
この特許をJ-PlatPat(特許庁公式サイト)で参照する
関連特許
能美防災株式会社
表示灯
1か月前
能美防災株式会社
消火設備
11日前
能美防災株式会社
システム
2日前
能美防災株式会社
照射装置
4日前
能美防災株式会社
火災受信機
3日前
能美防災株式会社
火災受信機
5日前
能美防災株式会社
火災受信機
3日前
能美防災株式会社
携帯型電灯
9日前
能美防災株式会社
火災感知器
1か月前
能美防災株式会社
火災受信機
1か月前
能美防災株式会社
感知器ベース
13日前
能美防災株式会社
避難システム
1か月前
能美防災株式会社
防災システム
11日前
能美防災株式会社
車両システム
4日前
能美防災株式会社
車両システム
4日前
能美防災株式会社
感知システム
4日前
能美防災株式会社
感知システム
4日前
能美防災株式会社
非常伝達装置
1か月前
能美防災株式会社
防災システム
1か月前
能美防災株式会社
水噴霧ヘッド
9日前
能美防災株式会社
避難システム
1か月前
能美防災株式会社
延焼防止システム
1か月前
能美防災株式会社
防災管理システム
1か月前
能美防災株式会社
火災監視システム
1か月前
能美防災株式会社
画像表示システム
5日前
能美防災株式会社
災害通報システム
1か月前
能美防災株式会社
火災監視システム
1か月前
能美防災株式会社
異常検出システム
4日前
能美防災株式会社
深部火災検知装置
3日前
能美防災株式会社
着脱式避難誘導灯
3日前
能美防災株式会社
ガス警報器用の試験器
1か月前
能美防災株式会社
スプリンクラ消火設備
10日前
能美防災株式会社
中継器の配線接続構造
25日前
能美防災株式会社
防災機器及び消火栓装置
3日前
能美防災株式会社
エアーコンディショナー
4日前
能美防災株式会社
煙感知器用の加煙試験器
1か月前
続きを見る
他の特許を見る