TOP
|
特許
|
意匠
|
商標
特許ウォッチ
Twitter
他の特許を見る
公開番号
2025149338
公報種別
公開特許公報(A)
公開日
2025-10-08
出願番号
2024049921
出願日
2024-03-26
発明の名称
異常検出システム
出願人
能美防災株式会社
代理人
弁理士法人朝日特許事務所
主分類
H04W
84/20 20090101AFI20251001BHJP(電気通信技術)
要約
【課題】無線で通信を行う2以上の異常検出装置を備える異常検出システムにおける通信の信頼性を向上する手段を提供する。
【解決手段】本発明の一態様に係る異常検出システムは、異常を検出する2以上の異常検出装置を備え、いずれかの異常検出装置が異常を検出した場合、親器に設定された異常検出装置が当該異常の検出を示す異常検出通知を無線で送信し、子器に設定された1以上の異常検出装置の各々が前記異常検出通知を受信する異常検出システムであって、判定対象の異常検出装置と判定対象の異常検出装置以外の1以上の異常検出装置の各々との間で送受信される電波の状態を特定し、当該電波の状態に基づいて判定対象の異常検出装置が親器として適格か不適格かを判定し、判定対象の異常検出装置が親器として適格と判定した場合、判定対象の異常検出装置を親器とする。
【選択図】図1
特許請求の範囲
【請求項1】
異常を検出する2以上の異常検出装置を備え、いずれかの異常検出装置が異常を検出した場合、親器に設定された異常検出装置が当該異常の検出を示す異常検出通知を無線で送信し、子器に設定された1以上の異常検出装置の各々が前記異常検出通知を受信する異常検出システムであって、
判定対象の異常検出装置と前記判定対象の異常検出装置以外の1以上の異常検出装置の各々との間で送受信される電波の状態を特定し、当該電波の状態に基づいて前記判定対象の異常検出装置が親器として適格か不適格かを判定し、前記判定対象の異常検出装置が親器として適格と判定した場合、前記判定対象の異常検出装置を親器とする
異常検出システム。
続きを表示(約 1,400 文字)
【請求項2】
前記判定対象の異常検出装置以外の一の異常検出装置と当該異常検出装置以外の1以上の異常検出装置の各々との間で送受信される電波の状態を特定し、
前記判定対象の異常検出装置が親器として不適格と判定した場合、前記一の異常検出装置を新たな判定対象の異常検出装置として、前記判定対象の異常検出装置が親器として適格か不適格かの判定を行う
請求項1に記載の異常検出システム。
【請求項3】
前記判定対象の異常検出装置は、自装置以外の1以上の異常検出装置の各々から送信された情報を受信したときの電波の状態を特定し、当該電波の状態に基づいて自装置が親器として適格か不適格かを判定する
請求項1に記載の異常検出システム。
【請求項4】
前記判定対象の異常検出装置以外の1以上の異常検出装置の各々は、前記判定対象の異常検出装置から送信された情報を受信したときの電波の状態を特定し、特定した電波の状態を示す電波状態情報を送信し、
前記判定対象の異常検出装置は、自装置以外の1以上の異常検出装置の各々から受信した前記電波状態情報が示す電波の状態に基づいて、自装置が親器として適格か不適格かを判定する
請求項1に記載の異常検出システム。
【請求項5】
第1グループに属する異常を検出する2以上の異常検出装置と、第2グループに属する異常を検出する2以上の異常検出装置とを備え、前記第1グループの異常検出装置が異常を検出した場合、前記第1グループの中継器に設定された異常検出装置が当該異常の検出を示す異常検出通知を無線で送信し、前記第2グループの中継器に設定された異常検出装置が前記異常検出通知を受信する異常検出システムであって、
前記第1グループの判定対象の異常検出装置と前記第2グループの通信相手の異常検出装置との間で送受信される電波の状態を特定し、当該電波の状態に基づいて前記判定対象の異常検出装置が中継器として適格か不適格かを判定し、前記判定対象の異常検出装置が中継器として適格と判定した場合、前記判定対象の異常検出装置を中継器とする
異常検出システム。
【請求項6】
前記第1グループに属する前記判定対象の異常検出装置以外の一の異常検出装置と前記第2グループに属する前記通信相手の異常検出装置との間で送受信される電波の状態を特定し、
前記判定対象の異常検出装置が中継器として不適格と判定した場合、前記一の異常検出装置を新たな判定対象の異常検出装置として、前記判定対象の異常検出装置が中継器として適格か不適格かの判定を行う
請求項5に記載の異常検出システム。
【請求項7】
前記判定対象の異常検出装置は、前記通信相手の異常検出装置から送信された情報を受信したときの電波の状態を特定し、当該電波の状態に基づいて自装置が中継器として適格か不適格かを判定する
請求項5に記載の異常検出システム。
【請求項8】
前記通信相手の異常検出装置は、前記判定対象の異常検出装置から送信された情報を受信したときの電波の状態を特定し、特定した電波の状態を示す電波状態情報を送信し、
前記判定対象の異常検出装置は、前記通信相手の異常検出装置から受信した前記電波状態情報が示す電波の状態に基づいて、自装置が中継器として適格か不適格かを判定する
請求項5に記載の異常検出システム。
発明の詳細な説明
【技術分野】
【0001】
本発明は、異常検出システムに関する。
続きを表示(約 1,800 文字)
【背景技術】
【0002】
異常を検出する2以上の異常検出装置を備える異常検出システムにおいて、それらの異常検出装置間の通信の信頼性を向上させる技術が知られている。例えば、特許文献1には、警報システムにおいて警報器間の電波環境を定期的に監視し、その時々の電波環境に最適な通信ルートと送信電力を自動的に設定して通信障害を未然に防止する技術が記載されている。
【先行技術文献】
【特許文献】
【0003】
特開2014-178937号公報
【発明の概要】
【発明が解決しようとする課題】
【0004】
2以上の異常検出装置を備える異常検出システムのあるものは、それらの異常検出装置が連携動作するために、スター型トポロジーの無線通信ネットワークを採用している。スター型トポロジーの無線通信ネットワークを採用している異常検出システムにおいては、2以上の異常検出装置のうちの1つが親器となり、親器以外の異常検出装置が子器となり、親器が子器の各々と無線で通信を行うことによって、異常検出装置間の連携動作が実現される。
【0005】
なお、異常検出装置間の連携動作の典型例としては、いずれかの異常検出装置が異常を検出した場合、全ての異常検出装置が鳴動等により周囲の人等に異常の通知(以下、「発報」という)を行うことが挙げられるが、これに限られない。
【0006】
また、異常検出システムにより監視されるエリアが広範に渡る場合、そのエリアを複数のサブエリアに区分し、各サブエリアにグループ化された2以上の異常検出装置を設置して、サブエリア毎に異常を検出することが行われている。そして、異なるサブエリアに設置された異常検出装置間の連携動作を行うために、各グループに中継器が設けられ、中継器を介して異なるグループに属する異常検出装置間の通信が行われる場合がある。
【0007】
上述した親器は子器と無線で通信を行う必要がある。また、上述した中継器は他のグループの中継器と無線で通信を行う必要がある。無線による通信の品質は、障害物や電波干渉等の影響を受ける。従って、親器又は中継器の設置場所が適当でなければ、異常検出装置間の必要な通信が行われず、異常検出システムが正しく動作しない場合がある。
【0008】
上述した事情に鑑み、本発明は、無線で通信を行う2以上の異常検出装置を備える異常検出システムにおける通信の信頼性を向上する手段を提供する。
【課題を解決するための手段】
【0009】
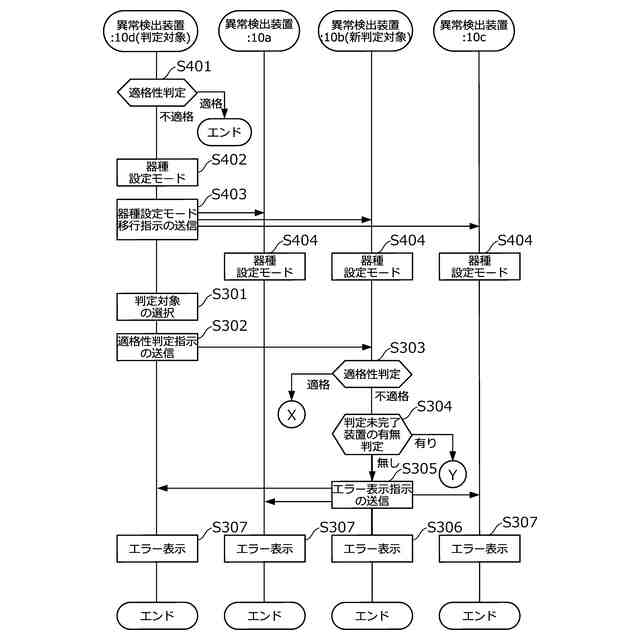
本発明の一態様は、異常を検出する2以上の異常検出装置を備え、いずれかの異常検出装置が異常を検出した場合、親器に設定された異常検出装置が当該異常の検出を示す異常検出通知を無線で送信し、子器に設定された1以上の異常検出装置の各々が前記異常検出通知を受信する異常検出システムであって、判定対象の異常検出装置と前記判定対象の異常検出装置以外の1以上の異常検出装置の各々との間で送受信される電波の状態を特定し、当該電波の状態に基づいて前記判定対象の異常検出装置が親器として適格か不適格かを判定し、前記判定対象の異常検出装置が親器として適格と判定した場合、前記判定対象の異常検出装置を親器とする異常検出システムである。
【0010】
本発明の別の一態様は、第1グループに属する異常を検出する2以上の異常検出装置と、第2グループに属する異常を検出する2以上の異常検出装置とを備え、前記第1グループの異常検出装置が異常を検出した場合、前記第1グループの中継器に設定された異常検出装置が当該異常の検出を示す異常検出通知を無線で送信し、前記第2グループの中継器に設定された異常検出装置が前記異常検出通知を受信する異常検出システムであって、前記第1グループの判定対象の異常検出装置と前記第2グループの通信相手の異常検出装置との間で送受信される電波の状態を特定し、当該電波の状態に基づいて前記判定対象の異常検出装置が中継器として適格か不適格かを判定し、前記判定対象の異常検出装置が中継器として適格と判定した場合、前記判定対象の異常検出装置を中継器とする異常検出システムである。
【発明の効果】
(【0011】以降は省略されています)
この特許をJ-PlatPat(特許庁公式サイト)で参照する
関連特許
能美防災株式会社
システム
3日前
能美防災株式会社
消火設備
12日前
能美防災株式会社
照射装置
5日前
能美防災株式会社
携帯型電灯
10日前
能美防災株式会社
火災受信機
4日前
能美防災株式会社
火災受信機
4日前
能美防災株式会社
火災受信機
6日前
能美防災株式会社
車両システム
5日前
能美防災株式会社
車両システム
5日前
能美防災株式会社
防災システム
1か月前
能美防災株式会社
水噴霧ヘッド
10日前
能美防災株式会社
感知器ベース
14日前
能美防災株式会社
防災システム
12日前
能美防災株式会社
感知システム
5日前
能美防災株式会社
感知システム
5日前
能美防災株式会社
画像表示システム
6日前
能美防災株式会社
着脱式避難誘導灯
4日前
能美防災株式会社
異常検出システム
5日前
能美防災株式会社
深部火災検知装置
4日前
能美防災株式会社
中継器の配線接続構造
26日前
能美防災株式会社
スプリンクラ消火設備
11日前
能美防災株式会社
エアーコンディショナー
5日前
能美防災株式会社
防災機器及び消火栓装置
4日前
能美防災株式会社
塵芥車の火災検知システム
12日前
能美防災株式会社
信号検出装置および警報器
5日前
能美防災株式会社
中継器および通信テスト方法
4日前
能美防災株式会社
防災設備の製造管理システム
12日前
能美防災株式会社
熱感知器及び熱感知システム
4日前
能美防災株式会社
避難シミュレーションシステム
12日前
能美防災株式会社
火災感知器及び火災報知システム
3日前
能美防災株式会社
スプリンクラヘッドの散水反射板
10日前
能美防災株式会社
電子タグ及び位置情報通信システム
4日前
能美防災株式会社
スプリンクラヘッド用シーリング部材
10日前
能美防災株式会社
煙感知器の作動試験方法、作動試験器
4日前
能美防災株式会社
消火栓及びそれに用いる消火用ホース
1か月前
能美防災株式会社
異常検知システム、管理装置及び中継装置
4日前
続きを見る
他の特許を見る