TOP
|
特許
|
意匠
|
商標
特許ウォッチ
Twitter
他の特許を見る
公開番号
2025144320
公報種別
公開特許公報(A)
公開日
2025-10-02
出願番号
2024044044
出願日
2024-03-19
発明の名称
液体を吐出する装置
出願人
株式会社リコー
代理人
個人
主分類
B41J
2/165 20060101AFI20250925BHJP(印刷;線画機;タイプライター;スタンプ)
要約
【課題】圧力室内の液体の温度上昇に与える影響が電気機械変換素子の発熱よりも駆動回路の発熱の方が大きい場合でも、各ノズルに対応する圧力室間の液体の温度差を小さくする。
【解決手段】複数のノズルにそれぞれ連通する複数の圧力室内の圧力を変化させる各電気機械変換素子5A~5Eに駆動回路101から駆動信号を印加することにより、共通流路から流入する複数の圧力室内の液体を複数のノズルから被吐出媒体に吐出する液体吐出ヘッドを備えた液体を吐出する装置であって、駆動回路からの離間距離の大きい遠距離圧力室4E内の液体流動量よりも、駆動回路からの離間距離の小さい近距離圧力室4A内の液体流動量の方が多くなるように、複数の圧力室の液体流動量制御を行う制御部を有する。
【選択図】図4
特許請求の範囲
【請求項1】
複数のノズルにそれぞれ連通する複数の圧力室内の圧力を変化させる各電気機械変換素子に駆動回路から駆動信号を印加することにより、共通流路から流入する前記複数の圧力室内の液体を前記複数のノズルから被吐出媒体に吐出する液体吐出ヘッドを備えた液体を吐出する装置であって、
前記駆動回路からの離間距離の大きい遠距離圧力室内の液体流動量よりも、該駆動回路からの離間距離の小さい近距離圧力室内の液体流動量の方が多くなるように、前記複数の圧力室の液体流動量制御を行う制御部を有することを特徴とする液体を吐出する装置。
続きを表示(約 1,100 文字)
【請求項2】
請求項1に記載の液体を吐出する装置において、
前記液体流動量制御は、前記複数の圧力室内の液体を前記複数のノズルから空吐出する所定の空吐出時間内の空吐出量が、前記遠距離圧力室よりも前記近距離圧力室の方が多くなるように、前記駆動信号を制御することを含むことを特徴とする液体を吐出する装置。
【請求項3】
請求項1に記載の液体を吐出する装置において、
前記液体流動量制御は、前記複数の圧力室内の液体が前記複数のノズルから排出されずに流動する微駆動時の液体流動量が、前記遠距離圧力室よりも前記近距離圧力室の方が多くなるように、前記駆動信号を制御することを含むことを特徴とする液体を吐出する装置。
【請求項4】
請求項1乃至3のいずれか1項に記載の液体を吐出する装置において、
前記液体流動量制御は、前記被吐出媒体に液体を吐出する際の液体吐出量が、前記遠距離圧力室よりも前記近距離圧力室の方が多くなるように、前記駆動信号を制御することを含むことを特徴とする液体を吐出する装置。
【請求項5】
請求項1乃至3のいずれか1項に記載の液体を吐出する装置において、
前記駆動回路は、前記電気機械変換素子が形成されるアクチュエータ基板に形成されていることを特徴とする液体を吐出する装置。
【請求項6】
請求項1乃至3のいずれか1項に記載の液体を吐出する装置において、
前記電気機械変換素子は、窒化アルミニウム又は窒化アルミニウムスカンジウムを主成分とする圧電体素子であることを特徴とする液体を吐出する装置。
【請求項7】
請求項1乃至3のいずれか1項に記載の液体を吐出する装置において、
前記電気機械変換素子は、前記圧力室のノズル形成壁に設けられていることを特徴とする液体を吐出する装置。
【請求項8】
請求項1乃至3のいずれか1項に記載の液体を吐出する装置において、
前記電気機械変換素子は、前記圧力室のノズル形成壁以外の壁部に設けられていることを特徴とする液体を吐出する装置。
【請求項9】
請求項1乃至3のいずれか1項に記載の液体を吐出する装置において、
前記共通流路内の液体を循環させる共通流路循環手段を有することを特徴とする液体を吐出する装置。
【請求項10】
請求項1乃至3のいずれか1項に記載の液体を吐出する装置において、
前記複数の圧力室内の液体を循環させる圧力室循環手段を有することを特徴とする液体を吐出する装置。
(【請求項11】以降は省略されています)
発明の詳細な説明
【技術分野】
【0001】
本発明は、液体を吐出する装置に関するものである。
続きを表示(約 2,700 文字)
【0002】
従来、複数のノズルにそれぞれ連通する複数の圧力室内の圧力を変化させる各電気機械変換素子に駆動回路から駆動信号を印加することにより、共通流路から流入する複数の圧力室内の液体を複数のノズルから被吐出媒体に吐出する液体吐出ヘッドを備えた液体を吐出する装置が知られている。
【0003】
特許文献1には、ノズルが形成される圧力室のノズル形成壁に対向する側に設けられる振動板上の圧電素子に駆動信号を印加して圧力室を加圧することにより、圧力室内の液体をノズルから吐出する液滴吐出装置が開示されている。この液滴吐出装置において、ノズル列の端部に配置される端部ノズルの圧力室内の液体は、外部を流れる空気に冷却されて温度低下しやすい一方で、ノズル列の中央部に配置される中央部ノズルの圧力室内の液体は温度低下しにくい。特許文献1の液滴吐出装置では、各ノズルに対応する圧力室間の液体の温度差を少なくするため、予備吐出(空吐出)工程において、端部ノズルから吐出する液体吐出量を中央部ノズルよりも多くする。これにより、予備吐出時における圧電素子の発熱によって、端部ノズルの圧力室内の液体が中央部ノズルよりも温度上昇し、各ノズルに対応する圧力室間の液体の温度差が少なくなる。
【発明の概要】
【発明が解決しようとする課題】
【0004】
ところが、従来の方法では、各ノズルに対応する圧力室間の液体の温度差を小さくすることができない場合がある。
【課題を解決するための手段】
【0005】
上記課題を解決するために、本発明は、複数のノズルにそれぞれ連通する複数の圧力室内の圧力を変化させる各電気機械変換素子に駆動回路から駆動信号を印加することにより、共通流路から流入する前記複数の圧力室内の液体を前記複数のノズルから被吐出媒体に吐出する液体吐出ヘッドを備えた液体を吐出する装置であって、前記駆動回路からの離間距離の大きい遠距離圧力室内の液体流動量よりも、該駆動回路からの離間距離の小さい近距離圧力室内の液体流動量の方が多くなるように、前記複数の圧力室の液体流動量制御を行う制御部を有することを特徴とするものである。
【発明の効果】
【0006】
本発明によれば、圧力室内の液体の温度上昇に与える影響が電気機械変換素子の発熱よりも駆動回路の発熱の方が大きい場合でも、各ノズルに対応する圧力室間の液体の温度差を小さくすることができる。
【図面の簡単な説明】
【0007】
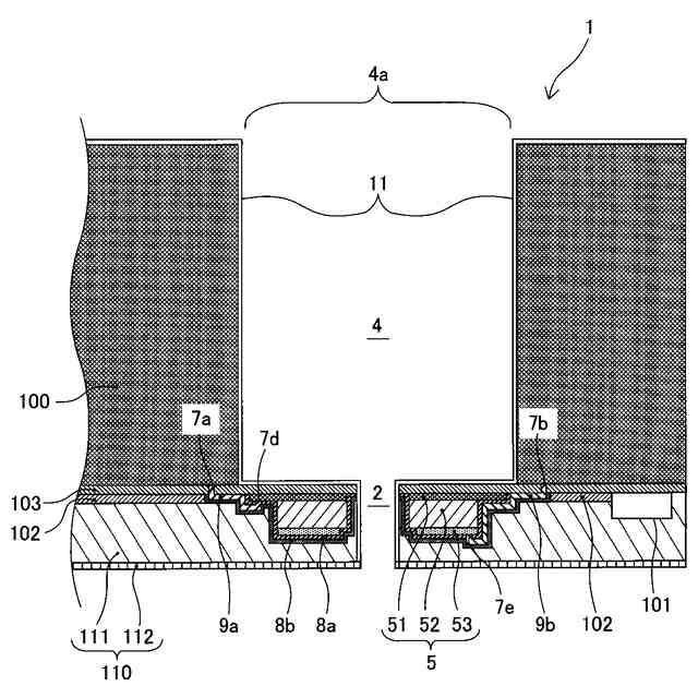
実施形態におけるノズル板振動方式の液体吐出ヘッドを模式的に示す断面図。
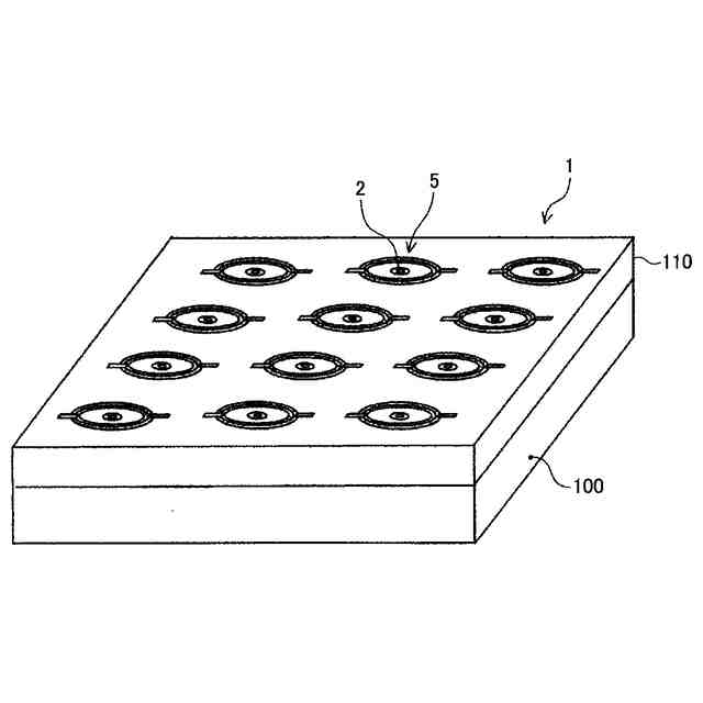
同液体吐出ヘッドのノズル面を模式的に示す斜視図。
図1中の符号Xで示す破線で囲った部分の拡大断面図。
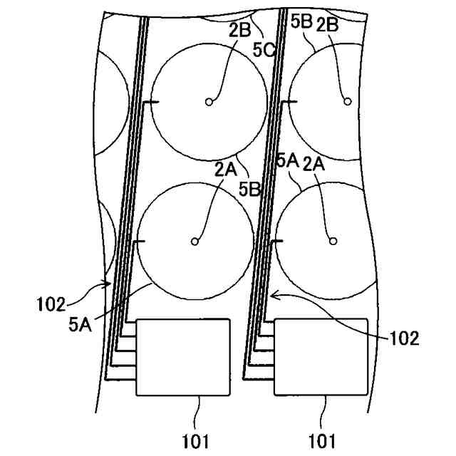
同液体吐出ヘッドの駆動回路と圧電体素子とを接続する配線部を示す説明図。
同液体吐出ヘッドの駆動回路と圧電体素子とを接続する配線部を示す拡大説明図。
同液体吐出ヘッドを搭載するインクジェット記録装置の制御系のハードウェア構成を示すブロック図。
同液体吐出ヘッドのヘッド駆動部のハードウェア構成を示すブロック図。
同液体吐出ヘッドを構成する圧力室基板及びノズル板の断面の一例を示す説明図。
(a)~(d)は、動作例1における空吐出動作を行う構成の例をそれぞれ説明する説明図。
(a)は、動作例1における温度センサの配置の一例を示す説明図。(b)は、駆動回路に設置される温度センサの検知結果の例を示すグラフ。
動作例1における温度センサの配置の他の例を示す説明図。
動作例1における温度センサの配置の更に他の例を示す説明図。
共通流路に液体を供給する液体供給口がノズル列の一端側で共通流路に接続されている例を示す説明図。
共通流路循環構成の一例を示す説明図。
圧力室循環構成の一例を示す説明図。
圧電体素子が圧力室のノズル形成壁に対向する側に設けられる振動板上に配置された構成の一例を示す説明図。
実施形態における印刷装置の概略説明図。
同印刷装置のヘッドユニットの一例の平面説明図。
他の印刷装置の要部平面説明図。
本例の印刷装置の要部側面説明図。
本例の液体吐出ユニットの要部平面説明図。
本例の液体吐出ユニットの正面説明図。
【発明を実施するための形態】
【0008】
以下、本発明を、液体を吐出する装置であるインクジェット記録装置に適用した一実施形態について説明する。
なお、本発明は、以下に示す実施形態に限定されるものではなく、他の実施形態、追加、修正、削除など、当業者が想到することができる範囲内で変更することができ、いずれの態様においても本発明の作用・効果を奏する限り、本発明の範囲に含まれるものである。
【0009】
本実施形態における液体吐出ヘッドは、ノズルを有するノズル板に設けられる電気機械変換素子(アクチュエータ)により圧力室の圧力を変動させることにより圧力室内の液体をノズルから吐出するノズル板振動方式の液体吐出ヘッドである。ノズル板振動方式は、一般的なユニモルフ型ピエゾヘッド(圧力室のノズルに連通する連通口を有する壁部(ノズル連通壁)に対向する面を振動させて液体を吐出するもの)に比べて小さい力で液滴が飛ばせるという特徴があり、アクチュエータの省電力化を図ることができる。
【0010】
ノズル密度を高くすると電圧印加のための配線をレイアウトするスペースが限られ、基板表面での配線構築が困難となる。基板内に配線や駆動回路を構築することで、ノズル密度が高い構成でも(例えば1200npiであっても)、配線をレイアウトすることができる。一般に、アクチュエータとして用いられる圧電体の材料として、圧電特性の高さから、ジルコン酸チタン酸鉛(PZT)が広く利用されている。ただし、配線や駆動回路が構築された基板上に圧電膜を成膜する場合、PZTの成膜・結晶化温度は少なくとも450℃以上を要することから、圧電体の材料としてPZTを用いると、基板内の駆動回路とその配線が高温に耐えられなくなる。そのため、基板内に配線や駆動回路を構築する構成では、圧電材料としては、PZTよりも成膜温度の低い圧電材料が求められ、PZTに比べ圧電特性の低い材料を選択する。
(【0011】以降は省略されています)
この特許をJ-PlatPat(特許庁公式サイト)で参照する
関連特許
株式会社リコー
画像形成装置
17日前
株式会社リコー
画像形成装置
6日前
株式会社リコー
液体塗布装置
10日前
株式会社リコー
画像形成装置
24日前
株式会社リコー
画像形成装置
9日前
株式会社リコー
感熱記録媒体
3日前
株式会社リコー
画像形成装置
2日前
株式会社リコー
印刷システム
6日前
株式会社リコー
画像形成装置
6日前
株式会社リコー
画像形成装置
6日前
株式会社リコー
画像投射システム
17日前
株式会社リコー
生体情報測定装置
3日前
株式会社リコー
印刷応答補償機構
10日前
株式会社リコー
拡張アンテナ装置
9日前
株式会社リコー
画像形成システム
2日前
株式会社リコー
液体を吐出する装置
3日前
株式会社リコー
マーキングシステム
9日前
株式会社リコー
電極及びその製造方法
6日前
株式会社リコー
電極及びその製造方法
4日前
株式会社リコー
多孔質構造体の製造方法
6日前
株式会社リコー
定着装置及び画像形成装置
10日前
株式会社リコー
定着装置及び画像形成装置
16日前
株式会社リコー
センサ素子及びセンサアレイ
16日前
株式会社リコー
センサ素子及びセンサアレイ
16日前
株式会社リコー
液体塗布装置および洗浄方法
6日前
株式会社リコー
ファイル分析・保存システム
6日前
株式会社リコー
液吐出装置、及び液吐出方法
10日前
株式会社リコー
パルスバルブおよび塗布装置
6日前
株式会社リコー
印刷装置および印刷システム
2日前
株式会社リコー
塗装システム、及び塗装方法
6日前
株式会社リコー
後処理装置および画像形成装置
6日前
株式会社リコー
印刷ファイル前処理メカニズム
24日前
株式会社リコー
導光部材、光学系及び表示装置
18日前
株式会社リコー
定着装置、及び、画像形成装置
6日前
株式会社リコー
液体吐出装置及び液体吐出方法
2日前
株式会社リコー
定着装置、及び、画像形成装置
6日前
続きを見る
他の特許を見る