TOP
|
特許
|
意匠
|
商標
特許ウォッチ
Twitter
他の特許を見る
10個以上の画像は省略されています。
公開番号
2025144437
公報種別
公開特許公報(A)
公開日
2025-10-02
出願番号
2024044206
出願日
2024-03-19
発明の名称
生体情報測定装置
出願人
株式会社リコー
代理人
弁理士法人酒井国際特許事務所
主分類
A61B
5/256 20210101AFI20250925BHJP(医学または獣医学;衛生学)
要約
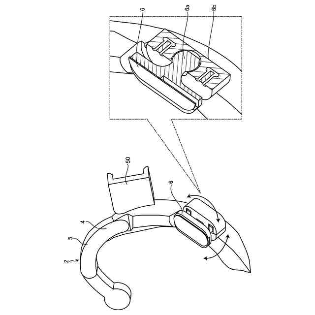
【課題】被験者の耳周りに対する電極部の接触位置を安定させる。
【解決手段】被験者が耳に装着する生体情報測定部を少なくとも1つ備え、生体情報を測定する生体情報測定装置において、前記生体情報測定部に設けられ、被験者の耳に装着可能であり、耳の付け根に引っ掛ける鉤状の引っ掛け部と、前記引っ掛け部に設けられ、前記耳の付け根の頭部側に接触され、生体情報測定に供する電位を計測する少なくとも1以上の信号検出部と、所定のたわみ量を有していて、被験者の耳の周辺に対して前記生体情報測定部を押し当て可能とする押し当て部と、を備え、前記引っ掛け部は、前記押し当て部に対して回動または揺動の少なくとも何れか一方の動作可能に取り付けられ、少なくとも2つ設けられる前記信号検出部は、前記押し当て部と前記引っ掛け部との取付位置を挟んだ位置に配置される。
【選択図】図1
特許請求の範囲
【請求項1】
被験者が耳に装着する生体情報測定部を少なくとも1つ備え、生体情報を測定する生体情報測定装置において、
前記生体情報測定部に設けられ、被験者の耳に装着可能であり、耳の付け根に引っ掛ける鉤状の引っ掛け部と、
前記引っ掛け部に設けられ、前記耳の付け根の頭部側に接触され、生体情報測定に供する電位を計測する少なくとも1以上の信号検出部と、
所定のたわみ量を有していて、被験者の耳の周辺に対して前記生体情報測定部を押し当て可能とする押し当て部と、
を備え、
前記引っ掛け部は、前記押し当て部に対して回動または揺動の少なくとも何れか一方の動作可能に取り付けられ、
少なくとも2つ設けられる前記信号検出部は、前記押し当て部と前記引っ掛け部との取付位置を挟んだ位置に配置される、
ことを特徴とする生体情報測定装置。
続きを表示(約 1,000 文字)
【請求項2】
前記引っ掛け部は、前記押し当て部に設けられた回動機構の回動軸を中心として回動可能とする、
ことを特徴とする請求項1に記載の生体情報測定装置。
【請求項3】
前記引っ掛け部は、前記押し当て部に設けられた揺動機構の搖動軸を支点として揺動可能とする、
ことを特徴とする請求項1に記載の生体情報測定装置。
【請求項4】
前記引っ掛け部は、前記押し当て部に設けられた回動および揺動機構の球体を中心および支点として回動および揺動可能とする、
ことを特徴とする請求項1に記載の生体情報測定装置。
【請求項5】
前記信号検出部は、前記引っ掛け部に対して回動および揺動可能とする、
ことを特徴とする請求項1に記載の生体情報測定装置。
【請求項6】
前記生体情報測定部は、被験者の左右両耳に装着され、
一方の耳に装着される前記生体情報測定部は、2つの前記信号検出部を有し、
他方の耳に装着される前記生体情報測定部は、1つの前記信号検出部を有する、
ことを特徴とする請求項1に記載の生体情報測定装置。
【請求項7】
前記押し当て部は、前記生体情報測定部に代えて被験者の耳の周辺に対して押し当てられる押し当てパッドを備え、
前記生体情報測定部は、被験者の左右何れか一方の耳に装着され、
前記押し当てパッドは、被験者の左右何れか他方の耳に装着され、
左右何れか一方の耳に装着される前記生体情報測定部は、2つの前記信号検出部を有して、単極誘導法により生体情報測定に供する電位を計測する、
ことを特徴とする請求項1に記載の生体情報測定装置。
【請求項8】
前記生体情報を測定する信号測定回路部を備え、
前記信号測定回路部は、前記押し当て部に設けられる、
ことを特徴とする請求項1に記載の生体情報測定装置。
【請求項9】
前記生体情報を測定する信号測定回路部を備え、
前記信号測定回路部は、前記引っ掛け部の下方に設けられる、
とを特徴とする請求項1に記載の生体情報測定装置。
【請求項10】
前記引っ掛け部は、弾性体材料を使用して形成される、
ことを特徴とする請求項1に記載の生体情報測定装置。
(【請求項11】以降は省略されています)
発明の詳細な説明
【技術分野】
【0001】
本発明は、生体情報測定装置に関する。
続きを表示(約 2,000 文字)
【背景技術】
【0002】
従来、日常的に生体情報を測定し、得られた情報から被験者の健康状態やストレスの指標として利用することが実用化されてきている。生体情報としては、心拍、脈波、脳波などがある。
【0003】
例えば、脳波は、脳内の脳神経電流に起因して頭部の表面に生じる電位を計測することによって得られる。一般的には、頭部近傍における電位を計測するための電極と、基準電位を計測するための電極と、の間に生じる電位差に基づいて、頭部の表面に生じる電位を計測する。近年、被験者が頭部に装着して脳波活動をモニタリングできるウェアラブルの脳波測定デバイスが開発され、様々な応用分野で使用されている。
【0004】
一般に、脳波はμVオーダーの微弱な電位を測定することで得られるため、電極と人体間の接触インピーダンスが安定している必要がある。研究用や医療用の脳波計では、皮膚や頭皮に確実に接触して信号の品質を向上させるために、導電性ゲルを用いたウェット電極が使用される。一方、日常的に脳波を測定するウェアラブル脳波計では、装着の簡便化のために導電性ゲルを用いないドライ電極を使用することが好ましい。ドライ電極は簡便であるが、電極と人体との接触が安定するように電極を装着させることに課題がある。
【0005】
そこで、特許文献1には、被験者の頭部へ装着するヘッドセットであって、計測する頭皮に接触させる電極部に荷重をかける構成とする脳活動計測装置が開示されている。
【発明の概要】
【発明が解決しようとする課題】
【0006】
ところで、脳波を測定するポイントは、瞬きや眼球移動の体動ノイズが少ない耳周りが好ましい。しかしながら、従来技術によれば、測定ポイントが耳周りではなく頭部にある。
【0007】
本発明は、上記に鑑みてなされたものであって、被験者の耳周りに対する電極部の接触位置を安定させることを目的とする。
【課題を解決するための手段】
【0008】
上述した課題を解決し、目的を達成するために、本発明は、被験者が耳に装着する生体情報測定部を少なくとも1つ備え、生体情報を測定する生体情報測定装置において、前記生体情報測定部に設けられ、被験者の耳に装着可能であり、耳の付け根に引っ掛ける鉤状の引っ掛け部と、前記引っ掛け部に設けられ、前記耳の付け根の頭部側に接触され、生体情報測定に供する電位を計測する少なくとも1以上の信号検出部と、所定のたわみ量を有していて、被験者の耳の周辺に対して前記生体情報測定部を押し当て可能とする押し当て部と、を備え、前記引っ掛け部は、前記押し当て部に対して回動または揺動の少なくとも何れか一方の動作可能に取り付けられ、少なくとも2つ設けられる前記信号検出部は、前記押し当て部と前記引っ掛け部との取付位置を挟んだ位置に配置される、ことを特徴とする。
【発明の効果】
【0009】
本発明によれば、被験者の耳周りに対する電極部の接触位置を安定させることができる、という効果を奏する。
【図面の簡単な説明】
【0010】
図1は、第1の実施の形態にかかる脳波測定装置を例示的に示す図である。
図2は、押し当て部の構成を示す図である。
図3は、脳波測定部の構成を示す図である。
図4は、一対の脳波測定部による信号検出の例について示す図である。
図5は、乳様突起の位置を示す図である。
図6は、押し当て部に対する脳波測定部の回動例を示す図である。
図7は、押し当て部の回動機構の例を示す図である。
図8は、脳波測定部の装着態様の一例を示す図である。
図9は、脳波測定装置の変形例1を示す図である。
図10は、脳波測定装置の変形例2を示す図である。
図11は、脳波測定装置の変形例3を示す図である。
図12は、脳波測定部による信号検出の例について示す図である。
図13は、第2の実施の形態にかかる押し当て部の搖動機構の例を示す図である。
図14は、第3の実施の形態にかかる押し当て部の回動および揺動機構の例を示す図である。
図15は、第4の実施の形態にかかるモニタシステムの概要を示す概念図である。
図16は、脳波測定装置のハードウェア構成の一例を示す図である。
図17は、生体モニタ装置のハードウェア構成の一例を示す図である。
図18は、生体モニタ装置のシステム構成の一例を示す図である。
【発明を実施するための形態】
(【0011】以降は省略されています)
この特許をJ-PlatPat(特許庁公式サイト)で参照する
関連特許
株式会社リコー
綴じ装置
1か月前
株式会社リコー
画像形成装置
26日前
株式会社リコー
画像形成装置
18日前
株式会社リコー
液体塗布装置
11日前
株式会社リコー
画像形成装置
3日前
株式会社リコー
画像形成装置
10日前
株式会社リコー
画像形成装置
7日前
株式会社リコー
画像形成装置
7日前
株式会社リコー
映像表示装置
28日前
株式会社リコー
画像形成装置
1か月前
株式会社リコー
履帯式走行体
1か月前
株式会社リコー
画像形成装置
7日前
株式会社リコー
画像形成装置
1か月前
株式会社リコー
印刷システム
7日前
株式会社リコー
液体吐出装置
1か月前
株式会社リコー
画像形成装置
1か月前
株式会社リコー
画像形成装置
1か月前
株式会社リコー
感熱記録媒体
4日前
株式会社リコー
画像形成装置
1か月前
株式会社リコー
画像投射装置
1か月前
株式会社リコー
画像形成装置
25日前
株式会社リコー
印刷応答補償機構
11日前
株式会社リコー
拡張アンテナ装置
10日前
株式会社リコー
画像投射システム
18日前
株式会社リコー
情報処理システム
28日前
株式会社リコー
生体情報測定装置
4日前
株式会社リコー
投薬管理システム
26日前
株式会社リコー
画像形成システム
3日前
株式会社リコー
カラー画像形成装置
1か月前
株式会社リコー
液体を吐出する装置
4日前
株式会社リコー
マーキングシステム
10日前
株式会社リコー
電極及びその製造方法
7日前
株式会社リコー
電極及びその製造方法
5日前
株式会社リコー
測定装置および測定方法
27日前
株式会社リコー
測定装置および測定方法
27日前
株式会社リコー
多孔質構造体の製造方法
7日前
続きを見る
他の特許を見る