TOP
|
特許
|
意匠
|
商標
特許ウォッチ
Twitter
他の特許を見る
10個以上の画像は省略されています。
公開番号
2025138120
公報種別
公開特許公報(A)
公開日
2025-09-25
出願番号
2024036999
出願日
2024-03-11
発明の名称
液吐出装置、及び液吐出方法
出願人
株式会社リコー
代理人
個人
,
個人
主分類
B05C
5/00 20060101AFI20250917BHJP(霧化または噴霧一般;液体または他の流動性材料の表面への適用一般)
要約
【課題】吐出異常を低減する。
【解決手段】本発明の一態様に係る液吐出装置は、ノズル孔が設けられたノズル板を含む液室と、液を前記液室へ供給する供給手段と、前記液室に設けられる弁体と、前記弁体を移動させる弁体移動手段と、を備え、前記液を吐出するとき、及び前記液を吐出しないときの双方において、前記液室から前記ノズル孔に前記液を供給し、前記液を吐出しないときにおける前記ノズル孔への前記液の供給量は、前記液を吐出するときにおける前記ノズル孔への前記液の供給量よりも少ない。
【選択図】図3
特許請求の範囲
【請求項1】
ノズル孔が設けられたノズル板を含む液室と、
液を前記液室へ供給する供給手段と、
前記液室に設けられる弁体と、
前記弁体を移動させる弁体移動手段と、を備え、
前記液を吐出するとき、及び前記液を吐出しないときの双方において、前記液室から前記ノズル孔に前記液を供給し、
前記液を吐出しないときにおける前記ノズル孔への前記液の供給量は、前記液を吐出するときにおける前記ノズル孔への前記液の供給量よりも少ない、液吐出装置。
続きを表示(約 1,400 文字)
【請求項2】
前記弁体における前記ノズル板が位置する側の端面には、第1の溝が設けられており、
前記液を吐出しないときに、前記第1の溝を通して、前記液室から前記ノズル孔へ前記液を供給する、請求項1に記載の液吐出装置。
【請求項3】
前記弁体における前記ノズル板が位置する側の端面には、第1の凸部が設けられており、
前記液を吐出しないときに、前記第1の凸部が前記ノズル板に当接することで形成される第1の隙間を通して、前記液室から前記ノズル孔へ前記液を供給する、請求項1又は請求項2に記載の液吐出装置。
【請求項4】
前記弁体における前記ノズル板が位置する側の端面は、第1の多孔質構造を有し、
前記液を吐出しないときに、前記第1の多孔質構造の孔を通して前記ノズル孔へ前記液を供給する、請求項1又は請求項2に記載の液吐出装置。
【請求項5】
前記ノズル板における前記弁体が位置する側の上面には、第2の溝が設けられており、
前記液を吐出しないときに、前記第2の溝を通して、前記液室から前記ノズル孔へ前記液を供給する、請求項1又は請求項2に記載の液吐出装置。
【請求項6】
前記ノズル板における前記弁体が位置する側の上面には、第2の凸部が設けられており、
前記液を吐出しないときに、前記第2の凸部が前記弁体に当接することで形成される第2の隙間を通して、前記液室から前記ノズル孔へ前記液を供給する、請求項1又は請求項2に記載の液吐出装置。
【請求項7】
前記ノズル板における前記弁体が位置する側の上面において、前記ノズル孔と、前記第2の凸部が形成される領域との間には、前記第2の凸部が形成されない領域が設けられる、請求項6に記載の液吐出装置。
【請求項8】
前記ノズル板における前記弁体が位置する側の上面は、第2の多孔質構造を有し、
前記液を吐出しないときに、前記第2の多孔質構造の孔を通して、前記液室から前記ノズル孔へ前記液を供給する、請求項1又は請求項2に記載の液吐出装置。
【請求項9】
前記弁体移動手段による前記弁体の移動を制御する制御部を、さらに備え
前記制御部は、前記弁体移動手段による前記弁体の移動により、前記液を吐出する第1モードと、前記液を吐出しない第2モードと、を切り替え可能であり、
前記第1モードでは、前記弁体における前記ノズル板が位置する側の端面は、前記ノズル板における前記弁体が位置する側の上面から第1の距離だけ離れて位置し、
前記第2モードでは、前記弁体の前記端面は、前記ノズル板の前記上面から前記第1の距離よりも短い第2の距離だけ離れて位置し、
前記第2モードにおいて、前記弁体の前記端面と前記ノズル板の前記上面との間を通して、前記液室から前記ノズル孔に前記液を供給する、請求項1又は請求項2に記載の液吐出装置。
【請求項10】
前記制御部は、前記弁体移動手段による前記弁体の移動により、前記液を前記ノズル孔に供給しない第3モードにさらに切り替え可能であり、
前記第3モードにおいて、前記弁体の前記端面は、前記ノズル板の前記上面から前記第2の距離より短い第3の距離だけ離れて位置する、または前記ノズル板の前記上面に当接する、請求項9に記載の液吐出装置。
(【請求項11】以降は省略されています)
発明の詳細な説明
【技術分野】
【0001】
本発明は、液吐出装置、及び液吐出方法に関する。
続きを表示(約 2,200 文字)
【背景技術】
【0002】
従来、液室へ供給される加圧された液を、液室に設けられたノズル孔を弁体の移動で開くことによって吐出し、また弁体の移動でノズル孔を閉じることによって非吐出にする、弁開閉式の液吐出装置が知られている。
【0003】
例えば、特許文献1には、吐出異常を低減するために、吐出しないときにノズル孔内の液面を振動させることにより、増粘した液を液室内で攪拌させる方法が開示されている。
【発明の概要】
【発明が解決しようとする課題】
【0004】
しかしながら、弁開閉式の液吐出装置では、液室内の液が加圧されているため、吐出しないときにノズル孔内の液面を振動させることができない。そのため、弁開閉式の液吐出装置では、特許文献1に記載された方法により、増粘した液を液室内で攪拌させることができず、吐出異常を低減できない。
【0005】
本発明は、吐出異常を低減することを目的とする。
【課題を解決するための手段】
【0006】
本発明の一態様に係る液吐出装置は、ノズル孔が設けられたノズル板を含む液室と、液を前記液室へ供給する供給手段と、前記液室に設けられる弁体と、前記弁体を移動させる弁体移動手段と、を備え、前記液を吐出するとき、及び前記液を吐出しないときの双方において、前記液室から前記ノズル孔に前記液を供給し、前記液を吐出しないときにおける前記ノズル孔への前記液の供給量は、前記液を吐出するときにおける前記ノズル孔への前記液の供給量よりも少ない。
【発明の効果】
【0007】
本発明によれば、吐出異常を低減できる。
【図面の簡単な説明】
【0008】
本発明の第一実施形態に係る液吐出装置の全体構成の一例を示す模式的断面図である。
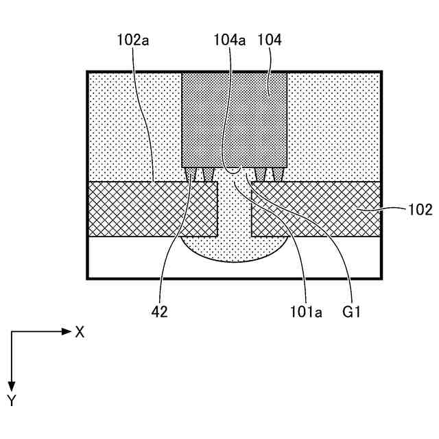
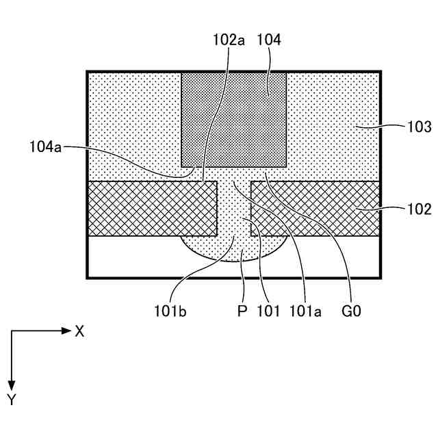
弁体でノズル孔をほぼ完全に閉じた状態を示すノズル孔周辺の拡大図である。
弁体でノズル孔を完全には閉じていない状態を示すノズル孔周辺の拡大図である。
本発明の第一実施形態に係る液吐出装置が備える制御部の機能構成を示すブロック図である。
本発明の第一実施形態に係る液吐出装置が備える弁体移動手段の駆動電圧を示す図である。
図5の駆動電圧に応じて弁体の端面が移動する様子を示す図である。
本発明の第一実施形態の第一変形例に係る液吐出装置が備える弁体を示す模式的斜視図である。
本発明の第一実施形態の第二変形例に係る液吐出装置が備える弁体を示す模式的断面図である。
本発明の第一実施形態の第三変形例に係る液吐出装置が備える弁体を示す模式的断面図である。
本発明の第一実施形態の第四変形例に係る液吐出装置が備えるノズル板を示す模式的斜視図である。
本発明の第一実施形態の第五変形例に係る液吐出装置が備えるノズル板を示す模式的断面図である。
本発明の第一実施形態の第六変形例に係る液吐出装置が備えるノズル板を示す模式的図である。
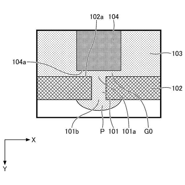
本発明の第二実施形態に係る液吐出装置において液を吐出しない状態を示す模式的断面図である。
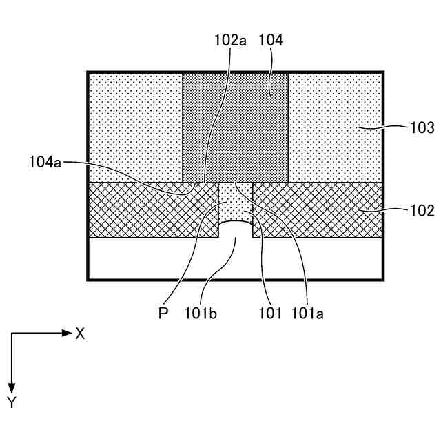
本発明の第二実施形態に係る液吐出装置において液を吐出する状態を示す模式的断面図である。
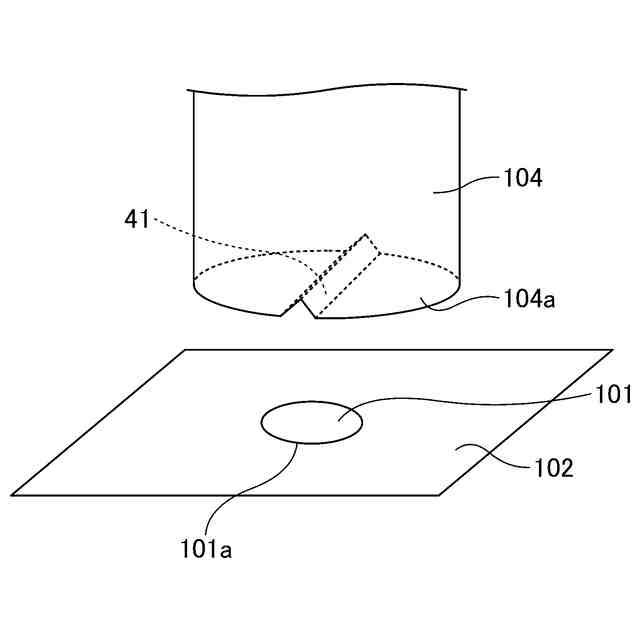
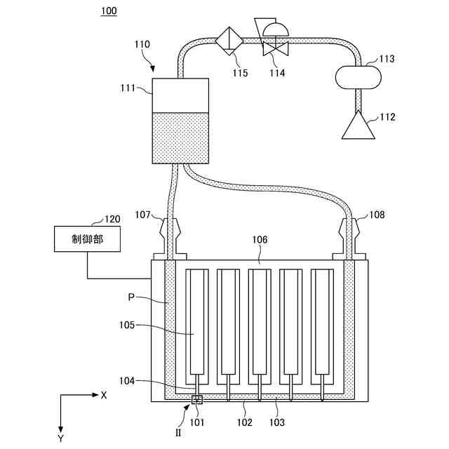
本発明の第三実施形態に係る塗布装置の構成を示す模式図である。
本発明の第三実施形態に係る塗布装置の対象物への配置の第一例を示す図である。
本発明の第三実施形態に係る塗布装置の対象物への配置の第二例を示す図である。
本発明の第七変形例に係る液吐出装置が備えるノズル板を示す第1模式的断面図である。
本発明の第七変形例に係る液吐出装置が備えるノズル板を示す第2模式的断面図である。
【発明を実施するための形態】
【0009】
以下、本発明の実施形態に係る液吐出装置、及び液吐出方法について図面を参照しながら詳細に説明する。但し、以下に示す形態は、本実施形態の技術思想を具現化するための液吐出装置、及び液吐出方法を例示するものであって、以下に限定するものではない。また、実施形態に記載されている構成部の寸法、材質、形状、その相対的配置等は、特定的な記載がない限り、本発明の範囲をそれのみに限定する趣旨ではなく、単なる説明例にすぎない。なお、各図面が示す部材の大きさ、位置関係等は、説明を明確にするため誇張していることがある。また、以下の説明において、同一の名称、符号については同一もしくは同質の部材を示しており、詳細説明を適宜省略する。
【0010】
以下に示す図において、方向表現にX軸及びY軸を用いる場合がある。X軸が延びる方向をX方向とし、Y軸が延びる方向をY方向とする。X軸を示す矢印が向く方向を+X方向、+X方向の反対方向を-X方向と表記する。Y軸を示す矢印が向く方向を+Y方向、+Y方向の反対方向を-Y方向と表記する。本発明の実施形態に係る液吐出装置が備えるノズル板の法線方向は、Y方向に沿うものとする。但し、これらの方向表現は、相対的な位置、向き、方向等の関係を述べるに過ぎず、使用時における関係と一致していなくてもよい。
(【0011】以降は省略されています)
この特許をJ-PlatPat(特許庁公式サイト)で参照する
関連特許
株式会社リコー
綴じ装置
1か月前
株式会社リコー
画像形成装置
6日前
株式会社リコー
映像表示装置
27日前
株式会社リコー
感熱記録媒体
3日前
株式会社リコー
印刷システム
6日前
株式会社リコー
画像形成装置
6日前
株式会社リコー
画像形成装置
2日前
株式会社リコー
画像形成装置
6日前
株式会社リコー
液体塗布装置
10日前
株式会社リコー
画像形成装置
9日前
株式会社リコー
画像形成装置
25日前
株式会社リコー
画像形成装置
24日前
株式会社リコー
画像形成装置
17日前
株式会社リコー
生体情報測定装置
3日前
株式会社リコー
拡張アンテナ装置
9日前
株式会社リコー
画像形成システム
2日前
株式会社リコー
画像投射システム
17日前
株式会社リコー
印刷応答補償機構
10日前
株式会社リコー
投薬管理システム
25日前
株式会社リコー
情報処理システム
27日前
株式会社リコー
マーキングシステム
9日前
株式会社リコー
液体を吐出する装置
3日前
株式会社リコー
電極及びその製造方法
6日前
株式会社リコー
電極及びその製造方法
4日前
株式会社リコー
測定装置および測定方法
26日前
株式会社リコー
測定装置および測定方法
26日前
株式会社リコー
測定装置および測定方法
26日前
株式会社リコー
多孔質構造体の製造方法
6日前
株式会社リコー
定着装置及び画像形成装置
10日前
株式会社リコー
定着装置及び画像形成装置
16日前
株式会社リコー
センサ素子及びセンサアレイ
16日前
株式会社リコー
センサ素子及びセンサアレイ
16日前
株式会社リコー
パルスバルブおよび塗布装置
6日前
株式会社リコー
樹脂粒子およびその製造方法
25日前
株式会社リコー
液体塗布装置および洗浄方法
6日前
株式会社リコー
塗装システム、及び塗装方法
6日前
続きを見る
他の特許を見る