TOP
|
特許
|
意匠
|
商標
特許ウォッチ
Twitter
他の特許を見る
10個以上の画像は省略されています。
公開番号
2025136794
公報種別
公開特許公報(A)
公開日
2025-09-19
出願番号
2024035646
出願日
2024-03-08
発明の名称
センサ素子及びセンサアレイ
出願人
株式会社リコー
代理人
個人
,
個人
主分類
G01N
27/00 20060101AFI20250911BHJP(測定;試験)
要約
【課題】センサ特性の劣化を抑制するセンサ素子を提供する。
【解決手段】センサ素子100は、第1電極16と、第2電極18と、原子層状材料を有し、前記第1電極16及び第2電極18の間に配置され、前記第1電極16及び第2電極18と電気的に接続されたチャネル層14と、少なくとも、前記第1電極16及び第2電極18の配列方向と垂直な方向において、前記チャネル層14の端を覆う絶縁層20と、を備える。
【選択図】図1
特許請求の範囲
【請求項1】
第1電極と、
第2電極と、
原子層状材料を有し、前記第1電極及び第2電極の間に配置され、前記第1電極及び第2電極と電気的に接続されたチャネル層と、
少なくとも、前記第1電極及び第の電極の配列方向に直交する方向において、前記チャネル層の端を覆う絶縁層と、
を備えるセンサ素子。
続きを表示(約 570 文字)
【請求項2】
前記チャネル層は、前記絶縁層に覆われない露出領域を有する、請求項1に記載のセンサ素子。
【請求項3】
上面視において、前記露出領域における前記チャネル層は、前記原子層状材料に結合し、標的物質を捕捉する捕捉体を備える請求項2に記載のセンサ素子。
【請求項4】
前記露出領域の輪郭の少なくとも一部は曲線状である請求項2または3に記載のセンサ素子。
【請求項5】
前記チャネル層の端を覆う絶縁層は積層膜である請求項1から3のいずれか一項に記載のセンサ素子。
【請求項6】
前記原子層状材料は、グラフェンを含む請求項1から3のいずれか一項に記載のセンサ素子。
【請求項7】
前記チャネル層は、複数の前記露出領域を有する請求項2に記載のセンサ素子。
【請求項8】
前記センサ素子は、溶液内の標的物質を検出する請求項1から3のいずれか一項に記載のセンサ素子。
【請求項9】
前記センサ素子は、気体内の標的物質を検出する請求項1から3のいずれか一項に記載のセンサ素子。
【請求項10】
請求項1から3のいずれか一項に記載のセンサ素子を複数備えるセンサアレイ。
(【請求項11】以降は省略されています)
発明の詳細な説明
【技術分野】
【0001】
本発明は、センサ素子及びセンサアレイに関する。
続きを表示(約 2,400 文字)
【背景技術】
【0002】
バイオセンサなどに用いられるセンサ素子として、グラフェンなどの原子層状のチャネル層を有する電界効果トランジスタ(FET:Field Effect Transistor)が知られている。
【0003】
センサ素子では、標的物質が、チャネルに接合された捕捉体に補足されると、チャネル層の電位が変化する。そこで、チャネル層を流れる電流に基づき、標的物質の検出が可能となる。グラフェンをチャネル層とするセンサ素子について、チャネル層の一部及び電極上に絶縁層を設け、絶縁層に、チャネルの端が露出する開口を設けることが知られている(例えば特許文献1)。
【発明の概要】
【発明が解決しようとする課題】
【0004】
しかしながら、チャネル層の端が開口から露出すると、特性のドリフトなどが発生し、センサ特性に影響することがある。
【0005】
本発明は、センサ特性の劣化を抑制するセンサ素子及びセンサアレイを提供することを目的とする。
【課題を解決するための手段】
【0006】
本発明の実施形態によれば、センサ素子は、第1電極と、第2電極と、原子層状材料を有し、前記第1電極及び第2電極の間に配置され、前記第1電極及び第2電極と電気的に接続されたチャネル層と、少なくとも、前記第1電極及び第の電極の配列方向に直交する方向において、前記チャネル層の端を覆う絶縁層と、を備える。
【発明の効果】
【0007】
本発明によれば、センサ特性の劣化を抑制するセンサ素子及びセンサアレイを提供することができる。
【図面の簡単な説明】
【0008】
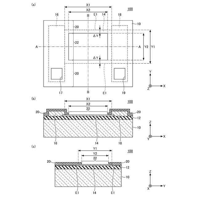
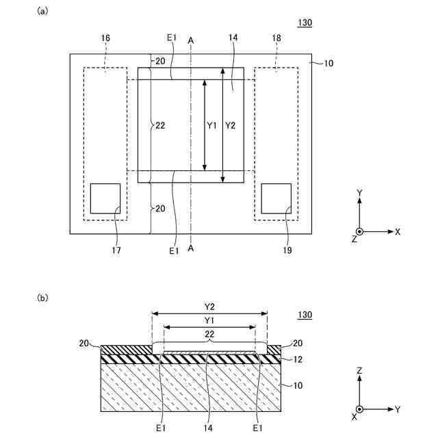
図1(a)は、本発明の第1実施形態に係るセンサ素子を示す平面図、図1(b)及び図1(c)は、それぞれ図1(a)のA-A断面図及びB-B断面図である。
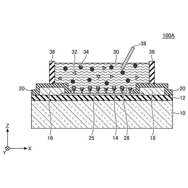
図2は、本発明の第1実施形態に係るセンサ素子の断面図である。
図3(a)は、第1比較例に係るセンサ素子の平面図、図3(b)は、図3(a)のA-A断面図である。
図4(a)及び図4(b)は、第1比較例におけるチャネル層の端を示す平面模式図、図4(c)は、本発明の第1実施形態におけるチャネル層の端を示す平面模式図である。
図5(a)は、本発明の第1実施形態に係るセンサ素子の平面図、図5(b)は、本発明の第1実施形態の変形例1に係るセンサ素子の平面図である。
図6(a)は、本発明の第1実施形態の変形例2に係るセンサ素子の平面図、図6(b)は、本発明の第1実施形態の変形例3に係るセンサ素子の平面図である。
図7(a)は、本発明の第1実施形態の変形例4に係るセンサ素子の平面図、図7(b)は、本発明の第1実施形態の変形例5に係るセンサ素子の平面図である。
図8(a)は、本発明の第1実施形態の変形例6に係るセンサ素子の平面図、図8(b)は、図8(a)のA-A断面図である。
図9は、本発明の第1実施形態の変形例7に係るセンサ素子の断面図である。
図10は、本発明の第1実施形態及びその変形例が用いられるセンサシステムのブロック図である。
図11(a)は、本発明の第2実施形態に係るセンサ素子を示す平面図、図1(b)は、図11(a)のA-A断面図である。
図12は、本発明の第2実施形態に係るセンサ素子の断面図である。
図13(a)及び図13(b)は、本発明の第2実施形態に係るセンサ素子の断面図である。
図14(a)は、本発明の第2実施形態の変形例1に係るセンサ素子の断面図、図14(b)は、本発明の第2実施形態の変形例2に係るセンサ素子の断面図である。
図15(a)は、本発明の第2実施形態の変形例3に係るセンサ素子の断面図、図15(b)は、本発明の第2実施形態の変形例4に係るセンサ素子の断面図である。
図16(a)は、本発明の第2実施形態の変形例5に係るセンサ素子の断面図、図16(b)は、本発明の第2実施形態の変形例6に係るセンサ素子の断面図である。
図17(a)から図17(c)は、本発明の第2実施形態の変形例7に係るセンサ素子の平面図である。
図18(a)及び図18(b)は、本発明の第2実施形態の変形例8に係るセンサ素子の平面図である。
図19(a)及び図19(b)は、本発明の第2実施形態の変形例9に係るセンサ素子の平面図である。
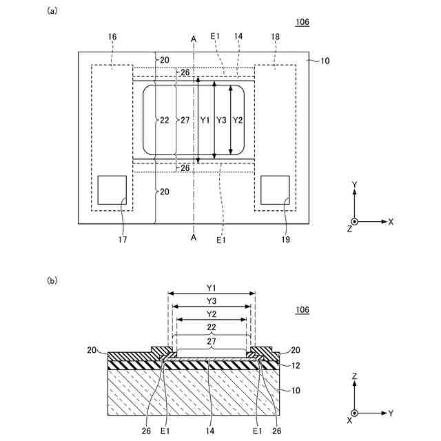
図20(a)から図20(c)は、本発明の第2実施形態の変形例10に係るセンサアレイの平面図である。
図21は、本発明の第2実施形態の変形例11に係るセンサアレイの平面図である。
図22は、本発明の第2実施形態の変形例12に係るセンサアレイの平面図である。
【発明を実施するための形態】
【0009】
以下、図面を参照して本発明を実施するための形態について詳細に説明する。下記の実施形態は、発明の技術思想を具体化するための例示であり、本発明を記載された構成や数値に限定するものではない。なお、各図面において、同一構成部分には同一符号を付し、重複した説明を適宜省略する場合がある。各図面が示す各部材の大きさ、位置関係等は、発明の理解を容易にするために誇張して描かれている場合がある。
【0010】
(第1実施形態)
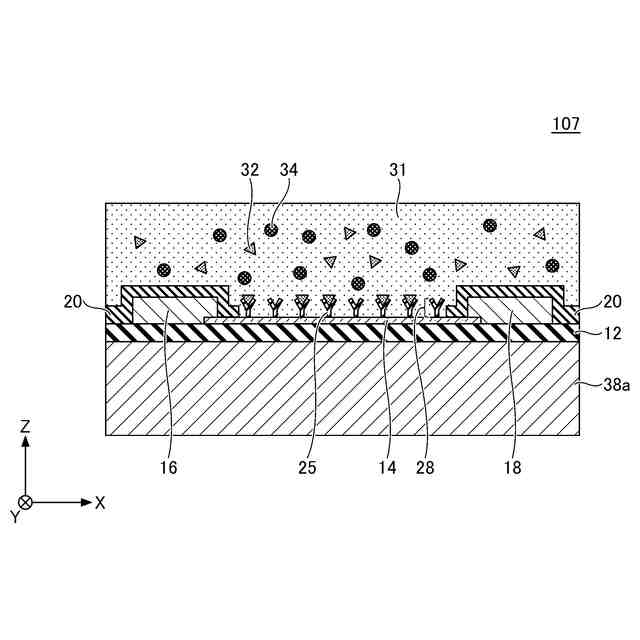
図1(a)は、本発明の第1実施形態に係るセンサ素子を示す平面図、図1(b)及び図1(c)は、それぞれ図1(a)のA-A断面図及びB-B断面図である。基板10の厚さ方向をZ方向、電極16と18の配列方向をX方向、X方向及びZ方向に交差する方向をY方向とする。
(【0011】以降は省略されています)
この特許をJ-PlatPat(特許庁公式サイト)で参照する
関連特許
株式会社リコー
画像形成装置
14日前
株式会社リコー
画像形成装置
6日前
株式会社リコー
感熱記録媒体
今日
株式会社リコー
画像形成装置
3日前
株式会社リコー
液体塗布装置
7日前
株式会社リコー
画像形成装置
3日前
株式会社リコー
印刷システム
3日前
株式会社リコー
画像形成装置
3日前
株式会社リコー
印刷応答補償機構
7日前
株式会社リコー
生体情報測定装置
今日
株式会社リコー
画像投射システム
14日前
株式会社リコー
拡張アンテナ装置
6日前
株式会社リコー
マーキングシステム
6日前
株式会社リコー
液体を吐出する装置
今日
株式会社リコー
電極及びその製造方法
3日前
株式会社リコー
電極及びその製造方法
1日前
株式会社リコー
多孔質構造体の製造方法
3日前
株式会社リコー
定着装置及び画像形成装置
7日前
株式会社リコー
定着装置及び画像形成装置
13日前
株式会社リコー
液吐出装置、及び液吐出方法
7日前
株式会社リコー
パルスバルブおよび塗布装置
3日前
株式会社リコー
塗装システム、及び塗装方法
3日前
株式会社リコー
ファイル分析・保存システム
3日前
株式会社リコー
液体塗布装置および洗浄方法
3日前
株式会社リコー
センサ素子及びセンサアレイ
13日前
株式会社リコー
センサ素子及びセンサアレイ
13日前
株式会社リコー
後処理装置および画像形成装置
3日前
株式会社リコー
定着装置、及び、画像形成装置
3日前
株式会社リコー
定着装置、及び、画像形成装置
3日前
株式会社リコー
パーソナライズビデオメカニズム
1日前
株式会社リコー
液体吐出装置、及び液体吐出方法
3日前
株式会社リコー
レーザ照射装置、レーザ照射方法
3日前
株式会社リコー
媒体処理装置及び画像形成システム
今日
株式会社リコー
媒体処理装置及び画像形成システム
1日前
株式会社リコー
見積書作成装置、方法、プログラム
3日前
株式会社リコー
mRNA発現量の免疫学的評価方法
今日
続きを見る
他の特許を見る