TOP
|
特許
|
意匠
|
商標
特許ウォッチ
Twitter
他の特許を見る
10個以上の画像は省略されています。
公開番号
2025141402
公報種別
公開特許公報(A)
公開日
2025-09-29
出願番号
2024041313
出願日
2024-03-15
発明の名称
定着装置、及び、画像形成装置
出願人
株式会社リコー
代理人
個人
主分類
G03G
15/20 20060101AFI20250919BHJP(写真;映画;光波以外の波を使用する類似技術;電子写真;ホログラフイ)
要約
【課題】感熱素子を面状ヒータに近づく方向に付勢する付勢部材が正常な姿勢で取り付けられていることを確認しやすくする。
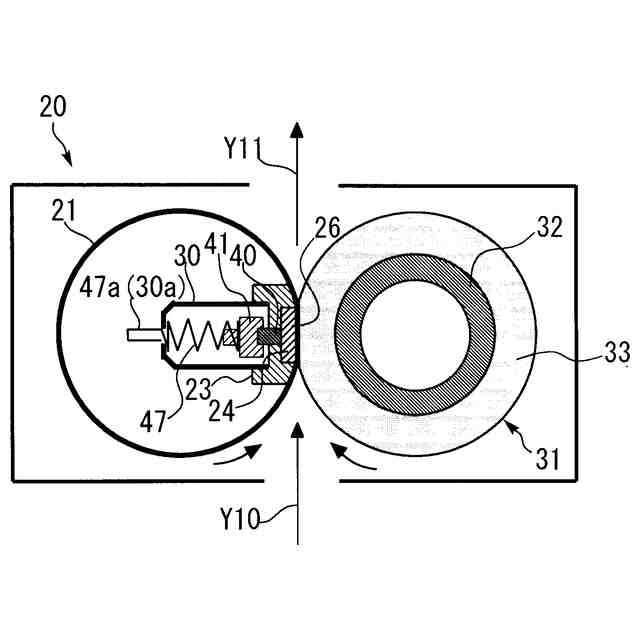
【解決手段】面状ヒータ24においてニップ部を形成する面に対して反対側の面に接触するサーミスタ40(感熱素子)が設けられている。さらに、サーミスタ40を面状ヒータ24に近づく方向に付勢する圧縮スプリング47(付勢部材)と、ホルダ23を支持して圧縮スプリング47を保持するステー30と、が設けられている。そして、ステー30の内部に保持した圧縮スプリング47の姿勢の変化に連動するフック形状部47a(連動部)が、ステー30の貫通部30aから外部に突出するように構成している。
【選択図】図2
特許請求の範囲
【請求項1】
幅方向に延在する面状ヒータと、
前記面状ヒータによって加熱される定着ベルトと、
前記定着ベルトを介して前記面状ヒータに圧接することでシートが搬送されるニップ部を形成する加圧回転体と、
前記面状ヒータを保持するホルダと、
前記面状ヒータにおいて前記ニップ部を形成する面に対して反対側の面に対して、直接的又は間接的に接触するか、対向するか、する感熱素子と、
前記感熱素子を前記面状ヒータに近づく方向に付勢する付勢部材と、
前記ホルダを支持して、前記付勢部材を保持するステーと、
を備え、
前記ステーの内部に保持した前記付勢部材の姿勢の変化に連動する連動部が、前記ステーの貫通部から外部に突出するか、前記貫通部に位置するか、するように構成したことを特徴とする定着装置。
続きを表示(約 480 文字)
【請求項2】
前記連動部は、前記付勢部材の一部として形成された部分であることを特徴とする請求項1に記載の定着装置。
【請求項3】
前記連動部は、前記付勢部材に取り付けた取付け部材であることを特徴とする請求項1に記載の定着装置。
【請求項4】
前記連動部は、前記付勢部材としての圧縮スプリングの内周部に挿入されて、前記感熱素子を保持するブラケットの一部として突出した柱状部であることを特徴とする請求項1に記載の定着装置。
【請求項5】
前記貫通部の穴径が、前記連動部の外径よりも大きいことを特徴とする請求項1に記載の定着装置。
【請求項6】
前記連動部は、前記定着ベルトの内周面に接触しないように、その突出量が定められたことを特徴とする請求項1に記載の定着装置。
【請求項7】
前記感熱素子は、サーミスタ又はサーモスタットであることを特徴とする請求項1に記載の定着装置。
【請求項8】
請求項1に記載の定着装置を備えたことを特徴とする画像形成装置。
発明の詳細な説明
【技術分野】
【0001】
この発明は、面状ヒータを備えた定着装置と、それを備えた複写機、プリンタ、ファクシミリ、又は、それらの複合機等の画像形成装置と、に関するものである。
続きを表示(約 1,800 文字)
【背景技術】
【0002】
従来から、複写機、プリンタ等の画像形成装置における定着装置おいて、定着ベルトを加熱する加熱手段として面状ヒータ(発熱抵抗体)を用いたものが知られている(例えば、特許文献1参照。)。
【0003】
詳しくは、特許文献1の定着装置は、定着ベルト、加圧ローラ(加圧回転体)、定着ベルトを介して加圧ローラに圧接する面状ヒータ(ヒータ)、面状ヒータを保持するホルダ(ヒータホルダ)、ホルダを保持・補強するステー、面状ヒータの過昇温や温度を検知する感熱素子(サーモスタット、サーミスタ)、などで形成されている。
そして、駆動手段によって加圧ローラが回転駆動されて、ニップ部における加圧ローラとの摩擦抵抗によって、定着ベルトも加圧ローラの回転にともない従動回転(連れ回り)することになる。
そして、感熱素子によって温度制御された面状ヒータによって定着ベルトが加熱されて、ニップ部に向けて搬送されるシート上のトナー像が、ニップ部にて熱と圧力とを受けてシート上に定着されることになる。
【0004】
一方、特許文献1には、ステーとサーモスタットとのショートを防止しつつステーを小型化することを目的として、ステーの側面に開口部を形成する技術が開示されている。
【発明の概要】
【発明が解決しようとする課題】
【0005】
従来の技術は、サーミスタやサーモスタットなどの感熱素子を面状ヒータに近づく方向に付勢する圧縮スプリングなどの付勢部材を、ステーの内部に設置した場合、その付勢部材が正常な姿勢で取り付けられているか確認するのが難しかった。
【0006】
この発明は、上述のような課題を解決するためになされたもので、感熱素子を面状ヒータに近づく方向に付勢する付勢部材が正常な姿勢で取り付けられていることを確認しやすい、定着装置、及び、画像形成装置を提供することにある。
【課題を解決するための手段】
【0007】
この発明における定着装置は、幅方向に延在する面状ヒータと、前記面状ヒータによって加熱される定着ベルトと、前記定着ベルトを介して前記面状ヒータに圧接することでシートが搬送されるニップ部を形成する加圧回転体と、前記面状ヒータを保持するホルダと、前記面状ヒータにおいて前記ニップ部を形成する面に対して反対側の面に対して、直接的又は間接的に接触するか、対向するか、する感熱素子と、前記感熱素子を前記面状ヒータに近づく方向に付勢する付勢部材と、前記ホルダを支持して、前記付勢部材を保持するステーと、を備え、前記ステーの内部に保持した前記付勢部材の姿勢の変化に連動する連動部が、前記ステーの貫通部から外部に突出するか、前記貫通部に位置するか、するように構成したものである。
【発明の効果】
【0008】
本発明によれば、感熱素子を面状ヒータに近づく方向に付勢する付勢部材が正常な姿勢で取り付けられていることを確認しやすい、定着装置、及び、画像形成装置を提供することができる。
【図面の簡単な説明】
【0009】
この発明の実施の形態における画像形成装置を示す全体構成図である。
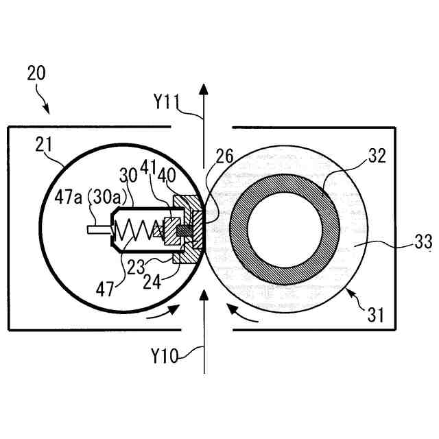
定着装置を示す構成図である。
定着装置を幅方向にみた上面図である。
定着ベルトとガイド部材とを幅方向に示す概略側面図である。
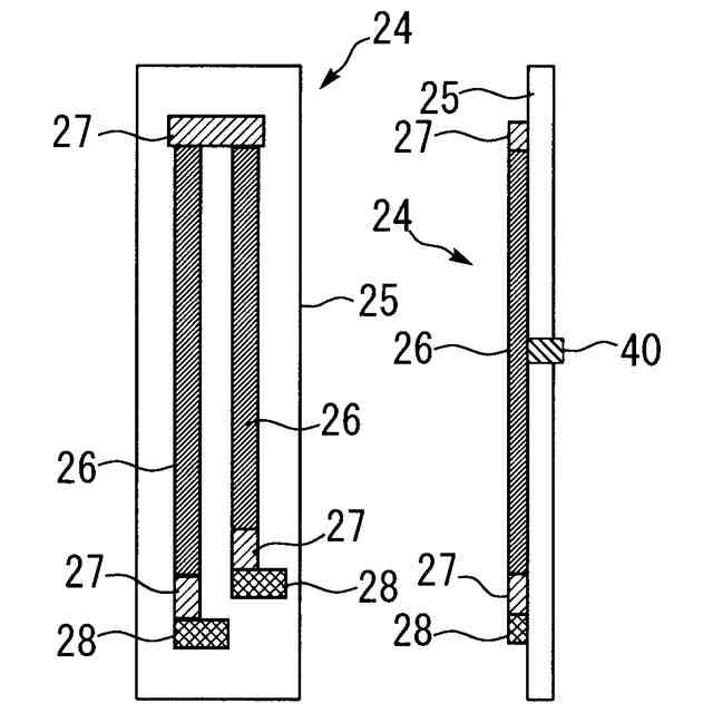
面状ヒータを幅方向に示す図である。
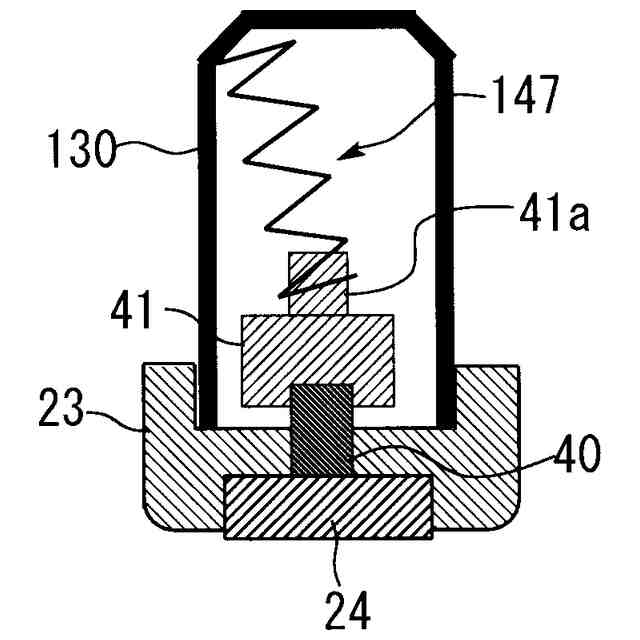
面状ヒータやサーミスタの近傍を示す拡大図である。
比較例としての定着装置における、面状ヒータやサーミスタの近傍を示す拡大図である。
変形例1としての定着装置における、面状ヒータやサーミスタの近傍を示す拡大図である。
変形例2としての定着装置における、面状ヒータやサーミスタの近傍を示す拡大図である。
変形例3としての定着装置における、面状ヒータやサーミスタの近傍を示す拡大図である。
変形例4としての定着装置における、面状ヒータやサーミスタの近傍を示す拡大図である。
【発明を実施するための形態】
【0010】
以下、この発明を実施するための形態について、図面を参照して詳細に説明する。なお、各図中、同一又は相当する部分には同一の符号を付しており、その重複説明は適宜に簡略化ないし省略する。
(【0011】以降は省略されています)
この特許をJ-PlatPat(特許庁公式サイト)で参照する
関連特許
株式会社リコー
綴じ装置
1か月前
株式会社リコー
画像形成装置
6日前
株式会社リコー
映像表示装置
27日前
株式会社リコー
感熱記録媒体
3日前
株式会社リコー
印刷システム
6日前
株式会社リコー
画像形成装置
6日前
株式会社リコー
画像形成装置
2日前
株式会社リコー
画像形成装置
6日前
株式会社リコー
液体塗布装置
10日前
株式会社リコー
画像形成装置
9日前
株式会社リコー
画像形成装置
25日前
株式会社リコー
画像形成装置
24日前
株式会社リコー
画像形成装置
17日前
株式会社リコー
生体情報測定装置
3日前
株式会社リコー
拡張アンテナ装置
9日前
株式会社リコー
画像形成システム
2日前
株式会社リコー
画像投射システム
17日前
株式会社リコー
印刷応答補償機構
10日前
株式会社リコー
投薬管理システム
25日前
株式会社リコー
情報処理システム
27日前
株式会社リコー
マーキングシステム
9日前
株式会社リコー
液体を吐出する装置
3日前
株式会社リコー
電極及びその製造方法
6日前
株式会社リコー
電極及びその製造方法
4日前
株式会社リコー
測定装置および測定方法
26日前
株式会社リコー
測定装置および測定方法
26日前
株式会社リコー
測定装置および測定方法
26日前
株式会社リコー
多孔質構造体の製造方法
6日前
株式会社リコー
定着装置及び画像形成装置
10日前
株式会社リコー
定着装置及び画像形成装置
16日前
株式会社リコー
センサ素子及びセンサアレイ
16日前
株式会社リコー
センサ素子及びセンサアレイ
16日前
株式会社リコー
パルスバルブおよび塗布装置
6日前
株式会社リコー
樹脂粒子およびその製造方法
25日前
株式会社リコー
液体塗布装置および洗浄方法
6日前
株式会社リコー
塗装システム、及び塗装方法
6日前
続きを見る
他の特許を見る