TOP
|
特許
|
意匠
|
商標
特許ウォッチ
Twitter
他の特許を見る
10個以上の画像は省略されています。
公開番号
2025144510
公報種別
公開特許公報(A)
公開日
2025-10-02
出願番号
2024197448
出願日
2024-11-12
発明の名称
サポータ構造体を含む極低温液体貯蔵タンク
出願人
ジョンウ イーエヌイー カンパニー リミテッド
代理人
個人
主分類
F17C
13/08 20060101AFI20250925BHJP(ガスまたは液体の貯蔵または分配)
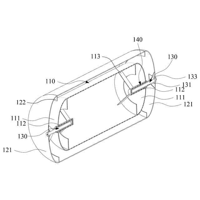
要約
【課題】サポータを通じて内槽タンクを安定的に支持して内槽タンクと外槽タンクとの間の間隔を一定に維持して緩衝の役割を果たすようにし、内槽タンクとの接触面積を減らして熱の出入りを最小化して真空断熱性能を向上させることができるサポータ構造体を含む極低温液体貯蔵タンクを提供すること。
【解決手段】両側が半球形状の内槽側板111で形成され、内槽側板111の中央領域に内側へ湾入された引込溝112が形成され、極低温液体を貯蔵する内槽タンク110、内槽タンク110の外側をカバーするように形成され、両側が半球形状の外槽側板121で形成された外槽タンク120、外槽側板121の内側の中央領域に引込溝に引き込まれ、内槽タンク110を支持するように延長形成されたサポータ130、及び引込溝112とサポータ130との接触領域に介在されたMLI(Multi-Layer Insulation)を含む。
【選択図】図3
特許請求の範囲
【請求項1】
両側が半球形状の内槽側板で形成され、前記内槽側板の中央領域に内側へ湾入された引込溝が形成され、極低温液体を貯蔵する内槽タンクと、
前記内槽タンクの外側をカバーするように形成され、両側が半球形状の外槽側板で形成された外槽タンクと、
前記外槽側板の内側の中央領域に前記引込溝に引き込まれ、前記内槽タンクを支持するように延びたサポータと、
前記引込溝と前記サポータとの接触領域に介在されたMLI(Multi-Layer Insulation)と、を含む
ことを特徴とするサポータ構造体を含む極低温液体貯蔵タンク。
続きを表示(約 1,000 文字)
【請求項2】
前記サポータの一側に、前記内槽タンクと前記外槽タンクとの間に真空を形成するための真空ホールが貫通形成される
請求項1に記載のサポータ構造体を含む極低温液体貯蔵タンク。
【請求項3】
前記サポータの外側には、前記真空ホールと連通した真空ポートが形成され、前記真空ポートに真空ポンプを連結するようにする
請求項2に記載のサポータ構造体を含む極低温液体貯蔵タンク。
【請求項4】
前記サポータは、
前記外槽タンクの内側に形成されるブラケットによって支持される
請求項1に記載のサポータ構造体を含む極低温液体貯蔵タンク。
【請求項5】
前記外槽タンクの内周面には、バックリング(buckling)の発生を抑制する補強ピンが形成される
請求項1に記載のサポータ構造体を含む極低温液体貯蔵タンク。
【請求項6】
前記引込溝の外側面と前記内槽タンクの内周面との間に支持台が結合される
請求項1に記載のサポータ構造体を含む極低温液体貯蔵タンク。
【請求項7】
前記サポータは、矩形波形状又はコ字状と逆コ字状の連続する形状の断面構造からなり、
前記MLIは、前記サポータの形状に相応して前記引込溝と前記サポータとの接触領域に形成される
請求項1に記載のサポータ構造体を含む極低温液体貯蔵タンク。
【請求項8】
前記サポータの外周面には、竜巻状の凹溝が長手方向に延長形成され、
前記MLIは、前記サポータの形状に相応して前記引込溝と前記サポータとの接触領域に形成される
請求項1に記載のサポータ構造体を含む極低温液体貯蔵タンク。
【請求項9】
前記サポータは、前端が閉鎖されたパイプ形状に形成され、
前記サポータの断面は、凹凸構造からなり、
前記MLIは、前記サポータの凹凸構造の形状に相応して前記引込溝と前記サポータとの接触領域に形成される
請求項1に記載のサポータ構造体を含む極低温液体貯蔵タンク。
【請求項10】
前記MLIの終端は、
フランジタイプのブッシュによって固定されるようにする
請求項1に記載のサポータ構造体を含む極低温液体貯蔵タンク。
発明の詳細な説明
【技術分野】
【0001】
本発明は、サポータ構造体を含む極低温液体貯蔵タンクに関し、詳しくは、熱の出入りを最小化して断熱性能を最大化するサポータ構造体を含む極低温液体貯蔵タンクに関し、より詳しくは、サポータを通じて内槽タンクを安定的に支持して内槽タンクと外槽タンクとの間の間隔を一定に維持して緩衝の役割を果たすようにし、内槽タンクとの接触面積を減らして熱の出入りを最小化して真空断熱性能を向上させることができるサポータ構造体を含む極低温液体貯蔵タンクに関する。
続きを表示(約 1,400 文字)
【背景技術】
【0002】
通常、液化天然ガス貯蔵タンクの構造は、-162℃以下の温度で高くない圧力で貯蔵が可能であるが、液化水素は、液化天然ガスに比べてより低温で加圧が必要であるので、既存に知られている液化天然ガスの貯蔵技術よりも厳しい解決策が必要である。
【0003】
即ち、液化水素は、液化温度が-253℃で極低温の液化天然ガスよりも更に低い液化温度を持つ低沸点特性を有するので、液化天然ガスよりも気化がより促進され易く、体積当たりの蒸発率(BOR:Boil-Off Rate)は、液化天然ガスの10倍に達する。
【0004】
一方、液化水素を貯蔵する装置は、球形状の外槽タンク、外槽タンクの内部に収容され、液化水素を貯蔵する球形状の内槽タンク、及び内槽タンクと外槽タンクとの間を支持するサポータで構成される。
【0005】
しかし、従来の液化水素貯蔵装置は、内槽タンクの垂直移動、水平移動、回転などの流動を抑制する機能が弱く、内槽タンクが流動した場合、再び元の位置に復帰させる機能も備えていないなど構造的安定性が確保されていないという問題があり、内槽タンクと外槽タンクとの間に多数配置されるサポータを通じて外槽タンクから内槽タンクへの熱侵入が行われ、断熱性能が低下するという問題がある。
【0006】
これにより、サポータを通じた熱の出入りを最小化し、内槽タンクにおける極低温液体の流動を最小化できる技術が要求される。
【先行技術文献】
【特許文献】
【0007】
韓国登録特許公報第10-2623433号(船舶用液化水素燃料タンク、これに用いられる連結部サポートシステム、効率が向上した防波板及び断熱性能の向上のための蒸気冷却遮断膜、2024.01.12.公告)
韓国公開特許公報第10-2023-0143655号(液化水素タンク支持装置、2023.10.13.)
【発明の概要】
【発明が解決しようとする課題】
【0008】
本発明は上記事情に鑑みてなされたものであって、その目的は、サポータを通じて内槽タンクを安定的に支持して内槽タンクと外槽タンクとの間の間隔を一定に維持して緩衝の役割を果たすようにし、内槽タンクとの接触面積を減らして熱の出入りを最小化して真空断熱性能を向上させることができるサポータ構造体を含む極低温液体貯蔵タンクを提供することにある。
【課題を解決するための手段】
【0009】
前述した目的を達成するために、本発明の実施例は、両側が半球形状の内槽側板で形成され、前記内槽側板の中央領域に内側へ湾入された引込溝が形成され、極低温液体を貯蔵する内槽タンクと、前記内槽タンクの外側をカバーするように形成され、両側が半球形状の外槽側板で形成された外槽タンクと、前記外槽側板の内側の中央領域に前記引込溝に引き込まれ、前記外槽タンクを支持するように延びたサポータと、前記引込溝と前記サポータとの接触領域に介在されたMLI(Multi-Layer Insulation)とを含むサポータ構造体を含む極低温液体貯蔵タンクを提供する。
【0010】
ここで、前記サポータの一側に、前記内槽タンクと前記外槽タンクとの間に真空を形成するための真空ホールが貫通形成されることができる。
(【0011】以降は省略されています)
この特許をJ-PlatPat(特許庁公式サイト)で参照する
関連特許
株式会社石井鐵工所
低温タンクの揚液装置
3か月前
株式会社石井鐵工所
低温タンクの揚液装置
5か月前
川崎重工業株式会社
竪型タンク
4か月前
川崎重工業株式会社
三重殻タンク
7か月前
川崎重工業株式会社
三重殻タンク
7か月前
川崎重工業株式会社
極低温流体用配管設備
2日前
株式会社神戸製鋼所
ガス供給システム
10か月前
トヨタ自動車株式会社
水素タンク
3か月前
大日本印刷株式会社
ガス充填容器
8か月前
川崎重工業株式会社
液化ガス貯蔵タンク
8か月前
川崎重工業株式会社
液化水素貯蔵タンク
8か月前
川崎重工業株式会社
液化水素貯蔵タンク
8か月前
株式会社タツノ
充填ノズル
21日前
株式会社タツノ
充填ノズル
1か月前
帝人株式会社
繊維補強圧力容器及びその製造方法
2か月前
トヨタ自動車株式会社
水素充填装置
4か月前
岩谷産業株式会社
燃料ガス充填設備
11日前
那須電機鉄工株式会社
水素吸蔵合金タンク
8か月前
川崎重工業株式会社
低温流体の移送システム
4か月前
豊田合成株式会社
圧力容器
6か月前
株式会社神戸製鋼所
水素吸蔵合金容器
2か月前
トヨタ自動車株式会社
水素消費システム
3か月前
川崎重工業株式会社
再液化装置
8か月前
トヨタ自動車株式会社
水素消費システム
4か月前
トヨタ自動車株式会社
タンクモジュール
6か月前
清水建設株式会社
水素貯蔵供給システム
7か月前
川崎重工業株式会社
三重殻タンクのパージ方法
7か月前
オリオン機械株式会社
燃料供給装置および発電システム
5か月前
トヨタ自動車株式会社
カートリッジタンク
5か月前
トヨタ自動車株式会社
水素タンクシステム
4か月前
オリオン機械株式会社
燃料供給装置および発電システム
4か月前
JFEエンジニアリング株式会社
エネルギー貯蔵システム
3か月前
JFEエンジニアリング株式会社
エネルギー貯蔵システム
2か月前
JFEエンジニアリング株式会社
エネルギー貯蔵システム
3か月前
JFEエンジニアリング株式会社
エネルギー貯蔵システム
2か月前
JFEエンジニアリング株式会社
エネルギー貯蔵システム
2か月前
続きを見る
他の特許を見る