TOP
|
特許
|
意匠
|
商標
特許ウォッチ
Twitter
他の特許を見る
公開番号
2025145202
公報種別
公開特許公報(A)
公開日
2025-10-03
出願番号
2024045266
出願日
2024-03-21
発明の名称
舗装用補修材
出願人
三井住建道路株式会社
,
株式会社尾関
,
化成工業株式会社
代理人
弁理士法人東名国際特許事務所
主分類
E01C
7/35 20060101AFI20250926BHJP(道路,鉄道または橋りょうの建設)
要約
【課題】簡易な作業、かつ、短時間及び低コストで舗装面の補修を実施し、耐久性に優れた舗装用補修材の提供を課題とするものである。
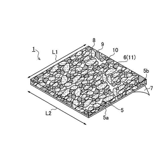
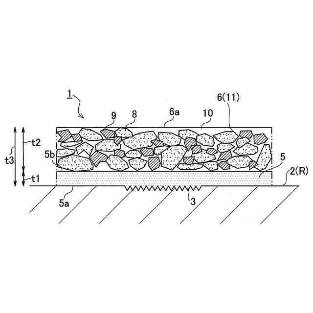
【解決手段】補修材1は、舗装面と粘着可能なブチルゴムを含有し、層状に成形加工されたブチルゴム層5と、ゴムチップ材8、骨材9、及びバインダ10を混合したゴムチップ混合物11を含有し、層状に成形加工され、ブチルゴム層5の層上面5bに積重されたゴムチップ層6とを具備し、ゴムチップ材8と骨材9との混合割合は、重量比で60:40~90:10の範囲であり、ゴムチップ材8とバインダ10との混合割合は、重量比で70:30~90:10の範囲である。
【選択図】図1
特許請求の範囲
【請求項1】
舗装面と粘着可能な粘着成分を含有し、層状に成形加工された粘着層と、
ゴムチップ材、骨材、及びバインダを混合したゴムチップ混合物を含有し、層状に成形加工され、前記粘着層の層上面に積重されたゴムチップ層と
を具備し、
前記ゴムチップ材と前記骨材との混合割合は、
重量比で60:40~90:10の範囲であり、
前記ゴムチップ材と前記バインダとの混合割合は、
重量比で70:30~90:10の範囲である舗装用補修材。
続きを表示(約 470 文字)
【請求項2】
前記ゴムチップ材のチップ径は、
2mm未満に設定され、かつ、
前記ゴムチップ材の前記チップ径と前記骨材の骨材粒径との粒径比は、
2:1~1:2の範囲である請求項1に記載の舗装用補修材。
【請求項3】
前記粘着層の粘着層厚さと前記ゴムチップ層のゴムチップ層厚さとの層厚さ比が、2.5:1~4:1の範囲であり、かつ、
前記粘着層厚さ及び前記ゴムチップ層厚さの合計が4mm以下に設定される請求項1または2に記載の舗装用補修材。
【請求項4】
前記粘着層及び前記ゴムチップ層により形成される補修材側端面は、
前記粘着層の層下面端部から前記ゴムチップ層の中心に向かって斜め上方に傾斜したテーパー部を有する請求項1または2に記載の舗装用補修材。
【請求項5】
前記粘着成分は、
ブチルゴムである請求項1または2に記載の舗装用補修材。
【請求項6】
歩道の前記舗装面の補修に使用される請求項1または2に記載の舗装用補修材。
発明の詳細な説明
【技術分野】
【0001】
本発明は、舗装用補修材に関する。更に詳しくは、道路の舗装面に生じたひび割れ等の補修箇所を補修するための舗装用補修材に関する。
続きを表示(約 1,800 文字)
【背景技術】
【0002】
従来、アスファルト舗装やコンクリート舗装等の道路の舗装面に、経年的な使用等の種々の要因によって劣化が生じ、亀裂、凹凸、及び、ひび割れ等の損傷が発生することが知られている。これらの損傷をそのまま放置した場合、アスファルト等の舗装面の表層部分が剥がれ落ちたり、道路が陥没したりする可能性があり、大きくなった凹凸や段差等によって車両による安全な走行が困難となり、交通事故を誘発する原因となることがあった。更に、生じた段差によって歩行者が躓き、転倒する等の危険性があった。
【0003】
そこで、上記のような舗装面の損傷を確認した場合、速やかに損傷箇所の補修を道路管理者等が実施する必要がある。例えば、損傷箇所及びその周囲の舗装面を含む範囲を除去し、新たに舗装面を形成するオーバーレイ工法による補修が実施されたり、或いは、損傷箇所の応急補修として、アスファルト及び骨材が予め混合されたアスファルト系常温合材を用いて損傷箇所を埋め、当該アスファルト系常温合材で損傷箇所の空隙を充填した状態にして上方から圧力を加えて押し固める処理が一般的に実施されている。
【0004】
しかしながら、オーバーレイ工法の場合、損傷箇所及びその周囲を大きく除去する必要があり、重機等を用いる等の補修作業自体が大掛かりなものとなった。そのため、多くの作業人員を必要とし、補修作業に多くの作業時間を要し、かつ、作業コストも嵩むこととなった。そのため、損傷箇所が狭い範囲に限定される場合には、オーバーレイ工法を実施することが困難であった。
【0005】
一方、アスファルト系常温合材を用いた補修は、比較的簡易な作業で実施することも可能であり、作業人員、作業時間、及び作業コストもオーバーレイ工法に比べて抑えることができた。そのため、損傷箇所が狭い範囲であっても十分に対応することができた。
【0006】
しかしながら、損傷箇所にアスファルト系常温合材を充填し、上方から押し固めただけの処理であるため、補修箇所の耐久性が十分でない可能性があった。その結果、補修箇所の上を更に車両が走行したり、歩行者が通過することで、比較的短期間で再び舗装面に損傷が発生する可能性があり、同じ場所に対して補修作業を繰り返して実施する可能性もあった。
【0007】
上記説明した通り、オーバーレイ工法或いはアスファルト系常温合材を用いた応急補修の実施のいずれにおいてもそれぞれ長所及び短所が認められた。そこで、補修作業を比較的簡易に実施することができ、作業コスト等が嵩むことなく、かつ、耐久性に優れた道路の舗装面の補修を行うことが可能な舗装用補修材についての提案がなされている。
【0008】
例えば、セメント及びその他成分を含有するセメント組成物と、当該セメント組成物を急結させる急結剤とを用い、損傷箇所を覆うようにセメント組成物を上から被せ、その上から急結剤を掛ける舗装の補修方法が提案されている(特許文献1参照)。かかる補修方法により、作業性に優れ、かつ、強度の早期発現性及び耐久性に優れた舗装の補修を実施することができる。
【0009】
一方、アスファルトと、細骨材と、粗骨材とを加熱混練したアスファルト混合物を予め規定さらたサイズのマット状に成形加工したマット型アスファルト混合物舗装補修材(特許文献2参照)、或いは、アスファルト混合物をマット状に成形したマット状補修材本体と、当該マット状補修材本体の下側に設けられ、補修面(接着面)に自着可能な粘着層と、粘着層の下面に貼り付けられた剥離シートとを備えたマット型補修材(特許文献3参照)の補修材、及び当該補修材を用いた補修方法が提案されている。
【0010】
特許文献2に示されたマット型アスファルト混合物舗装補修材の場合、加熱混練されたアスファルト混合物の表面に更に骨材を撒布することで、車両が走行した際に加わる荷重によっても破壊や破断等のない柔軟性や弾性を有し、かつ、撒布された骨材によって補修材自体の変形を防ぎ、かつ、車両のタイヤに対する適度な摩擦を生じさせることで、雨天時等の雨水が補修材の上に溜まった状態でも、タイヤのグリップ力を発揮させ、安定した車両の走行を可能とすることができる。
(【0011】以降は省略されています)
この特許をJ-PlatPat(特許庁公式サイト)で参照する
関連特許
個人
折り畳み式標識具
1日前
GX株式会社
仮設防護体
23日前
日本精機株式会社
路面投影装置
1か月前
株式会社熊谷組
床版接合構造
4日前
北越消雪機械工業株式会社
消雪装置
1日前
範多機械株式会社
路面切削機
1か月前
GX株式会社
昇降式仮設防護体
14日前
GX株式会社
仮設防護体連結構造
1か月前
前田工繊株式会社
防護柵
16日前
株式会社熊谷組
床版継手装置、及び、床版
4日前
浅香工業株式会社
レーキ
11日前
中井商工株式会社
橋梁の桁端止水工法
4日前
株式会社幸和道路
自走式道路路面標示文字描画車両
22日前
株式会社トップ
立て看板用スロープおよび立て看板
1か月前
株式会社三共
足場用移動屋根装置及び橋梁用足場
24日前
十武建設株式会社
舗装材吹付け装置、および吹付け施工方法
22日前
株式会社NIPPO
コンクリートスタッカ
今日
株式会社NIPPO
法面機械
14日前
共和ゴム株式会社
床版敷設シール材
28日前
酒井重工業株式会社
振動ローラ
1か月前
株式会社大林組
新設床版の設置工法
1か月前
株式会社栗本鐵工所
検査路及びステップ
1か月前
東日本旅客鉄道株式会社
横取り方法
今日
日本環境アメニティ株式会社
吊下げ式減音装置及び高架橋
1か月前
株式会社NIPPO
路面切削装置及び路面切削方法
1か月前
株式会社NIPPO
法面作業装置
14日前
株式会社NIPPO
法面作業装置
14日前
五洋建設株式会社
床版部材設置装置及び床版部材の設置方法
22日前
株式会社NIPPO
コンクリート舗装の施工方法
4日前
株式会社NIPPO
半たわみ性舗装及びその施工方法
1か月前
大成建設株式会社
床版接合部の設計方法
4日前
株式会社NIPPO
再生アスファルト混合物の製造方法
22日前
株式会社NIPPO
再生アスファルト混合物の製造方法
1か月前
株式会社奥村組
鉄筋コンクリート柱の補強工法
1か月前
株式会社奥村組
鉄筋コンクリート柱の補強工法
1か月前
株式会社NIPPO
再生アスファルト混合物の製造方法
22日前
続きを見る
他の特許を見る