TOP
|
特許
|
意匠
|
商標
特許ウォッチ
Twitter
他の特許を見る
公開番号
2025145268
公報種別
公開特許公報(A)
公開日
2025-10-03
出願番号
2024045358
出願日
2024-03-21
発明の名称
回路基板
出願人
古河電気工業株式会社
代理人
弁理士法人酒井国際特許事務所
主分類
H05K
1/02 20060101AFI20250926BHJP(他に分類されない電気技術)
要約
【課題】多層構造の回路基板に差動信号ライン対を形成する場合、誘電率が変化する場所に差動信号ラインが形成されることや製造誤差に起因するスキューの発生を抑えることができる回路基板を提供する。
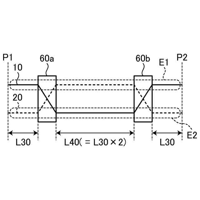
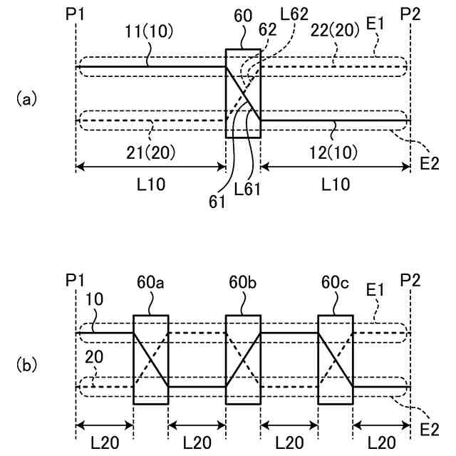
【解決手段】差動信号ライン対は、同一絶縁層上に形成されたストリップライン構成の第1の信号ライン10及び第2の信号ライン20であり、第1の信号ライン10と第2の信号ライン20は、途中において1以上、ライン入れ替えの電極パターン14,24を用いた交差部61,62を介してライン入れ替えを行い、交差部61,62を介した第1の信号ライン10の長さと交差部62を介した第2の信号ライン20の長さの合計値は同じであり、交差部60により区分される奇数番目の信号ライン間隔長さの合計長さと、偶数番目の信号ライン間隔長さの合計長さとは同じである。
【選択図】図1
特許請求の範囲
【請求項1】
差動信号ライン対よりなる伝送線路が形成される回路基板であって、
前記差動信号ライン対は、
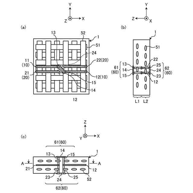
同一絶縁層上に形成されたストリップライン構成の第1の信号ライン及び第2の信号ラインであり、
前記第1の信号ラインと前記第2の信号ラインは、途中において1以上、ライン入れ替え電極パターンを用いた交差部を介してライン入れ替えを行い、
前記交差部を介した前記第1の信号ラインの長さと前記交差部を介した前記第2の信号ラインの長さの合計値は同じであり、前記交差部により区分される奇数番目の信号ライン間隔長さの合計長さと、偶数番目の信号ライン間隔長さの合計長さとは同じであることを特徴とする回路基板。
続きを表示(約 540 文字)
【請求項2】
差動信号ライン対よりなる伝送線路が形成される回路基板であって、
前記差動信号ライン対は、
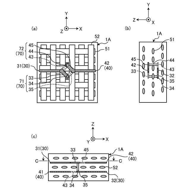
少なくとも2層以上の内層に配置されブロードサイドカップリング構成の第1の信号ライン及び第2の信号ラインであり、
前記第1の信号ラインと前記第2の信号ラインは、途中において1以上、ライン入れ替え電極パターンを用いた交差部を介して層間のライン入れ替えを行い、
前記交差部を介した前記第1の信号ラインの長さと前記交差部を介した前記第2の信号ラインの長さの合計値は同じであり、前記交差部により区分される奇数番目の信号ライン間隔長さの合計長さと、偶数番目の信号ライン間隔長さの合計長さとは同じであることを特徴とする回路基板。
【請求項3】
前記交差部の数は奇数であり、
ライン端を含めた前記交差部の間の信号ライン間隔長さは等しいことを特徴とする請求項1又は2に記載の回路基板。
【請求項4】
前記回路基板は、繊維と前記繊維間に充填された絶縁材と有した絶縁層による多層構造であり、前記第1の信号ライン及び前記第2の信号ラインは、前記絶縁層上に形成されることを特徴とする請求項1又は2に記載の回路基板。
発明の詳細な説明
【技術分野】
【0001】
本発明は、多層構造の回路基板に差動信号ライン対を形成する場合、誘電率が変化する場所に差動信号ラインが形成されることや製造誤差に起因するスキューの発生を抑えることができる回路基板に関する。
続きを表示(約 1,900 文字)
【背景技術】
【0002】
近年、信号伝送の高速化が進み、それらの信号伝送にはGHz帯の信号が使用される。このような高速な信号が伝送する伝送線路を備えた回路基板を設計する場合、同相ノイズ耐性の高い、差動配線信号伝送が有用であり、幅広く利用されている。例えば、特許文献1に記載された光トランシーバを備えた光通信装置におけるスイッチ装置などの回路基板では差動配線信号伝送が行われる。
【0003】
差動信号は、理想的には、180度の位相差あるいは正負に逆転したデータを2つの伝送経路を用いて伝送され、同相ノイズが互いに打ち消し合うことを特徴としている。差動伝送では2つの信号経路で180度位相差もしくは正負逆転した信号を伝送することになるが、その信号経路長に差分が生じると送信端でタイミングが揃った信号を伝送しても受信端で正負データの到着タイミングに差分が生じ、結果同相成分が増加し、信号品質の劣化を招くことになる。したがって、差動配線においては、正負の信号間のスキュー(位相差)の調整が重要となる。この差動信号の構造には、ストリップ、マイクロストリップ、ブロードサイドカップリングなどがある。特許文献2では、ストリップ構造を用いている。
【先行技術文献】
【特許文献】
【0004】
特開2020-027147号公報
特開2022-007340号公報
【発明の概要】
【発明が解決しようとする課題】
【0005】
ところで、差動信号ライン対は、回路基板として多層絶縁体が用いられることが多い。例えば、回路基板としては繊維とこの繊維間に充填された絶縁材と有した絶縁層による多層構造とする場合がある。この場合、繊維方向と信号ライン方向との違いや、信号ラインが繊維間か繊維上かによって絶縁体の実効誘電率が変化し、信号ライン対間でスキューが発生する場合がある。ストリップラインを用いた差動伝送では、回路基板の面方向に信号ライン対が広がるため、スキューの発生が問題となる。
【0006】
一方、差動信号ライン対をブロードサイドカップリング構造とする場合、信号ラインが曲がってもスキューが生じないが、この場合も、製造誤差で、層間で誘電率が異なったり、層間でライン線幅が異なったりする製造誤差が生じたりする。この結果、信号ライン対間でスキューが発生する場合がある。
【0007】
本発明は、上記に鑑みてなされたものであって、多層構造の回路基板に差動信号ライン対を形成する場合、誘電率が変化する場所に差動信号ラインが形成されることや製造誤差に起因するスキューの発生を抑えることができる回路基板を提供することを目的とする。
【課題を解決するための手段】
【0008】
上述した課題を解決し、目的を達成するために、本発明にかかる回路基板は、差動信号ライン対よりなる伝送線路が形成される回路基板であって、前記差動信号ライン対は、同一絶縁層上に形成されたストリップライン構成の第1の信号ライン及び第2の信号ラインであり、前記第1の信号ラインと前記第2の信号ラインは、途中において1以上、ライン入れ替え電極パターンを用いた交差部を介してライン入れ替えを行い、前記交差部を介した前記第1の信号ラインの長さと前記交差部を介した前記第2の信号ラインの長さの合計値は同じであり、前記交差部により区分される奇数番目の信号ライン間隔長さの合計長さと、偶数番目の信号ライン間隔長さの合計長さとは同じであることを特徴とする。
【0009】
また、本発明にかかる回路基板は、差動信号ライン対よりなる伝送線路が形成される回路基板であって、前記差動信号ライン対は、少なくとも2層以上の内層に配置されブロードサイドカップリング構成の第1の信号ライン及び第2の信号ラインであり、前記第1の信号ラインと前記第2の信号ラインは、途中において1以上、ライン入れ替え電極パターンを用いた交差部を介して層間のライン入れ替えを行い、前記交差部を介した前記第1の信号ラインの長さと前記交差部を介した前記第2の信号ラインの長さの合計値は同じであり、前記交差部により区分される奇数番目の信号ライン間隔長さの合計長さと、偶数番目の信号ライン間隔長さの合計長さとは同じであることを特徴とする。
【0010】
また、本発明にかかる回路基板は、上記の発明において、前記交差部の数は奇数であり、ライン端を含めた前記交差部の間の信号ライン間隔長さは等しいことを特徴とする。
(【0011】以降は省略されています)
この特許をJ-PlatPat(特許庁公式サイト)で参照する
関連特許
古河電気工業株式会社
回路基板
1日前
古河電気工業株式会社
回路基板
4日前
古河電気工業株式会社
回路基板
1日前
古河電気工業株式会社
多層基板
18日前
古河電気工業株式会社
排水構造
4日前
古河電気工業株式会社
固定構造体
5日前
古河電気工業株式会社
電気接続箱
20日前
古河電気工業株式会社
グロメット
29日前
古河電気工業株式会社
電気接続箱
4日前
古河電気工業株式会社
電源システム
20日前
古河電気工業株式会社
複合ケーブル
4日前
古河電気工業株式会社
架橋樹脂発泡体
8日前
古河電気工業株式会社
通信用ケーブル
18日前
古河電気工業株式会社
通信用ケーブル
8日前
古河電気工業株式会社
マルチコアファイバ
26日前
古河電気工業株式会社
バッテリーポスト端子組立体
4日前
古河電気工業株式会社
銅系導体、撚線導体および電線
27日前
古河電気工業株式会社
端子カバー構造及び電気接続箱
5日前
古河電気工業株式会社
筐体、プロテクタ及び電気接続箱
27日前
古河電池株式会社
双極型蓄電池
12日前
古河電気工業株式会社
検出装置、検出方法及びプログラム
5日前
個人
RoFネットワークシステム
19日前
個人
光ファイバおよび光通信システム
26日前
古河電気工業株式会社
固定部材及び固定部材付ワイヤーハーネス
26日前
古河電気工業株式会社
プログラム、無線通信システム及び通信方法
8日前
古河電気工業株式会社
センサユニット、電力ケーブル及び測定システム
5日前
古河電気工業株式会社
波長可変レーザ装置及び波長可変レーザ装置の制御方法
28日前
古河電気工業株式会社
マルチコアファイバおよびマルチコアファイバの製造方法
4日前
古河電気工業株式会社
シールド電線の端末構造、端子付き電線およびコネクタ付き電線
27日前
古河電気工業株式会社
シールド電線の端末構造、端子付き電線およびコネクタ付き電線
27日前
古河電気工業株式会社
シールド電線の端末構造、端子付き電線およびコネクタ付き電線
27日前
古河電気工業株式会社
シールド電線の端末構造、端子付き電線およびコネクタ付き電線
27日前
古河電気工業株式会社
ケーブルコネクタ組立体及びケーブルコネクタ組立体を用いた回転コネクタ装置
4日前
古河電気工業株式会社
バンドル構造、バンドル構造とマルチコアファイバの光接続構造及び光接続方法
11日前
古河電気工業株式会社
シールド電線の端末構造及びその形成方法、並びに端子付き電線及びコネクタ付き電線
27日前
古河電気工業株式会社
シールド電線の端末構造及びその形成方法、並びに端子付き電線及びコネクタ付き電線
27日前
続きを見る
他の特許を見る