TOP
|
特許
|
意匠
|
商標
特許ウォッチ
Twitter
他の特許を見る
10個以上の画像は省略されています。
公開番号
2025133692
公報種別
公開特許公報(A)
公開日
2025-09-11
出願番号
2025004497
出願日
2025-01-14
発明の名称
マルチコアファイバ
出願人
古河電気工業株式会社
代理人
弁理士法人酒井国際特許事務所
主分類
G02B
6/44 20060101AFI20250904BHJP(光学)
要約
【課題】短い条長であっても高次モードの伝搬を抑制できるマルチコアファイバを提供すること。
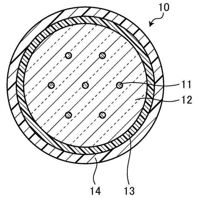
【解決手段】マルチコアファイバは、ガラスからなる複数のコア部と、ガラスからなり、複数の前記コア部の外周を取り囲むクラッド部と、樹脂からなり、前記クラッド部の外周を取り囲むプライマリ層と、樹脂からなり、前記プライマリ層の外周を取り囲むセカンダリ層と、を備え、前記クラッド部の平均屈折率に対する、前記コア部の最大比屈折率差をΔとすると、Δは0.2%以上0.5%以下であり、前記コア部のコア径が4.0μm以上15μm以下であり、前記クラッド部のクラッド径が125μm以上であり、前記セカンダリ層の厚さに対する前記プライマリ層の厚さの比が0.35以下であり、2m未満の条長で測定した場合のカットオフ波長が1530nm未満であり、前記条長で測定した場合のカットオフ波長が1260nm以上である。
【選択図】図1
特許請求の範囲
【請求項1】
ガラスからなる複数のコア部と、
ガラスからなり、複数の前記コア部の外周を取り囲むクラッド部と、
樹脂からなり、前記クラッド部の外周を取り囲むプライマリ層と、
樹脂からなり、前記プライマリ層の外周を取り囲むセカンダリ層と、
を備え、
前記クラッド部の平均屈折率に対する、前記コア部の最大比屈折率差をΔとすると、Δは0.2%以上0.5%以下であり、
前記コア部のコア径が4.0μm以上15μm以下であり、
前記クラッド部のクラッド径が125μm以上であり、
前記セカンダリ層の厚さに対する前記プライマリ層の厚さの比が0.35以下であり、
2m未満の条長で測定した場合のカットオフ波長が1530nm未満であり、
前記条長で測定した場合のカットオフ波長が1260nm以上である
マルチコアファイバ。
続きを表示(約 1,400 文字)
【請求項2】
前記プライマリ層の弾性率が0.75MPa以上である請求項1に記載のマルチコアファイバ。
【請求項3】
ガラスからなる複数のコア部と、
ガラスからなり、複数の前記コア部の外周を取り囲むクラッド部と、
樹脂からなり、前記クラッド部の外周を取り囲むプライマリ層と、
樹脂からなり、前記プライマリ層の外周を取り囲むセカンダリ層と、
を備え、
前記クラッド部の平均屈折率に対する、前記コア部の最大比屈折率差をΔとすると、Δは0.2%以上0.5%以下であり、
前記コア部のコア径が4.0μm以上15μm以下であり、
前記クラッド部のクラッド径が125μm以上であり、
前記セカンダリ層の厚さに対する前記プライマリ層の厚さの比が0.35以下であり、
2m未満の条長で測定した場合のカットオフ波長が1260nm未満であり、
前記条長で測定した場合のカットオフ波長が990nm以上である
マルチコアファイバ。
【請求項4】
前記プライマリ層の弾性率が0.75MPa以上である請求項3に記載のマルチコアファイバ。
【請求項5】
ガラスからなる複数のコア部と、
ガラスからなり、複数の前記コア部の外周を取り囲むクラッド部と、
樹脂からなり、前記クラッド部の外周を取り囲むプライマリ層と、
樹脂からなり、前記プライマリ層の外周を取り囲むセカンダリ層と、
を備え、
前記クラッド部の平均屈折率に対する、前記コア部の最大比屈折率差をΔとすると、Δは0.2%以上0.5%以下であり、
前記コア部のコア径が4.0μm以上15μm以下であり、
前記クラッド部のクラッド径が125μm以上であり、
前記セカンダリ層の厚さに対する前記プライマリ層の厚さの比が0.35以下であり、
2m未満の条長で測定した場合のカットオフ波長が1565nm未満であり、
前記条長で測定した場合のカットオフ波長が1295nm以上である
マルチコアファイバ。
【請求項6】
前記プライマリ層の弾性率が0.75MPa以上である請求項5に記載のマルチコアファイバ。
【請求項7】
条長が2m未満である
請求項1~6のいずれか一つに記載のマルチコアファイバ。
【請求項8】
前記比が0.3未満である
請求項1~6のいずれか一つに記載のマルチコアファイバ。
【請求項9】
前記比が0.25未満である
請求項1~6のいずれか一つに記載のマルチコアファイバ。
【請求項10】
ガラスからなる基準コア部と、ガラスからなり、前記基準コア部の外周を取り囲む基準クラッド部と、樹脂からなり、前記基準クラッド部の外周を取り囲む基準プライマリ層と、樹脂からなり、前記基準プライマリ層の外周を取り囲む基準セカンダリ層と、を備え、前記基準クラッド部のクラッド径が125μmであり、前記基準クラッド部の弾性率が70000MPaであり、前記基準プライマリ層の弾性率が0.5MPaであり、前記基準セカンダリ層の弾性率が1000MPaである基準光ファイバのマイクロベンド損失感度に対する、マイクロベンド損失感度の比が2以上である
請求項1~6のいずれか一つに記載のマルチコアファイバ。
発明の詳細な説明
【技術分野】
【0001】
本発明は、マルチコアファイバに関する。
続きを表示(約 1,600 文字)
【背景技術】
【0002】
光ファイバは、通信線路のような条長が長い用途に用いることが多い。これに対して、光ファイバを光学部品として用いたり光学部品に設けられる光ファイバとして用いたりする場合は、光ファイバの条長を短くする場合もある。また、近年のIoT(Internet of Things)の発展に基づく情報通信の大容量化などから、通信装置内の配線にマルチコアファイバを用いる場合がある。通信装置内の配線の場合も、マルチコアファイバの条長は比較的短い。
【0003】
国際通信連合(ITU)のITU-T G.650.1によれば、光ファイバのカットオフ波長は、その条長を2mに設定して測定した特性によって定めている。しかし、上述したように、光ファイバは、条長を2mよりも短くして用いる場合がある。このような短い光ファイバの場合、カットオフ波長は、条長が2mの場合よりも長波長側にシフトする。その結果、所望の波長帯にて光ファイバが意図せずマルチモードファイバになってしまう場合がある。
【0004】
光ファイバが意図せずマルチモードファイバになってしまうことを防止するためには、高次モードの伝搬を抑制することが有用である。光ファイバにおいて高次モードの伝搬を抑制する技術としては、たとえば特許文献1に開示されるようにトレンチ構造を採用する技術が知られている。
【0005】
また、マルチコアファイバでは、複数のコア部の間でのクロストークが問題になる場合がある。クロストークの問題を解決する場合にもトレンチ構造が使用される(たとえば、特許文献2)。
【先行技術文献】
【特許文献】
【0006】
特開2008-310328号公報
特開2013-54252号公報
【発明の概要】
【発明が解決しようとする課題】
【0007】
しかしながら、特許文献1では複雑なトレンチ構造を採用しており、設計や製造が困難である。また、特許文献2のようなマルチコアファイバの場合、トレンチ構造を採用すると、特にクラッド部の中心軸に近いコア部においてカットオフ波長が長波長側にシフトするという問題が生じる場合がある。また、特許文献2ではコア部の屈折率を高くして高次モードの伝搬を抑制しているが、屈折率を高くした結果クロストークが劣化するおそれがある。したがって、クロストークも考慮した屈折率の設計が必要となり、設計の範囲が狭まる場合がある。
【0008】
本発明は、上記に鑑みてなされたものであって、その目的は、短い条長であっても高次モードの伝搬を抑制できるマルチコアファイバを提供することにある。
【課題を解決するための手段】
【0009】
上述した課題を解決し、目的を達成するために、本発明の一態様は、ガラスからなる複数のコア部と、ガラスからなり、複数の前記コア部の外周を取り囲むクラッド部と、樹脂からなり、前記クラッド部の外周を取り囲むプライマリ層と、樹脂からなり、前記プライマリ層の外周を取り囲むセカンダリ層とを備え、前記クラッド部の平均屈折率に対する、前記コア部の最大比屈折率差をΔとすると、Δは0.2%以上0.5%以下であり、前記コア部のコア径が4.0μm以上15μm以下であり、前記クラッド部のクラッド径が125μm以上であり、前記セカンダリ層の厚さに対する前記プライマリ層の厚さの比が0.35以下であり、2m未満の条長で測定した場合のカットオフ波長が1530nm未満であり、前記条長で測定した場合のカットオフ波長が1260nm以上であるマルチコアファイバである。
【0010】
前記プライマリ層の弾性率が0.75MPa以上でもよい。
(【0011】以降は省略されています)
この特許をJ-PlatPat(特許庁公式サイト)で参照する
関連特許
古河電気工業株式会社
回路基板
1日前
古河電気工業株式会社
排水構造
4日前
古河電気工業株式会社
回路基板
4日前
古河電気工業株式会社
回路基板
1日前
古河電気工業株式会社
電気接続箱
4日前
古河電気工業株式会社
固定構造体
5日前
古河電気工業株式会社
複合ケーブル
4日前
古河電気工業株式会社
架橋樹脂発泡体
8日前
古河電気工業株式会社
通信用ケーブル
8日前
古河電気工業株式会社
バッテリーポスト端子組立体
4日前
古河電気工業株式会社
端子カバー構造及び電気接続箱
5日前
古河電池株式会社
双極型蓄電池
12日前
古河電気工業株式会社
検出装置、検出方法及びプログラム
5日前
古河電気工業株式会社
プログラム、無線通信システム及び通信方法
8日前
古河電気工業株式会社
センサユニット、電力ケーブル及び測定システム
5日前
古河電気工業株式会社
マルチコアファイバおよびマルチコアファイバの製造方法
4日前
古河電気工業株式会社
バンドル構造、バンドル構造とマルチコアファイバの光接続構造及び光接続方法
11日前
古河電気工業株式会社
ケーブルコネクタ組立体及びケーブルコネクタ組立体を用いた回転コネクタ装置
4日前
古河AS株式会社
電線用外装体の蓋体、電線用外装体及び外装体付きワイヤーハーネス
4日前
古河電気工業株式会社
液状シラングラフトオレフィン組成物及びそのシラン架橋硬化物、並びにこれらの製造方法
18日前
カンタツ株式会社
光学系
29日前
キヤノン株式会社
映像表示装置
18日前
アイカ工業株式会社
反射防止フィルム
29日前
アイカ工業株式会社
反射防止フィルム
5日前
インターマン株式会社
立体映像表示装置
18日前
旭化成株式会社
成形体
4日前
個人
透過型及び反射型顕微鏡
18日前
旭化成株式会社
成形体
4日前
日本分光株式会社
赤外顕微鏡
4日前
キヤノン株式会社
画像表示装置
26日前
キヤノン株式会社
画像表示装置
4日前
キヤノン株式会社
レンズ装置および撮像装置
6日前
東レ株式会社
プラスチック光ファイバ
28日前
レーザーテック株式会社
検査装置及び検査方法
8日前
キヤノン株式会社
表示装置
11日前
キヤノン株式会社
光学系及び撮像装置
12日前
続きを見る
他の特許を見る