TOP
|
特許
|
意匠
|
商標
特許ウォッチ
Twitter
他の特許を見る
公開番号
2025147093
公報種別
公開特許公報(A)
公開日
2025-10-06
出願番号
2024045357
出願日
2024-03-21
発明の名称
回路基板
出願人
古河電気工業株式会社
代理人
弁理士法人酒井国際特許事務所
主分類
H05K
1/02 20060101AFI20250926BHJP(他に分類されない電気技術)
要約
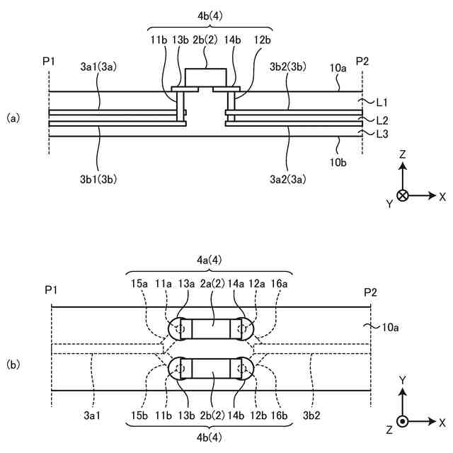
【課題】ブロードサイドカップリング構造の信号ライン対が回路基板の内層に配置され、回路基板の一面を有効活用できる状態で信号ライン対が接続する2点間のスキューを低減することができる回路基板を提供する。
【解決手段】信号ライン対3よりなる伝送線路が形成される回路基板であって、信号ライン対3は、少なくとも2層以上の内層に配置されたブロードサイドカップリング構成の第1の信号ライン3a1,3a2及び第2の信号ライン3b1,3b2であり、第1の信号ライン3a1,3a2及び第2の信号ライン3b1,3b2は、それぞれ2つの点P1,P2間を接続し、2つの点P1,P2間において1回以上、入れ替わる交差部4を有する。
【選択図】図3
特許請求の範囲
【請求項1】
信号ライン対よりなる伝送線路が形成される回路基板であって、
前記信号ライン対は、
少なくとも2層以上の内層に配置されたブロードサイドカップリング構成の第1の信号ライン及び第2の信号ラインであり、
前記第1の信号ライン及び前記第2の信号ラインは、それぞれ2点間を接続し、該2点間において1回以上、入れ替わる交差部を有することを特徴とする回路基板。
続きを表示(約 340 文字)
【請求項2】
前記交差部は、前記回路基板の一方の面に形成された第3の信号ラインと、前記回路基板の前記一方の面に形成された第4の信号ラインとを有し、前記第3の信号ラインは前記第1の信号ラインに対して異なる高さビア対を介して接続され、前記第4の信号ラインは前記第2の信号ラインに対して異なる高さのビア対を介して接続されることを特徴とする請求項1に記載の回路基板。
【請求項3】
前記第3の信号ライン及び/又は前記第4の信号ラインは、内層に配置されることを特徴とする請求項2に記載の回路基板。
【請求項4】
前記第3の信号ライン及び前記第4の信号ラインはそれぞれ電子部品を搭載した電極パターンを有することを特徴とする請求項2に記載の回路基板。
発明の詳細な説明
【技術分野】
【0001】
本発明は、ブロードサイドカップリング構造の信号ライン対が回路基板の内層に配置され、回路基板の一面を有効活用できる状態で信号ライン対が接続する2点間のスキューを低減することができる回路基板に関する。
続きを表示(約 1,600 文字)
【背景技術】
【0002】
近年、信号伝送の高速化が進み、それらの信号伝送にはGHz帯の信号が使用される。このような高速な信号が伝送する伝送線路を備えた回路基板を設計する場合、同相ノイズ耐性の高い、差動配線信号伝送が有用であり、幅広く利用されている。例えば、特許文献1に記載された光トランシーバを備えた光通信装置におけるスイッチ装置などの回路基板では差動配線信号伝送が行われる。
【0003】
差動信号は、理想的には、180度の位相差あるいは正負に逆転したデータを2つの伝送経路を用いて伝送され、同相ノイズが互いに打ち消し合うことを特徴としている。差動伝送では2つの信号経路で180度位相差もしくは正負逆転した信号を伝送することになるが、その信号経路長に差分が生じると送信端でタイミングが揃った信号を伝送しても受信端で正負データの到着タイミングに差分が生じ、結果同相成分が増加し、信号品質の劣化を招くことになる。したがって、差動配線においては、正負の信号間のスキュー(位相差)の調整が重要となる。この差動信号の構造には、ストリップ、マイクロストリップ、ブロードサイドカップリングなどがある。特許文献2では、ストリップ構造を用いている。
【先行技術文献】
【特許文献】
【0004】
特開2020-027147号公報
特開2022-007340号公報
国際公開第2022/003904号
【発明の概要】
【発明が解決しようとする課題】
【0005】
ところで、ストリップラインを用いた差動伝送では、回路基板の面方向に信号ライン対が広がるため、回路基板の面方向における面積が大きくなるとともに、信号ライン対を曲げて配線すると伝送路長が異なるため、スキューが生じ、そのスキュー対策のために短い信号ライン側に冗長線路を設ける必要がある。
【0006】
一方、信号ライン対をブロードサイドカップリング構造とする場合、信号ラインが曲がってもスキューが生じず、回路基板の面方向の占有面積が1つの信号ラインのみでよいため、配線構造を高密度化することができる。
【0007】
しかし、ブロードサイドカップリング構造の信号ライン対は、回路基板の厚さ方向の深さが異なる位置に形成されるため、回路基板の面に形成された電子部品間を接続する場合、必ずスキューが発生する。
【0008】
なお、特許文献3には、回路基板の内層に形成された差動信号対を接続する一端を回路基板の表面に形成された外部導体に接続するとともに、他端を回路基板の裏面に形成された外部導体に接続することにより、差動信号対間のスキューを抑制するものが記載されている。しかし、差動信号対の一端を接続する外部導体が表面に形成され、他端を接続する外部導体が裏面に形成されると、例えば、裏面への放熱部品や電源部品などの実装が制限され、裏面を有効活用することができない。
【0009】
本発明は、上記に鑑みてなされたものであって、ブロードサイドカップリング構造の信号ライン対が回路基板の内層に配置され、回路基板の一面を有効活用できる状態で信号ライン対が接続する2点間のスキューを低減することができる回路基板を提供することを目的とする。
【課題を解決するための手段】
【0010】
上述した課題を解決し、目的を達成するために、本発明にかかる回路基板は、信号ライン対よりなる伝送線路が形成される回路基板であって、前記信号ライン対は、少なくとも2層以上の内層に配置されたブロードサイドカップリング構成の第1の信号ライン及び第2の信号ラインであり、前記第1の信号ライン及び前記第2の信号ラインは、それぞれ2点間を接続し、該2点間において1回以上、入れ替わる交差部を有することを特徴とする。
(【0011】以降は省略されています)
この特許をJ-PlatPat(特許庁公式サイト)で参照する
関連特許
個人
電子部品の実装方法
6日前
個人
非衝突型ガウス加速器
1か月前
日本精機株式会社
回路基板
28日前
キヤノン株式会社
電子機器
20日前
アイホン株式会社
電気機器
20日前
日本放送協会
基板固定装置
26日前
アイホン株式会社
電気機器
1か月前
個人
節電材料
2か月前
メクテック株式会社
配線基板
1か月前
東レ株式会社
霧化状活性液体供給装置
1か月前
マクセル株式会社
配列用マスク
2か月前
サクサ株式会社
筐体の壁掛け構造
1か月前
イビデン株式会社
配線基板
1か月前
トキコーポレーション株式会社
照明器具
3か月前
イビデン株式会社
プリント配線板
2か月前
イビデン株式会社
プリント配線板
26日前
FDK株式会社
基板
5日前
イビデン株式会社
配線基板
1か月前
株式会社電気印刷研究所
金属画像形成方法
3か月前
株式会社電気印刷研究所
金属画像形成方法
3か月前
新電元工業株式会社
充電装置
2か月前
株式会社レゾナック
冷却装置
5日前
オムロン株式会社
端子折り曲げ治具
8日前
日産自動車株式会社
電子部品
18日前
新電元工業株式会社
電子装置
20日前
カシン工業株式会社
PTC発熱装置
2か月前
日産自動車株式会社
電子機器
2か月前
タイガー魔法瓶株式会社
加熱器
18日前
新光電気工業株式会社
配線基板
11日前
富士電子工業株式会社
高周波焼入装置
2か月前
富士電子工業株式会社
誘導加熱コイル
今日
富士電子工業株式会社
誘導加熱コイル
今日
日本特殊陶業株式会社
配線基板
1か月前
日本無線株式会社
電子機器用密閉構造
1か月前
日本特殊陶業株式会社
セラミックヒータ
5日前
株式会社デンソー
電子装置
1か月前
続きを見る
他の特許を見る