TOP
|
特許
|
意匠
|
商標
特許ウォッチ
Twitter
他の特許を見る
10個以上の画像は省略されています。
公開番号
2025135156
公報種別
公開特許公報(A)
公開日
2025-09-18
出願番号
2024032813
出願日
2024-03-05
発明の名称
RoFネットワークシステム
出願人
個人
,
古河電気工業株式会社
代理人
弁理士法人酒井国際特許事務所
主分類
H04B
10/2575 20130101AFI20250910BHJP(電気通信技術)
要約
【課題】新規かつ有益なRoFネットワークシステムを提供すること。
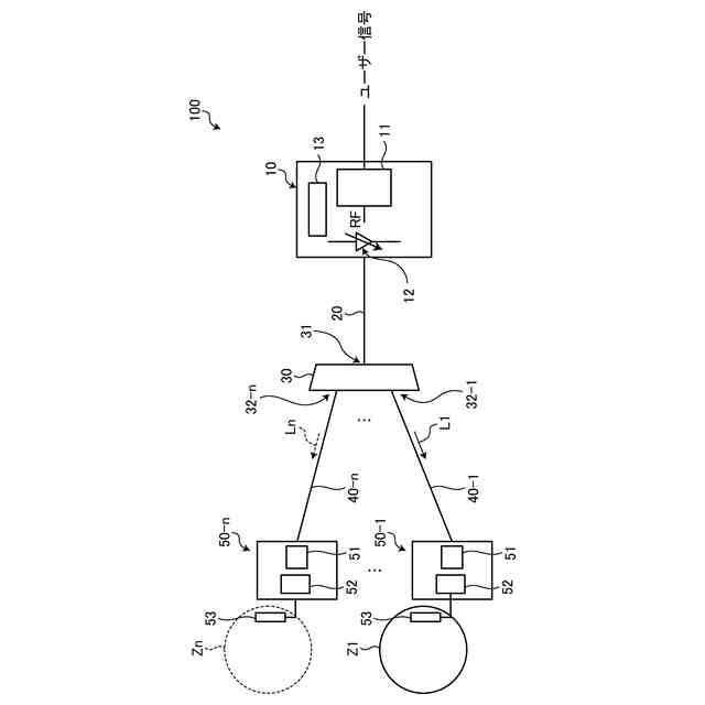
【解決手段】RoFネットワークシステム100は、RF信号によって変調された光信号を出力し、光信号の波長を変更できる通信基地局10と、光信号の入力を受け付け、光信号の波長に応じて、複数の出力ポートのいずれかから光信号を出力する光分配器30と、光分配器30の複数の出力ポート32-1~32-nのそれぞれに接続された複数の空孔コアファイバ40-1~40-nと、複数の空孔コアファイバ40-1~40-nのそれぞれに接続され、入力された光信号を無線通信信号に変換して出力し、互いに異なる通信可能ゾーンZ1~Znを形成する複数の通信器50-1~50-nと、を備える。
【選択図】図1
特許請求の範囲
【請求項1】
RF信号によって変調された光信号を出力する通信基地局であって、前記光信号の波長を変更できる通信基地局と、
前記光信号の入力を受け付け、前記光信号の波長に応じて、複数の出力ポートのいずれかから前記光信号を出力する光分配器と、
前記光分配器の複数の出力ポートのそれぞれに接続された複数の空孔コアファイバと、
前記複数の空孔コアファイバのそれぞれに接続され、入力された前記光信号を無線通信信号に変換して出力し、互いに異なる通信可能ゾーンを形成する複数の通信器と、
を備えるRoFネットワークシステム。
続きを表示(約 1,000 文字)
【請求項2】
RF信号によって変調された光信号であって、それぞれが互いに異なる波長の光信号を出力する複数の通信基地局と、
前記光信号の入力を受け付け、複数の出力ポートのいずれかから前記光信号を出力する波長選択型の光分配器と、
前記光分配器の複数の出力ポートのそれぞれに接続された複数の空孔コアファイバと、
前記複数の空孔コアファイバのそれぞれに接続され、入力された前記光信号を無線通信信号に変換して出力し、互いに異なる通信可能ゾーンを形成する複数の通信器と、
を備えるRoFネットワークシステム。
【請求項3】
RF信号によって変調された光信号を出力する通信基地局であって、前記光信号の波長を変更できる通信基地局と、
前記光信号を伝送する、直列に接続された複数の空孔コアファイバと、
前記複数の空孔コアファイバの間に設けられ、特定の波長の前記光信号を選択的に出力する複数の光分配器であって、前記特定の波長が互いに異なる複数の光分配器と、
前記複数の光分配器のそれぞれに接続され、入力された前記光信号を無線通信信号に変換して出力し、互いに異なる通信可能ゾーンを形成する複数の通信器と、
を備えるRoFネットワークシステム。
【請求項4】
RF信号によって変調された光信号を出力する通信基地局と、
前記光信号を伝送する、直列に接続された複数の空孔コアファイバと、
前記複数の空孔コアファイバの間に設けられた、入力された前記光信号の一部を出力する複数の光分配器と、
前記複数の光分配器のそれぞれに接続され、入力された前記光信号を無線通信信号に変換して出力し、互いに異なる通信可能ゾーンを形成する複数の通信器と、
を備えるRoFネットワークシステム。
【請求項5】
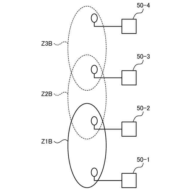
前記通信基地局は、前記光信号の波長スペクトルが広げられた拡張光信号を出力し、
前記拡張光信号の波長スペクトルは、前記光分配器の少なくとも2つの出力ポートから前記拡張光信号の成分が出力されるように、前記光信号の波長スペクトルから広げられている
請求項1~3のいずれか一つに記載のRoFネットワークシステム。
【請求項6】
前記通信基地局は、前記光信号のパワーを変更可能であり、
前記複数の通信器が形成する通信可能ゾーンの広さが、前記光信号のパワーに応じて変化する
請求項1~4のいずれか一つに記載のRoFネットワークシステム。
発明の詳細な説明
【技術分野】
【0001】
本発明は、RoFネットワークシステムに関する。
続きを表示(約 1,800 文字)
【背景技術】
【0002】
光ファイバとして、光信号が伝送するコア部が空孔である空孔コアファイバが知られている。空気はガラスに比べ極めて線形性に優れているため、空孔コアファイバでは、伝播する光が高いエネルギーを有していても伝送波形の劣化(波形の変形)はほとんど無い。そのため、空孔コアファイバは、RF(Radio Frequency)信号で強度変調した光信号を光ファイバにて伝播するアナログ信号伝播(RoF:Radio over Fiber)への適用可能性が極めて高い(たとえば、非特許文献1)。
【先行技術文献】
【非特許文献】
【0003】
村上夏尉 他、「空孔コアファイバを用いた光ファイバ無線の伝送特性評価」、電子情報通信学会技術研究報告(Web)、123巻、168号、15-18頁、2023年8月22日
【発明の概要】
【発明が解決しようとする課題】
【0004】
この種のRoFネットワークシステムは、近年実用化の検討が進んでおり、新規かつ有益なものが要求されている。
【0005】
本発明は、上記に鑑みてなされたものであって、その目的は、新規かつ有益なRoFネットワークシステムを提供することにある。
【課題を解決するための手段】
【0006】
上述した課題を解決し、目的を達成するために、本発明の一態様は、RF信号によって変調された光信号を出力する通信基地局であって、前記光信号の波長を変更できる通信基地局と、前記光信号の入力を受け付け、前記光信号の波長に応じて、複数の出力ポートのいずれかから前記光信号を出力する光分配器と、前記光分配器の複数の出力ポートのそれぞれに接続された複数の空孔コアファイバと、前記複数の空孔コアファイバのそれぞれに接続され、入力された前記光信号を無線通信信号に変換して出力し、互いに異なる通信可能ゾーンを形成する複数の通信器と、を備えるRoFネットワークシステムである。
【0007】
本発明の一態様は、RF信号によって変調された光信号であって、それぞれが互いに異なる波長の光信号を出力する複数の通信基地局と、前記光信号の入力を受け付け、複数の出力ポートのいずれかから前記光信号を出力する波長選択型の光分配器と、前記光分配器の複数の出力ポートのそれぞれに接続された複数の空孔コアファイバと、前記複数の空孔コアファイバのそれぞれに接続され、入力された前記光信号を無線通信信号に変換して出力し、互いに異なる通信可能ゾーンを形成する複数の通信器と、を備えるRoFネットワークシステムである。
【0008】
本発明の一態様は、RF信号によって変調された光信号を出力する通信基地局であって、前記光信号の波長を変更できる通信基地局と、前記光信号を伝送する、直列に接続された複数の空孔コアファイバと、前記複数の空孔コアファイバの間に設けられ、特定の波長の前記光信号を選択的に出力する複数の光分配器であって、前記特定の波長が互いに異なる複数の光分配器と、前記複数の光分配器のそれぞれに接続され、入力された前記光信号を無線通信信号に変換して出力し、互いに異なる通信可能ゾーンを形成する複数の通信器と、を備えるRoFネットワークシステムである。
【0009】
本発明の一態様は、RF信号によって変調された光信号を出力する通信基地局と、前記光信号を伝送する、直列に接続された複数の空孔コアファイバと、前記複数の空孔コアファイバの間に設けられた、入力された前記光信号の一部を出力する複数の光分配器と、前記複数の光分配器のそれぞれに接続され、入力された前記光信号を無線通信信号に変換して出力し、互いに異なる通信可能ゾーンを形成する複数の通信器と、を備えるRoFネットワークシステムである。
【0010】
前記通信基地局は、前記光信号の波長スペクトルが広げられた拡張光信号を出力し、前記拡張光信号の波長スペクトルは、前記光分配器の少なくとも2つの出力ポートから前記拡張光信号の成分が出力されるように、前記光信号の波長スペクトルから広げられていてもよい。
(【0011】以降は省略されています)
この特許をJ-PlatPat(特許庁公式サイト)で参照する
関連特許
個人
店内配信予約システム
2か月前
WHISMR合同会社
収音装置
26日前
サクサ株式会社
中継装置
3か月前
キヤノン株式会社
撮像装置
1か月前
キヤノン株式会社
電子機器
2か月前
アイホン株式会社
電気機器
20日前
キヤノン株式会社
撮像装置
3か月前
個人
ワイヤレスイヤホン対応耳掛け
18日前
日本精機株式会社
画像投映システム
3か月前
キヤノン電子株式会社
画像読取装置
27日前
株式会社リコー
画像形成装置
1か月前
株式会社リコー
画像形成装置
1か月前
株式会社リコー
画像形成装置
2か月前
ヤマハ株式会社
信号処理装置
3か月前
キヤノン電子株式会社
モバイル装置
3か月前
キヤノン株式会社
撮像システム
20日前
ブラザー工業株式会社
読取装置
1か月前
株式会社ニコン
撮像装置
2か月前
有限会社フィデリックス
マイクロフォン
4日前
キヤノン電子株式会社
シート材搬送装置
1か月前
株式会社JVCケンウッド
通信システム
4日前
沖電気工業株式会社
画像形成装置
今日
DXO株式会社
情報処理システム
2か月前
株式会社小糸製作所
画像照射装置
1か月前
大日本印刷株式会社
写真撮影装置
19日前
株式会社松平商会
携帯機器カバー
29日前
パテントフレア株式会社
水中電波通信法
2か月前
パテントフレア株式会社
超高速電波通信
1か月前
国立大学法人電気通信大学
小型光学装置
1か月前
沖電気工業株式会社
画像形成装置
8日前
株式会社国際電気
遠隔監視システム
1か月前
株式会社リコー
画像形成装置
1か月前
日本無線株式会社
無線通信システム
12日前
株式会社大林組
監視システム
1か月前
個人
外部ヘッダ変換通信装置および通信網
3か月前
株式会社オーディオテクニカ
受光器
3か月前
続きを見る
他の特許を見る