TOP
|
特許
|
意匠
|
商標
特許ウォッチ
Twitter
他の特許を見る
10個以上の画像は省略されています。
公開番号
2025134292
公報種別
公開特許公報(A)
公開日
2025-09-17
出願番号
2024032113
出願日
2024-03-04
発明の名称
電源システム
出願人
古河電気工業株式会社
,
古河AS株式会社
代理人
弁理士法人酒井国際特許事務所
主分類
B60R
16/03 20060101AFI20250909BHJP(車両一般)
要約
【課題】スイッチの過剰な設置を抑制するとともに配線の2重化を抑制して、低コスト化および組付け性を向上すること。
【解決手段】所定の補機に対して電力を供給可能な電力源と、電力源から複数の補機に電力を供給可能に構成された第1電力供給部と、電力源から複数の補機に電力を供給可能に構成され、第1電力供給部に対して並列に設けられた第2電力供給部と、所定の機能を有する複数の補機と、を備える電源システムであって、第1電力供給部の出力側と第2電力供給部の出力側とが合流点において連結され、合流点に対する下流側に設定された分岐点において、複数の補機のそれぞれに対応して配線が分岐される。
【選択図】図1
特許請求の範囲
【請求項1】
複数の補機に対して電力を供給可能な電力源と、
前記電力源から前記複数の補機に電力を供給可能に構成された第1電力供給部と、
前記電力源から前記複数の補機に電力を供給可能に構成され、前記第1電力供給部に対して並列に設けられた第2電力供給部と、
所定の機能を有する複数の補機と、を備える電源システムであって、
前記第1電力供給部の出力側と前記第2電力供給部の出力側とが合流点において連結され、
前記合流点に対する下流側に設定された分岐点において、前記複数の補機のそれぞれに対応して配線が分岐される
ことを特徴とする電源システム。
続きを表示(約 630 文字)
【請求項2】
前記複数の補機はそれぞれ、冗長型の補機または非冗長型の補機であり、
前記冗長型の補機に対して複数の配線によって前記電力を供給可能に構成するとともに、前記非冗長型の補機に対して単数の配線によって前記電力を供給可能に構成され、
少なくとも1つの前記補機がユニットに納められて構成され、
前記ユニットは、1系統の配線によって電力を受給可能に構成されるとともに、前記補機に対して電力を供給可能に構成される
ことを特徴とする請求項1に記載の電源システム。
【請求項3】
前記電力源が発電部を有して構成され、
前記発電部の機能安全レベルが自動車安全水準Dの場合、前記第1電力供給部と前記第2電力供給部とを前記電力源によって構成する
ことを特徴とする請求項1に記載の電源システム。
【請求項4】
前記電力源が、機能安全レベルが自動車安全水準Aに満たない蓄電部をさらに有し、前記発電部の出力側に連結されて構成される
ことを特徴とする請求項3に記載の電源システム。
【請求項5】
前記電力源が発電部および蓄電部を有して構成され、
前記発電部および前記蓄電部における機能安全レベルがそれぞれ自動車安全水準Bの場合に、前記電力源によって前記第1電力供給部と前記第2電力供給部とを構成する
ことを特徴とする請求項1に記載の電源システム。
発明の詳細な説明
【技術分野】
【0001】
本発明は、電源システムに関する。
続きを表示(約 2,100 文字)
【背景技術】
【0002】
近年、自動運転の導入により制御系の機能安全とともに、電源系統の高信頼化が求められている。電源システムにおいては、発電機や蓄電器などの電力源の失陥時においても電源供給を維持するために、電力源および配電網の2重化、すなわち冗長化が行われている。自動運転の導入は、電動車両(Electrified Vehicle:xEV)を中心に進められている。電動車両の発電系は、高圧電源から低圧電源を精製するDCDCコンバータを備え、蓄電装置として鉛蓄電池が挙げられる。これらの冗長性の向上手段として、蓄電部の複数化と、蓄電部に接続される電源系統の分離や、必要に応じたDCDCコンバータの複数化も行われている。
【0003】
具体的に例えば、特許文献1には、高圧電池からの供給電力を電圧変換する第1DCDCコンバータ、第1DCDCコンバータの出力電力で充電可能な第1バッテリ、第1バッテリの電力で動作する自動運転システムを含む第1負荷を備える第1電源系と、高圧電池からの供給電力を電圧変換する第2DCDCコンバータ、第2DCDCコンバータの出力電力で充電可能な第2バッテリ、第2バッテリの電力で動作するステアリング、ブレーキ、および情報通信部を含む第2負荷を備える第2電源系と、第2DCDCコンバータと第3負荷との接続を制御する接続制御器、接続制御器の出力電力で充電可能な第3バッテリ、第3バッテリの電力で動作するステアリング、ブレーキ、および情報通信部を含む第3負荷を備える第3電源系と、を備え、第1電源系は、自動運転システムへの電源供給ラインを分離可能な第1DCDCコンバータと第1バッテリとの2つを有する構成が開示されている。
【先行技術文献】
【特許文献】
【0004】
特開2020-36465号公報
【発明の概要】
【発明が解決しようとする課題】
【0005】
上述した従来技術による電源供給が2系統に分離された電源システムにおいては、パワーステアリングなどのアクチュエータは2重化を行って、異なる電源系に接続される。しかしながら、この場合、同じ場所に設置された装備に対して遠回しに2重配線が配索されることになる。また、所定の補機に対する電力の供給が停止すると、同じ系統の装備に対する電力の供給も併せて停止するという問題も生じる。そのため、冗長電源システムを構成するにあたって、電源保護のために設置された半導体スイッチの過剰な設置を抑制して、低コスト化するとともに、信頼性および品質の観点から過剰で不要なハーネス(配線)の2重化を抑制して、さらに低コスト化しつつ組付け性を向上する技術が求められていた。
【0006】
本発明は、上記に鑑みてなされたものであって、その目的は、スイッチの過剰な設置を抑制するとともに配線の2重化を抑制して、低コスト化および組付け性を向上することができる電源システムを提供することにある。
【課題を解決するための手段】
【0007】
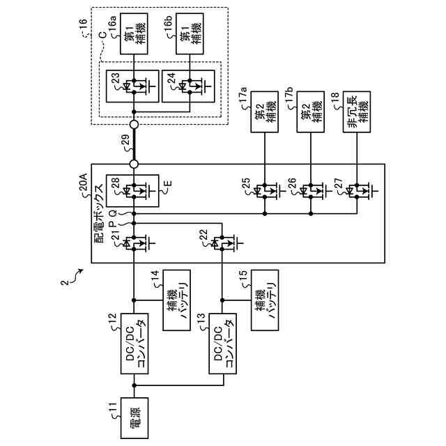
上述した課題を解決し、上記目的を達成するために、本発明に係る電源システムは、複数の補機に対して電力を供給可能な電力源と、前記電力源から前記複数の補機に電力を供給可能に構成された第1電力供給部と、前記電力源から前記複数の補機に電力を供給可能に構成され、前記第1電力供給部に対して並列に設けられた第2電力供給部と、所定の機能を有する複数の補機と、を備える電源システムであって、前記第1電力供給部の出力側と前記第2電力供給部の出力側とが合流点において連結され、前記合流点に対する下流側に設定された分岐点において、前記複数の補機のそれぞれに対応して配線が分岐されることを特徴とする。
【0008】
本発明の一態様に係る電源システムは、上記の発明において、前記複数の補機はそれぞれ、冗長型の補機または非冗長型の補機であり、前記冗長型の補機に対して複数の配線によって前記電力を供給可能に構成するとともに、前記非冗長型の補機に対して単数の配線によって前記電力を供給可能に構成され、少なくとも1つの前記補機がユニットに納められて構成され、前記ユニットは、1系統の配線によって電力を受給可能に構成されるとともに、前記補機に対して電力を供給可能に構成されることを特徴とする。
【0009】
本発明の一態様に係る電源システムは、上記の発明において、前記電力源が発電部を有して構成され、前記発電部の機能安全レベルが自動車安全水準Dの場合、前記第1電力供給部と前記第2電力供給部とを前記電力源によって構成することを特徴とする。
【0010】
本発明の一態様に係る電源システムは、上記の発明において、前記電力源が、機能安全レベルが自動車安全水準Aに満たない蓄電部をさらに有し、前記発電部の出力側に連結されて構成されることを特徴とする。
(【0011】以降は省略されています)
この特許をJ-PlatPat(特許庁公式サイト)で参照する
関連特許
古河電気工業株式会社
回路基板
1日前
古河電気工業株式会社
排水構造
4日前
古河電気工業株式会社
回路基板
4日前
古河電気工業株式会社
回路基板
1日前
古河電気工業株式会社
電気接続箱
4日前
古河電気工業株式会社
固定構造体
5日前
古河電気工業株式会社
複合ケーブル
4日前
古河電気工業株式会社
架橋樹脂発泡体
8日前
古河電気工業株式会社
通信用ケーブル
8日前
古河電気工業株式会社
バッテリーポスト端子組立体
4日前
古河電気工業株式会社
端子カバー構造及び電気接続箱
5日前
古河電池株式会社
双極型蓄電池
12日前
古河電気工業株式会社
検出装置、検出方法及びプログラム
5日前
古河電気工業株式会社
プログラム、無線通信システム及び通信方法
8日前
古河電気工業株式会社
センサユニット、電力ケーブル及び測定システム
5日前
古河電気工業株式会社
マルチコアファイバおよびマルチコアファイバの製造方法
4日前
古河電気工業株式会社
バンドル構造、バンドル構造とマルチコアファイバの光接続構造及び光接続方法
11日前
古河電気工業株式会社
ケーブルコネクタ組立体及びケーブルコネクタ組立体を用いた回転コネクタ装置
4日前
古河AS株式会社
電線用外装体の蓋体、電線用外装体及び外装体付きワイヤーハーネス
4日前
古河電気工業株式会社
液状シラングラフトオレフィン組成物及びそのシラン架橋硬化物、並びにこれらの製造方法
18日前
個人
カーテント
4か月前
個人
タイヤレバー
2か月前
個人
車窓用防虫網戸
4か月前
個人
警告装置
5か月前
個人
前輪キャスター
1か月前
個人
上部一体型自動車
4日前
個人
小型EVシステム
5か月前
個人
タイヤ脱落防止構造
1か月前
個人
車輪清掃装置
4か月前
個人
ルーフ付きトライク
2か月前
個人
ホイルのボルト締結
3か月前
井関農機株式会社
作業車両
3か月前
個人
マスタシリンダ
11日前
井関農機株式会社
作業車両
4か月前
個人
キャンピングトライク
3か月前
日本精機株式会社
表示装置
2か月前
続きを見る
他の特許を見る