TOP
|
特許
|
意匠
|
商標
特許ウォッチ
Twitter
他の特許を見る
10個以上の画像は省略されています。
公開番号
2025145560
公報種別
公開特許公報(A)
公開日
2025-10-03
出願番号
2024045792
出願日
2024-03-22
発明の名称
複合ケーブル
出願人
古河電気工業株式会社
代理人
個人
,
個人
主分類
H01B
7/00 20060101AFI20250926BHJP(基本的電気素子)
要約
【課題】複合ケーブルの外部シースの剥取性にばらつきを抑制する。
【解決手段】導体31の外周に絶縁層32を有する少なくとも二本の電源線3と、導体21の外周に絶縁層22を有する二本の信号線2が対となって撚り合わせられた、少なくとも一組の対撚り信号線と、全ての電源線と全ての対撚り信号線とが撚り合わせれてなるケーブルコアの外周に形成された外部シース4とを備えた複合ケーブル1であって、ケーブルコアと外部シースの間に滑剤5が封入され、滑剤を撚り合わされた電源線及び信号線の隙間にまで浸透した状態とした。
【選択図】図2
特許請求の範囲
【請求項1】
導体の外周に絶縁層を有する少なくとも二本の電源線と、
導体の外周に絶縁層を有する二本の信号線が対となって撚り合わせられた、少なくとも一組の対撚り信号線と、
全ての前記電源線と全ての前記対撚り信号線とが撚り合わせれてなるケーブルコアの外周に形成された外部シースとを備えた複合ケーブルであって、
前記ケーブルコアと前記外部シースの間に滑剤が封入され、前記滑剤は、撚り合わされた前記電源線及び前記信号線の外周に生じる隙間にまで浸透した状態であることを特徴とする複合ケーブル。
続きを表示(約 390 文字)
【請求項2】
前記外部シースの内側に、前記ケーブルコアの押さえ巻きを設けないことを特徴とする請求項1に記載の複合ケーブル。
【請求項3】
前記滑剤は、脂肪酸又は脂肪酸塩を10~100[wt%]、滑石を0~90[wt%]とする混合材であることを特徴とする請求項1に記載の複合ケーブル。
【請求項4】
前記滑剤は、前記脂肪酸又は前記脂肪酸塩を10~90[wt%]、前記滑石を10~90[wt%]の混合材であることを特徴とする請求項3に記載の複合ケーブル。
【請求項5】
前記脂肪酸又は前記脂肪酸塩は、ステアリン酸又はステアリン酸塩であることを特徴とすることを特徴とする請求項3に記載の複合ケーブル。
【請求項6】
前記脂肪酸又は前記脂肪酸塩の融点は、摂氏70度以下であることを特徴とする請求項3記載の複合ケーブル。
発明の詳細な説明
【技術分野】
【0001】
本発明は、複合ケーブルに関する。
続きを表示(約 1,800 文字)
【背景技術】
【0002】
従来、電線の線状体と外被との離型性をよくするために、線条体の表面にタルクのような粉末状の滑剤を塗布してから外被による被覆が行われていた(例えば特許文献1参照)。
【先行技術文献】
【特許文献】
【0003】
特開2001-110260号公報
【発明の概要】
【発明が解決しようとする課題】
【0004】
ところで、近年は、複数のケーブルをシースでまとめた複合ケーブルが機械、装置類に使用されている。
複合ケーブルは、シース内の複数の電源線や二本一対で撚り合わされた信号線がさらに撚り合わされてケーブルコアを構成している場合がある。
このようなケーブルコアに上記の従来技術を適用した場合、ケーブルコアは、電源線や信号線が捻回によって絡み合って複雑な隙間を形成するため、タルクのような粉末状の滑剤は、各電源線や各信号線の隙間に行き渡らせることは困難であった。
このため、複合ケーブルの外部シースの剥取性にばらつきが生じやすいという問題が生じていた。
【0005】
本発明は、上記の問題点を鑑みてなされたものであり、複合ケーブルの外部シースの剥取性にばらつきを抑制することを目的とする。
【課題を解決するための手段】
【0006】
前記の問題を解決するために、本発明は、
導体の外周に絶縁層を有する少なくとも二本の電源線と、
導体の外周に絶縁層を有する二本の信号線が対となって撚り合わせられた、少なくとも一組の対撚り信号線と、
全ての前記電源線と全ての前記対撚り信号線とが撚り合わされてなるケーブルコアの外周に形成された外部シースとを備えた複合ケーブルであって、
前記ケーブルコアと前記外部シースの間に滑剤が封入され、前記滑剤は、撚り合わされた前記電源線及び前記信号線の外周に生じる隙間にまで浸透した状態であることを特徴とする。
【発明の効果】
【0007】
本発明によれば、複合ケーブルの外部シースの剥取性にばらつきを抑制することができる。
【図面の簡単な説明】
【0008】
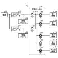
複合ケーブルの信号線をABSセンサとABS制御デバイスに接続し、電源線をEPB制御デバイスとアクチュエータに接続した状態を表す図である。
本実施形態に係る複合ケーブルの構成例を表す断面図であり、四芯の場合を表す。
本実施形態に係る複合ケーブルの構成例を表す断面図であり、六芯の場合を表す。
電源線又は信号線の導体が複数の素線を撚り合わされて構成されていることを表す図である。
図5(a)は複合ケーブル内で四芯の信号線及び電源線が撚り合わされた状態を表す図、図5(b)は複合ケーブル内で六芯の信号線及び電源線が撚り合わされた状態を表す図である。
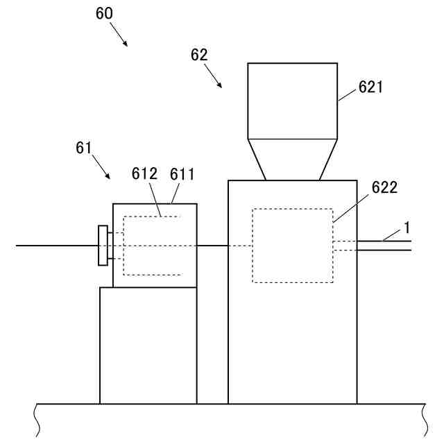
複合ケーブルの押出被覆工程を実行するシステムの構成図である。
実施例1~4と比較例1,2とついて「密着力のばらつき」、「タルク飛散性」、「加工性」の評価の結果を示した図表である。
「タルク飛散性」の測定環境を示す説明図である。
「タルク飛散性」の評価を行うための飛散の範囲を示す説明図である。
【発明を実施するための形態】
【0009】
[複合ケーブルの概略]
以下、図面を参照して、本発明に係る複合ケーブルについて説明する。
ただし、以下に述べる実施形態には、本発明を実施するために技術的に好ましい種々の限定が付されているが、本発明の範囲を以下の実施形態や図示例に限定するものではない。
なお、以下の説明において、「数値A~数値B」という場合には、「数値A以上、数値B以下」の範囲を示すものとする。
【0010】
複合ケーブル1は、導体21,31の外周に絶縁層としての樹脂層22,32を有する複数の電線としての信号線2及び電源線3と、複数の信号線2及び電源線3の外周を被覆する外部シース4とを備えている。
複数の信号線2と複数の電源線3とがケーブルコアを構成し、ケーブルコアと外部シース4との間には、滑剤5が封入されている。
また、ケーブルコアの外周には、押さえテープによる押さえ巻きは形成されない。
(【0011】以降は省略されています)
この特許をJ-PlatPat(特許庁公式サイト)で参照する
関連特許
古河電気工業株式会社
排水構造
2日前
古河電気工業株式会社
回路基板
2日前
古河電気工業株式会社
多層基板
16日前
古河電気工業株式会社
電気接続箱
18日前
古河電気工業株式会社
固定構造体
3日前
古河電気工業株式会社
電気接続箱
2日前
古河電気工業株式会社
複合ケーブル
2日前
古河電気工業株式会社
電源システム
18日前
古河電気工業株式会社
通信用ケーブル
16日前
古河電気工業株式会社
架橋樹脂発泡体
6日前
古河電気工業株式会社
通信用ケーブル
6日前
古河電気工業株式会社
マルチコアファイバ
24日前
古河電気工業株式会社
バッテリーポスト端子組立体
2日前
古河電気工業株式会社
端子カバー構造及び電気接続箱
3日前
古河電池株式会社
双極型蓄電池
10日前
個人
RoFネットワークシステム
17日前
古河電気工業株式会社
検出装置、検出方法及びプログラム
3日前
個人
光ファイバおよび光通信システム
24日前
古河電気工業株式会社
固定部材及び固定部材付ワイヤーハーネス
24日前
古河電気工業株式会社
プログラム、無線通信システム及び通信方法
6日前
古河電気工業株式会社
センサユニット、電力ケーブル及び測定システム
3日前
古河電気工業株式会社
マルチコアファイバおよびマルチコアファイバの製造方法
2日前
古河電気工業株式会社
バンドル構造、バンドル構造とマルチコアファイバの光接続構造及び光接続方法
9日前
古河電気工業株式会社
ケーブルコネクタ組立体及びケーブルコネクタ組立体を用いた回転コネクタ装置
2日前
古河AS株式会社
電線用外装体の蓋体、電線用外装体及び外装体付きワイヤーハーネス
2日前
古河電気工業株式会社
液状シラングラフトオレフィン組成物及びそのシラン架橋硬化物、並びにこれらの製造方法
16日前
個人
安全なNAS電池
1か月前
日本発條株式会社
積層体
6日前
個人
フリー型プラグ安全カバー
1か月前
東レ株式会社
多孔質炭素シート
25日前
ローム株式会社
半導体装置
2日前
ローム株式会社
半導体装置
4日前
ローム株式会社
半導体装置
4日前
ローム株式会社
半導体装置
4日前
個人
防雪防塵カバー
6日前
ローム株式会社
半導体装置
25日前
続きを見る
他の特許を見る