TOP
|
特許
|
意匠
|
商標
特許ウォッチ
Twitter
他の特許を見る
公開番号
2025143790
公報種別
公開特許公報(A)
公開日
2025-10-02
出願番号
2024043224
出願日
2024-03-19
発明の名称
固定構造体
出願人
古河電気工業株式会社
,
古河AS株式会社
代理人
個人
主分類
H02G
3/30 20060101AFI20250925BHJP(電力の発電,変換,配電)
要約
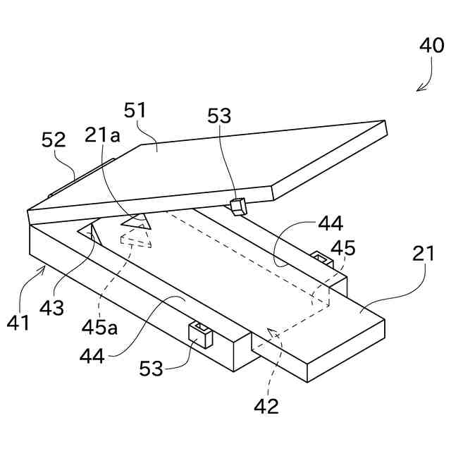
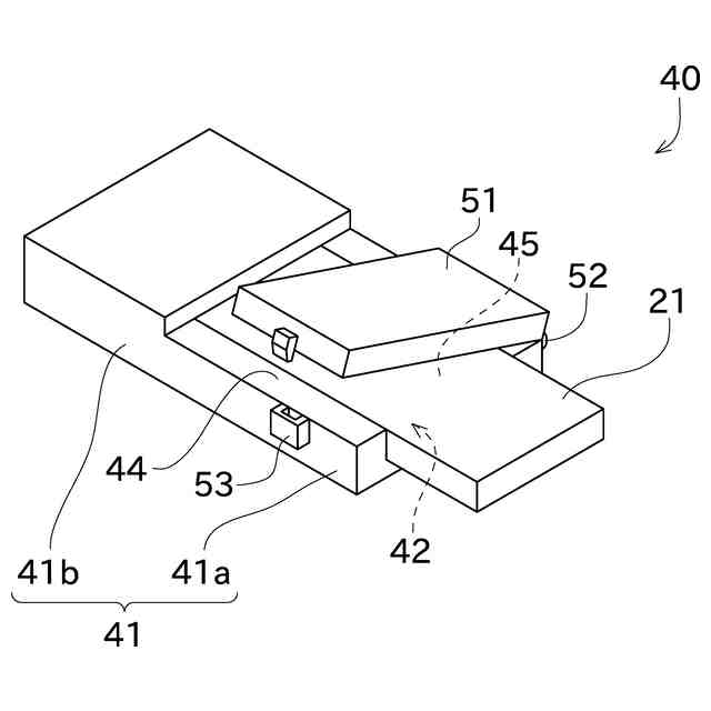
【課題】保護部材を車体側の板材に固定する作業が容易になり易く、また板材による削れが発生しにくい固定構造体を提供する。
【解決手段】固定構造体32は、車両に配置されるワイヤハーネス10の保護部材31に設けられ、保護部材31を第1板材21に固定する第1固定部40を備える。第1固定部40は、ベース部材41及び開閉部材51と、ヒンジ部52と、係合部53と、を備える。ヒンジ部52は、ベース部材41に対して開閉部材51を開閉可能に連結する。係合部53は、ベース部材41及び開閉部材51が第1板材21を挟んで閉じた状態で、ベース部材41と開閉部材51を係合することにより、第1板材21を固定する。
【選択図】図1
特許請求の範囲
【請求項1】
車両に配置されるワイヤハーネスの保護部材に設けられ、当該保護部材を第1板材に固定する第1固定部を備える固定構造体であって、
前記第1固定部は、
ベース部材及び開閉部材と、
前記ベース部材に対して前記開閉部材を開閉可能に連結するヒンジ部と、
前記ベース部材及び前記開閉部材が前記第1板材を挟んで閉じた状態で、前記ベース部材と前記開閉部材を係合することにより、前記第1板材を固定する係合部と、
を備えることを特徴とする固定構造体。
続きを表示(約 870 文字)
【請求項2】
請求項1に記載の固定構造体であって、
前記ベース部材は、前記第1板材の先端部に接触又は対向する先端壁部と、前記第1板材の側面に接触又は対向する側壁部と、を備えることを特徴とする固定構造体。
【請求項3】
請求項1に記載の固定構造体であって、
前記ベース部材のうち前記第1板材と接触する接触面には、前記第1板材の凸部が入り込む凹部又は孔部が形成されているか、あるいは、前記第1板材の凹部に入り込む凸部が形成されていることを特徴とする固定構造体。
【請求項4】
請求項1に記載の固定構造体であって、
前記ベース部材は、
前記開閉部材とともに前記第1板材を挟み込んで固定する第1ベースと、
前記第1ベースと比較して、前記第1板材の先端に近い側に位置し、当該第1板材がセットされる第2ベースと、
を備えることを特徴とする固定構造体。
【請求項5】
請求項1に記載の固定構造体であって、
前記保護部材を第2板材に固定する第2固定部を備え、
前記第1固定部と前記第2固定部とが連結されることを特徴とする固定構造体。
【請求項6】
請求項5に記載の固定構造体であって、
前記第1固定部に固定される前記第1板材の向きと、前記第2固定部に固定される前記第2板材の向きと、が異なることを特徴とする固定構造体。
【請求項7】
請求項1に記載の固定構造体であって、
前記ワイヤハーネスは、幹線と、前記幹線から枝分かれした枝線と、を備え、
前記第1固定部は、前記幹線を前記保護部材に固定することを特徴とする固定構造体。
【請求項8】
請求項1に記載の固定構造体であって、
前記ワイヤハーネスは、幹線と、前記幹線から枝分かれした枝線と、を備え、
前記幹線の一部と、前記枝線の一部と、が前記保護部材によりまとめて保護されることを特徴とする固定構造体。
発明の詳細な説明
【技術分野】
【0001】
本発明は、主として、ワイヤハーネスを板材に固定するための固定構造体に関する。
続きを表示(約 1,200 文字)
【背景技術】
【0002】
特許文献1は、車両で用いられるヒューズボックス等の筐体を開示する。筐体には、ブラケット取付部が形成されている。ブラケット取付部には、ブラケットが挿入される。これにより、筐体がブラケットを介して、車体の所定位置に組み付けられる。
【先行技術文献】
【特許文献】
【0003】
特開2023-7791号公報
【発明の概要】
【発明が解決しようとする課題】
【0004】
特許文献1のように、ブラケット等の板材を挿入して固定する構造では、固定する対象物が重くなるに連れて、板材のサイズを大きくする必要がある。例えば、車両に配置されるワイヤハーネスは、各電線の大径化及び本数の増加に伴い、重量が増加する傾向にある。この種のワイヤハーネスを板材を介して車体に固定する場合、板材が長くなるに連れて、板材を挿入する作業が困難になり易く、また、板材を挿入する際に板材が対象物と擦れて対象物が削れる可能性がある。
【0005】
本発明は以上の事情に鑑みてされたものであり、その主要な目的は、保護部材を車体側の板材に固定する作業が容易になり易く、また板材による削れが発生しにくい固定構造体を提供することにある。
【発明の概要】
課題を解決するための手段及び効果
【0006】
本発明の解決しようとする課題は以上の如くであり、次にこの課題を解決するための手段とその効果を説明する。
【0007】
本発明の観点によれば、以下の構成の固定構造体が提供される。即ち、固定構造体は、車両に配置されるワイヤハーネスの保護部材に設けられ、当該保護部材を第1板材に固定する第1固定部を備える。前記第1固定部は、ベース部材及び開閉部材と、ヒンジ部と、係合部と、を備える。前記ヒンジ部は、前記ベース部材に対して前記開閉部材を開閉可能に連結する。前記係合部は、前記ベース部材及び前記開閉部材が前記第1板材を挟んで閉じた状態で、前記ベース部材と前記開閉部材を係合することにより、前記第1板材を固定する。
【0008】
これにより、ベース部材と開閉部材で挟み込んで第1板材を固定することができる。そのため、第1板材を挿入して固定する構造と比較して、保護部材を第1板材に固定する作業が容易になり易く、また、固定構造体の削れが発生しにくい。
【0009】
前記の固定構造体においては、前記ベース部材は、前記第1板材の先端部に接触又は対向する先端壁部と、前記第1板材の側面に接触又は対向する側壁部と、を備えることが好ましい。
【0010】
これにより、ベース部材に第1板材をセットした後に開閉部材を回転させて、第1板材を固定構造体に固定できる。
(【0011】以降は省略されています)
この特許をJ-PlatPat(特許庁公式サイト)で参照する
関連特許
古河電気工業株式会社
回路基板
1日前
古河電気工業株式会社
回路基板
1日前
古河電気工業株式会社
排水構造
4日前
古河電気工業株式会社
回路基板
4日前
古河電気工業株式会社
電気接続箱
4日前
古河電気工業株式会社
複合ケーブル
4日前
古河電気工業株式会社
バッテリーポスト端子組立体
4日前
古河電気工業株式会社
マルチコアファイバおよびマルチコアファイバの製造方法
4日前
古河電気工業株式会社
ケーブルコネクタ組立体及びケーブルコネクタ組立体を用いた回転コネクタ装置
4日前
古河AS株式会社
電線用外装体の蓋体、電線用外装体及び外装体付きワイヤーハーネス
4日前
個人
電源装置
19日前
個人
バッテリ内蔵直流電源
18日前
株式会社FUJI
制御盤
8日前
オムロン株式会社
電源回路
12日前
オムロン株式会社
電源回路
12日前
オムロン株式会社
電源回路
12日前
日産自動車株式会社
電子機器
29日前
トヨタ自動車株式会社
回転子
4日前
ニデック株式会社
モータの制御方法
26日前
トヨタ自動車株式会社
回転子
19日前
ミサワホーム株式会社
居住設備
8日前
大豊工業株式会社
モータ
18日前
東京応化工業株式会社
発電装置
12日前
井関農機株式会社
充電システム
29日前
トヨタ自動車株式会社
溶接装置
1か月前
株式会社リコー
拡張アンテナ装置
11日前
トヨタ自動車株式会社
ロータ
6日前
富士電子工業株式会社
電力変換装置
20日前
ニチコン株式会社
AC入力検出回路
4日前
ユタカ電業株式会社
ケーブルダクト
8日前
日産自動車株式会社
ステータ
5日前
NTN株式会社
モータユニット
8日前
株式会社正興電機製作所
地絡確認装置
11日前
株式会社大林組
可搬式充電設備
5日前
株式会社デンソー
電力変換装置
4日前
株式会社ダイヘン
電力変換装置
1か月前
続きを見る
他の特許を見る