TOP
|
特許
|
意匠
|
商標
特許ウォッチ
Twitter
他の特許を見る
10個以上の画像は省略されています。
公開番号
2025143860
公報種別
公開特許公報(A)
公開日
2025-10-02
出願番号
2024043326
出願日
2024-03-19
発明の名称
端子カバー構造及び電気接続箱
出願人
古河電気工業株式会社
,
古河AS株式会社
代理人
個人
,
個人
,
個人
,
個人
,
個人
主分類
H02G
3/16 20060101AFI20250925BHJP(電力の発電,変換,配電)
要約
【課題】端子カバーの開閉作業の作業性を向上させることができる端子カバー構造及び電気接続箱の提供を目的とする。
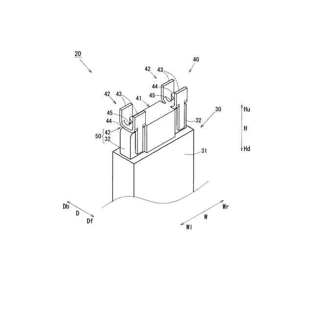
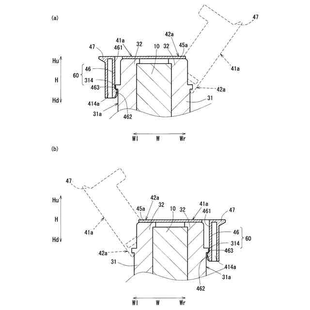
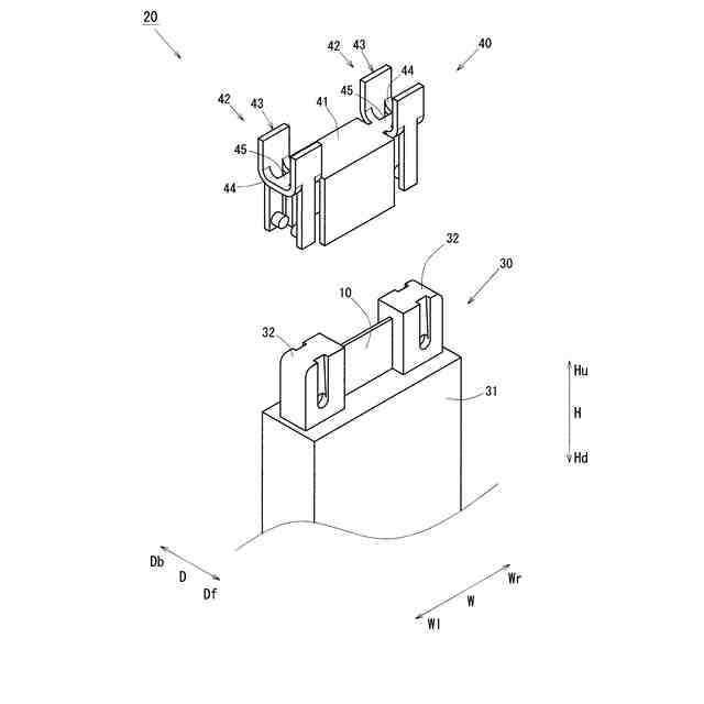
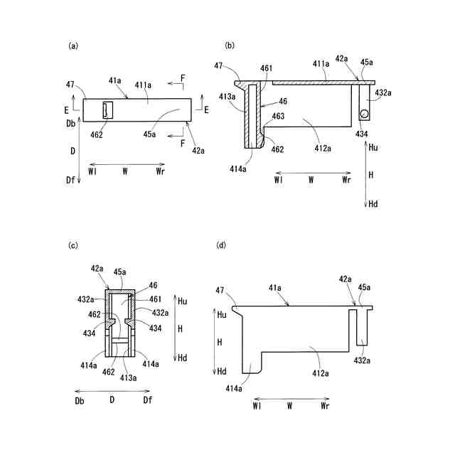
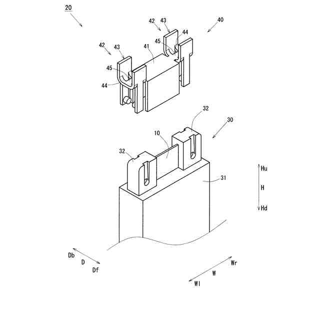
【解決手段】救援端子10を収容するホルダ本体31を有する端子ホルダ30と、端子ホルダ30に対して連結されるとともに、ホルダ本体31から上方側Huに突出する救援端子10の突出部分を保護する端子カバー40とが備えられた端子カバー構造20であって、端子ホルダ30に対して端子カバー40を枢動可能に保持する枢動保持部50が備えられ、枢動保持部50は、端子ホルダ30に備えられ、端子カバー40を枢動支持するカバー取付部32と、端子カバー40に備えられ、カバー取付部32に支持される挟持取付部42とを有し、カバー取付部32による挟持取付部42の支持状態を解消する操作片431が設けられ、幅方向Wの両側に、カバー取付部32及び挟持取付部42が設けられている。
【選択図】図2
特許請求の範囲
【請求項1】
車両に備えられた端子を収容する収容部を有するベースと、前記ベースに対して連結されるとともに、前記収容部から外部に突出する前記端子の突出部分の少なくとも一部を保護する端子カバーとが備えられた端子カバー構造であって、
前記収容部に対して前記端子が突出する方向を突出方向とするとともに、前記突出方向と交差する方向のうち所定の方向を所定方向とし、
前記ベースに対して前記端子カバーを枢動可能に保持する保持部が備えられ、
前記保持部は、前記ベース及び前記端子カバーの一方に備えられ、他方を枢動支持する枢動支持部と、前記ベース及び前記端子カバーの他方に備えられ、前記枢動支持部に支持される被支持部とを有し、
前記枢動支持部による前記被支持部の支持状態を解消する解消部が設けられ、
前記所定方向の両側の一方に、前記枢動支持部及び前記被支持部が設けられるとともに、
前記所定方向の両側の他方に、前記枢動支持部及び前記被支持部の少なくとも一方が設けられた
端子カバー構造。
続きを表示(約 1,500 文字)
【請求項2】
前記所定方向の両側の双方に、前記枢動支持部及び前記被支持部が設けられた
請求項1に記載の端子カバー構造。
【請求項3】
前記所定方向の両側の一方において、前記端子カバーに、前記枢動支持部及び前記被支持部の一方が設けられ、前記ベースに、前記枢動支持部及び前記被支持部の他方が設けられ、
前記所定方向の両側の他方において、前記端子カバーに前記枢動支持部及び前記被支持部の一方が設けられる、又は、前記ベースに前記枢動支持部及び前記被支持部の他方が設けられた
請求項1に記載の端子カバー構造。
【請求項4】
前記所定の方向を第一所定方向とするとともに、前記突出方向及び前記第一所定方向と交差する方向を第二所定方向とし、
前記被支持部は、前記第二所定方向に突出する突状軸部を有し、
前記枢動支持部は、前記突状軸部と嵌合して、前記突状軸部を枢動軸として前記ベースに対して前記端子カバーを枢動可能に支持する
請求項2又は請求項3に記載の端子カバー構造。
【請求項5】
前記ベース及び前記端子カバーの一方に、他方を把持する一対の把持片と、
一対の前記把持片同士に対して前記第二所定方向の弾性力を作用させる弾性部とが備えられ、
前記把持片に、前記突状軸部及び前記枢動支持部の一方が備えられた
請求項4に記載の端子カバー構造。
【請求項6】
前記解消部は、前記第二所定方向の内側に向けて外力を作用させることで、前記突状軸部及び前記枢動支持部の嵌合を解除する
請求項5に記載の端子カバー構造。
【請求項7】
前記解消部は、前記端子カバーよりも前記第二所定方向と交差する方向の外側に設けられた
請求項6に記載の端子カバー構造。
【請求項8】
前記所定の方向を第一所定方向とするとともに、前記突出方向及び前記第一所定方向と交差する方向を第二所定方向とし、
前記被支持部は、前記第二所定方向に突出する突状軸部を有し、
前記枢動支持部は、前記突状軸部と嵌合して、前記突状軸部を枢動軸として前記ベースに対して前記端子カバーを枢動可能に支持し、
前記ベース及び前記端子カバーの一方に、前記第一所定方向に所定間隔を隔てた二箇所で他方を把持する一対の把持片と、
前記把持片同士に対して前記第二所定方向の弾性力を作用する弾性部とが備えられ、
前記把持片に、前記突状軸部及び前記枢動支持部の一方が備えられ、
前記ベースに向けた前記端子カバーの枢動に伴って、前記突状軸部を前記枢動支持部に案内する案内部が設けられた
請求項2に記載の端子カバー構造。
【請求項9】
前記ベースと前記端子カバーとを係止する係止部が設けられ、
前記係止部は、
前記ベース及び前記端子カバーの一方に備えられた係止片と、
前記ベース及び前記端子カバーの他方に備えられ、前記係止片に係止される被係止部とを有し、
前記所定方向の両側の一方に、前記係止片及び前記被係止部の一方が設けられるとともに、
前記所定方向の両側の他方に、前記係止片及び前記被係止部が設けられた
請求項3に記載の端子カバー構造。
【請求項10】
前記係止片と前記被係止部との係止を解除する係止解除部が設けられた
請求項9に記載の端子カバー構造。
(【請求項11】以降は省略されています)
発明の詳細な説明
【技術分野】
【0001】
この発明は、例えば車両に備えられた端子を保護する端子カバー構造及び電気接続箱に関する。
続きを表示(約 1,700 文字)
【背景技術】
【0002】
車両に搭載されている電装品には、外部から接続できるような端子が備えられていることがある。例えば、特許文献1には、外部に向けて一部分を突出するように救援端子を収容する収容部が備えられたベースと、前記救援端子の突出部分を保護する端子カバーとで構成された端子カバー構造を有する電気接続箱が開示されている。
【0003】
この特許文献1に開示されている端子カバー構造では、前記端子カバーに設けた枢動軸部を、前記ベースに設けられた枢動保持部で枢動可能に保持しているため、前記枢動軸部を枢動軸として前記ベースに対して前記端子カバーを枢動自在に開閉することができる。これにより、必要なときに端子カバーを開放し、救援端子を露出させることができる。
【0004】
近年、電装品などの増加に伴い電気接続箱などの搭載位置が多様化している。このため、作業者にとって端子カバーの開放作業の作業性が悪い位置に枢動軸部が配置されていることがある。このような場合、端子カバーを開放するために作業者が移動するなどの必要があり、開放作業が煩雑になるといった問題があった。
【先行技術文献】
【特許文献】
【0005】
特開2014-27724号公報
【発明の概要】
【発明が解決しようとする課題】
【0006】
この発明は、上述の問題に鑑み、端子カバーの開閉作業の作業性を向上させることができる端子カバー構造及び電気接続箱を提供することを目的とする。
【課題を解決するための手段】
【0007】
この発明は、車両に備えられた端子を収容する収容部を有するベースと、前記ベースに対して連結されるとともに、前記収容部から外部に突出する前記端子の突出部分の少なくとも一部を保護する端子カバーとが備えられた端子カバー構造であって、前記収容部に対して前記端子が突出する方向を突出方向とするとともに、前記突出方向と交差する方向のうち所定の方向を所定方向とし、前記ベースに対して前記端子カバーを枢動可能に保持する保持部が備えられ、前記保持部は、前記ベース及び前記端子カバーの一方に備えられ、他方を枢動支持する枢動支持部と、前記ベース及び前記端子カバーの他方に備えられ、前記枢動支持部に支持される被支持部とを有し、前記枢動支持部による前記被支持部の支持状態を解消する解消部が設けられ、前記所定方向の両側の一方に、前記枢動支持部及び前記被支持部が設けられるとともに、前記所定方向の両側の他方に、前記枢動支持部及び前記被支持部の少なくとも一方が設けられたことを特徴とする。
【0008】
またこの発明は、上述の端子カバー構造と、内部に回路体を収容する収容箱本体とが備えられ、前記回路体と電気的に接続された前記端子の一部が、前記収容部から外部に突出するとともに、前記端子カバーで保護された電気接続箱であってもよい。
【0009】
前記解消部は、前記所定方向の両方に前記保持部が設けられた場合に、前記所定方向の一方に設けられた前記保持部の保持状態を解消する場合や、前記所定方向の一方にのみ前記保持部が設けられ、他方に枢動支持部及び被支持部の一方が設けられた場合に、前記ベースと前記端子カバーとを取り外すように、前記枢動支持部及び前記被支持部の支持状態を解消する場合を含む。
【0010】
この発明により、端子カバーの開閉作業の作業性を向上させることができる。
詳述すると、所定方向の双方に保持部が設けられている場合には、所定方向の他方で支持された枢動支持部及び被支持部の支持状態を解消部で解消することで、所定方向の一方で、ベースに対して端子カバーを枢動可能に保持できる。また、所定方向の一方で支持された枢動支持部及び被支持部の支持状態を解消部で解消することで、所定方向の他方で、ベースに対して端子カバーを枢動自在に保持することができる。
(【0011】以降は省略されています)
この特許をJ-PlatPat(特許庁公式サイト)で参照する
関連特許
株式会社FUJI
制御盤
8日前
トヨタ自動車株式会社
回転子
4日前
東京応化工業株式会社
発電装置
12日前
ミサワホーム株式会社
居住設備
8日前
株式会社リコー
拡張アンテナ装置
11日前
ニチコン株式会社
AC入力検出回路
4日前
日産自動車株式会社
ステータ
5日前
ユタカ電業株式会社
ケーブルダクト
8日前
トヨタ自動車株式会社
ロータ
6日前
株式会社デンソー
電力変換装置
4日前
株式会社大林組
可搬式充電設備
5日前
株式会社正興電機製作所
地絡確認装置
11日前
株式会社ミツバ
巻線装置
11日前
NTN株式会社
モータユニット
8日前
株式会社アイシン
回転電機
4日前
株式会社豊田自動織機
車両用機器
8日前
株式会社アイシン
駆動装置
6日前
富士電機株式会社
チャンネルベース
4日前
富士電機株式会社
チャンネルベース
4日前
富士電機株式会社
電力変換システム
8日前
矢崎総業株式会社
プロテクタ
4日前
Astemo株式会社
電動駆動装置
6日前
株式会社明電舎
回転機
5日前
東京瓦斯株式会社
電動車両充電機器
5日前
株式会社アイシン
アクチュエータ装置
5日前
株式会社デンソー
電子制御装置
8日前
Astemo株式会社
電動モータ装置
5日前
株式会社TMEIC
電力変換装置
8日前
株式会社明電舎
回転電機
11日前
株式会社明電舎
ドローン
8日前
株式会社豊田自動織機
インバータ装置
8日前
東京瓦斯株式会社
充電量把握システム
5日前
ひかり屋根株式会社
ソーラーシェアリングシステム
8日前
トヨタ自動車株式会社
モータの冷却制御装置
4日前
新電元工業株式会社
充電器
11日前
愛知製鋼株式会社
電動モータ
4日前
続きを見る
他の特許を見る