TOP
|
特許
|
意匠
|
商標
特許ウォッチ
Twitter
他の特許を見る
公開番号
2025145360
公報種別
公開特許公報(A)
公開日
2025-10-03
出願番号
2024045483
出願日
2024-03-21
発明の名称
弁箱構造および管体構造
出願人
株式会社栗本鐵工所
代理人
弁理士法人朝日奈特許事務所
主分類
F16K
27/00 20060101AFI20250926BHJP(機械要素または単位;機械または装置の効果的機能を生じ維持するための一般的手段)
要約
【課題】組み立て生産性の低下を抑制可能な弁箱構造を提供することを目的とする。
【解決手段】本発明の弁箱構造は、軸方向に沿って延びる割面で分割可能な弁箱と、割面に設けられる割面パッキン3とを備え、割面には、割面の端部まで延び、割面パッキンが嵌合する割面パッキン嵌合溝が設けられ、割面パッキン嵌合溝は、主軸方向に沿って延びる主軸方向溝と、主軸方向と交差する交差方向に延びる交差方向溝とを備え、割面パッキン3は、主軸方向溝に嵌合する主軸方向シール部31、33と、交差方向溝に嵌合する交差方向シール部32、34とを備え、交差方向溝には、主軸方向における割面の端部に向かう方向で交差方向シール部が係止可能な係止部が設けられ、交差方向シール部32、34は、主軸方向シール部31、33よりも高い剛性を有する高剛性部32a、34aを備える。
【選択図】図4A
特許請求の範囲
【請求項1】
軸方向に沿って延びる割面で分割可能な弁箱と、
前記割面に設けられる割面パッキンと
を備えた弁箱構造であって、
前記割面には、前記割面の端部まで延び、前記割面パッキンが嵌合する割面パッキン嵌合溝が設けられ、
前記割面パッキン嵌合溝は、主軸方向に沿って延びる主軸方向溝と、前記主軸方向と交差する交差方向に延びる交差方向溝とを備え、
前記割面パッキンは、前記主軸方向溝に嵌合する主軸方向シール部と、前記交差方向溝に嵌合する交差方向シール部とを備え、
前記交差方向溝には、前記主軸方向における前記割面の端部に向かう方向で前記交差方向シール部が係止可能な係止部が設けられ、
前記交差方向シール部は、前記主軸方向シール部よりも高い剛性を有する高剛性部を備える、
弁箱構造。
続きを表示(約 1,200 文字)
【請求項2】
前記高剛性部は、前記主軸方向シール部が前記交差方向シール部を前記主軸方向における前記割面の端部に向かう方向に押圧する押圧力および/または前記押圧力とは逆方向の力に抵抗するように配置されている、
請求項1に記載の弁箱構造。
【請求項3】
前記高剛性部は、前記交差方向シール部の内部に配置される、
請求項1または2に記載の弁箱構造。
【請求項4】
前記交差方向シール部が、前記主軸方向シール部から前記交差方向に延びる複数の突起部を備え、
前記高剛性部が、前記複数の突起部に設けられている、
請求項1または2に記載の弁箱構造。
【請求項5】
前記高剛性部が、前記複数の突起部に跨って設けられている、
請求項4に記載の弁箱構造。
【請求項6】
前記高剛性部が、前記交差方向シール部の前記主軸方向の中心よりも、前記主軸方向における前記割面の端部とは反対側に配置されている、
請求項1または2に記載の弁箱構造。
【請求項7】
前記交差方向シール部が、前記割面パッキンの前記主軸方向の端部に形成されている、
請求項1または2に記載の弁箱構造。
【請求項8】
前記弁箱が、前記軸方向における端部において、前記軸方向に面して、他の部材と接合可能な接合面を備え、
前記接合面には、前記接合面に設けられる接合面パッキンが嵌合可能な接合面パッキン嵌合溝が設けられ、
前記接合面パッキン嵌合溝が、前記主軸方向における前記割面パッキン嵌合溝の端部に隣接して設けられ、
前記接合面パッキン嵌合溝は、前記接合面パッキン嵌合溝の前記接合面からの深さが、前記交差方向溝の前記係止部の、前記接合面からの長さよりも長くなるように形成されている、
請求項1または2に記載の弁箱構造。
【請求項9】
軸方向に沿って延びる割面で分割可能な管体と、
前記割面に設けられる割面パッキンと
を備えた管体構造であって、
前記割面には、前記割面の端部まで延び、前記割面パッキンが嵌合する割面パッキン嵌合溝が設けられ、
前記割面パッキン嵌合溝は、主軸方向に沿って延びる主軸方向溝と、前記主軸方向溝から前記主軸方向と交差する交差方向に延びる交差方向溝とを備え、
前記割面パッキンは、前記主軸方向溝に嵌合する主軸方向シール部と、前記交差方向溝に嵌合する交差方向シール部とを備え、
前記交差方向溝には、前記主軸方向における前記割面の端部に向かう方向で前記交差方向シール部が係止可能な係止部が設けられ、
前記交差方向シール部は、前記主軸方向シール部よりも高い剛性を有する高剛性部を備える、
管体構造。
発明の詳細な説明
【技術分野】
【0001】
本発明は、弁箱構造および管体構造に関する。
続きを表示(約 1,900 文字)
【背景技術】
【0002】
従来、たとえば特許文献1に開示された複葉弁などでは、軸方向に沿って延びる割面で分割可能な弁箱が用いられている。特許文献1の弁箱は、軸方向に対して垂直方向に2分割可能に構成されており、その割面には、漏水を防止するために、パッキンが設けられている。2分割される弁箱の一方の割面には、パッキンが嵌合可能な溝が設けられている。一方の割面に形成された溝にパッキンが嵌合された状態で、両方の割面同士を接合して弁箱を一体化することで、パッキンを介して割面同士が液密に接合され、両方の割面の間を通る漏水を防止することができる。
【先行技術文献】
【特許文献】
【0003】
特開2018-146010号公報
【発明の概要】
【発明が解決しようとする課題】
【0004】
特許文献1の弁箱では、一方の割面に形成される溝が、割面の端部(たとえば軸方向の端部)まで延び、割面の端部の外側に連通している。そのため、両方の割面同士を接合する際に、割面間の押圧力によって、パッキンが溝に沿って割面の端部の方向に伸長し、割面の端部を越えてはみ出してしまう場合がある。パッキンが割面の端部からはみ出してしまうと、溝の中に押し戻すことは困難であり、はみ出した部分を切除するか、弁箱を分解してパッキンをセットし直す必要がある。はみ出し部分の切除や作業のやり直しは、弁箱の組み立て作業の生産性を低下させることに繋がる。
【0005】
本発明は、上記問題に鑑みなされたもので、組み立て生産性の低下を抑制可能な弁箱構造および管体構造を提供することを目的とする。
【課題を解決するための手段】
【0006】
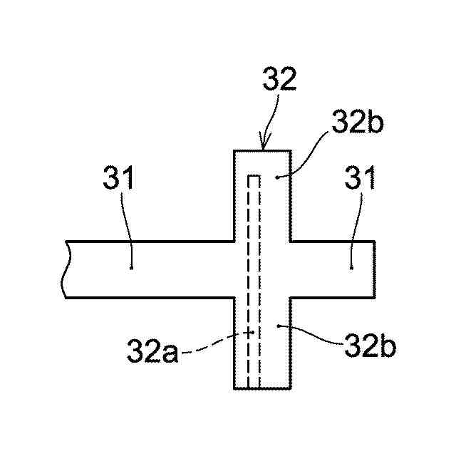
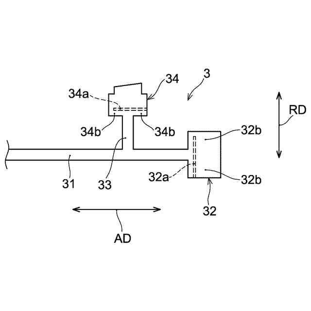
本発明の弁箱構造は、軸方向に沿って延びる割面で分割可能な弁箱と、前記割面に設けられる割面パッキンとを備えた弁箱構造であって、前記割面には、前記割面の端部まで延び、前記割面パッキンが嵌合する割面パッキン嵌合溝が設けられ、前記割面パッキン嵌合溝は、主軸方向に沿って延びる主軸方向溝と、前記主軸方向と交差する交差方向に延びる交差方向溝とを備え、前記割面パッキンは、前記主軸方向溝に嵌合する主軸方向シール部と、前記交差方向溝に嵌合する交差方向シール部とを備え、前記交差方向溝には、前記主軸方向における前記割面の端部に向かう方向で前記交差方向シール部が係止可能な係止部が設けられ、前記交差方向シール部は、前記主軸方向シール部よりも高い剛性を有する高剛性部を備える。
【0007】
本発明の管体構造は、軸方向に沿って延びる割面で分割可能な管体と、前記割面に設けられる割面パッキンとを備えた管体構造であって、前記割面には、前記割面の端部まで延び、前記割面パッキンが嵌合する割面パッキン嵌合溝が設けられ、前記割面パッキン嵌合溝は、主軸方向に沿って延びる主軸方向溝と、前記主軸方向溝から前記主軸方向と交差する交差方向に延びる交差方向溝とを備え、前記割面パッキンは、前記主軸方向溝に嵌合する主軸方向シール部と、前記交差方向溝に嵌合する交差方向シール部とを備え、前記交差方向溝には、前記主軸方向における前記割面の端部に向かう方向で前記交差方向シール部が係止可能な係止部が設けられ、前記交差方向シール部は、前記主軸方向シール部よりも高い剛性を有する高剛性部を備える。
【発明の効果】
【0008】
本発明によれば、組み立て生産性の低下を抑制可能な弁箱構造および管体構造を提供することができる。
【図面の簡単な説明】
【0009】
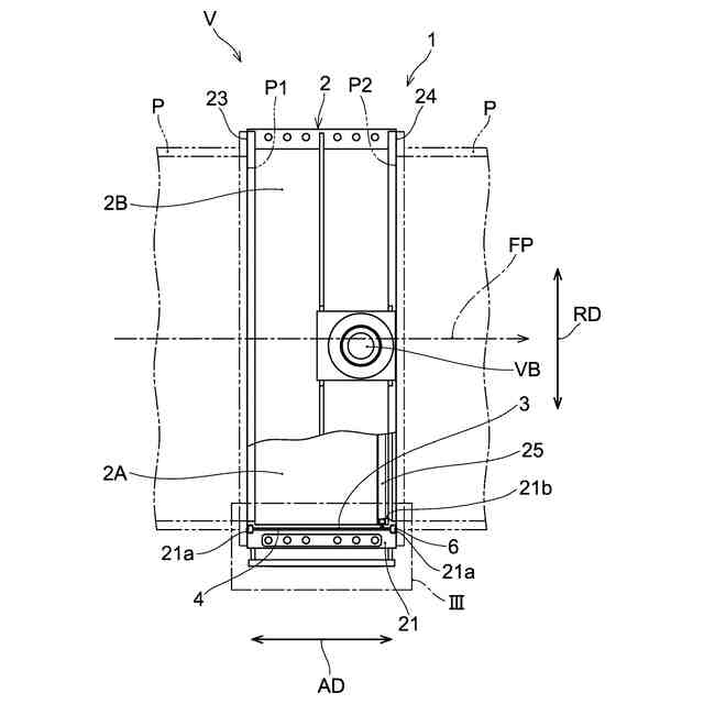
本発明の一実施形態に係る管体構造(弁箱構造)が組み込まれた弁の下半分切断正面図である。
図1の弁から一方の管体(弁箱)構成体を部分的に取り除いた側面図である。
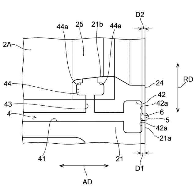
図2のIII部分の拡大図である。
割面パッキンの部分拡大図である。
割面パッキン嵌合溝の部分拡大図である。
割面パッキンの変形例を示す部分拡大図である。
割面パッキンの別の変形例を示す部分拡大図である。
割面パッキンのさらに別の変形例を示す部分拡大図である。
【発明を実施するための形態】
【0010】
以下、添付図面を参照して、本発明の一実施形態に係る弁箱構造および管体構造を説明する。ただし、以下に示す実施形態は一例にすぎず、本発明の弁箱構造および管体構造は、以下の実施形態に限定されることはない。
(【0011】以降は省略されています)
この特許をJ-PlatPat(特許庁公式サイト)で参照する
関連特許
株式会社栗本鐵工所
外面防食鉄管
1日前
株式会社栗本鐵工所
操作装置及び操作受付方法
1日前
株式会社栗本鐵工所
情報処理システム、情報処理方法、及び情報処理プログラム
1日前
個人
鍋虫ねじ
1か月前
個人
回転伝達機構
2か月前
個人
紛体用仕切弁
1か月前
個人
ホース保持具
5か月前
個人
トーションバー
6か月前
個人
差動歯車用歯形
3か月前
個人
給排気装置
4日前
個人
ジョイント
22日前
株式会社不二工機
電磁弁
4か月前
個人
地震の揺れ回避装置
2か月前
株式会社不二工機
電磁弁
3か月前
個人
ナット
23日前
個人
吐出量監視装置
1か月前
カヤバ株式会社
ダンパ
3か月前
カヤバ株式会社
緩衝器
3か月前
カヤバ株式会社
緩衝器
3か月前
カヤバ株式会社
ダンパ
3か月前
株式会社三協丸筒
枠体
6か月前
柿沼金属精機株式会社
分岐管
1か月前
カヤバ株式会社
緩衝器
3日前
株式会社フジキン
ボールバルブ
4か月前
株式会社ノーリツ
分配弁
5か月前
株式会社不二工機
電動弁
4日前
株式会社奥村組
制振機構
12日前
株式会社不二工機
電動弁
6か月前
株式会社ノーリツ
分配弁
5か月前
個人
固着具と固着具の固定方法
6か月前
個人
固着具と固着具の固定方法
4か月前
株式会社不二工機
電磁弁
1か月前
株式会社ノーリツ
分配弁
8日前
個人
固着具と固着具の固定方法
4か月前
アズビル株式会社
回転弁
16日前
日東電工株式会社
断熱材
5か月前
続きを見る
他の特許を見る