TOP
|
特許
|
意匠
|
商標
特許ウォッチ
Twitter
他の特許を見る
10個以上の画像は省略されています。
公開番号
2025154320
公報種別
公開特許公報(A)
公開日
2025-10-10
出願番号
2024057246
出願日
2024-03-29
発明の名称
情報処理システム、情報処理方法、及び情報処理プログラム
出願人
株式会社栗本鐵工所
代理人
個人
主分類
G06F
3/01 20060101AFI20251002BHJP(計算;計数)
要約
【課題】ユーザの個別の情報に応じた触覚を提示することが可能な、情報処理システム、情報処理方法、及び情報処理プログラムを提供する。
【解決手段】本発明の情報処理システムは、操作部を有する触覚提示部と、少なくとも1つの制御部と、を備え、前記制御部は、ユーザの属性情報及び生体情報の少なくとも一方を含むユーザ情報を取得するステップと、前記触覚提示部の前記操作部の操作に応じて、前記触覚提示部に、前記ユーザに対して触覚を提示させるステップと、を実行するように構成され、前記ユーザ情報は、経時的に変化する変化情報を少なくとも1つ含み、前記触覚提示部によって提示される触覚は、少なくとも、前記変化情報に基づいて変化するように構成されている。
【選択図】図1
特許請求の範囲
【請求項1】
操作部を有する触覚提示部と、
少なくとも1つの制御部と、
を備え、
前記制御部は、
ユーザの属性情報及び生体情報の少なくとも一方を含むユーザ情報を取得するステップと、
前記触覚提示部の前記操作部の操作に応じて、前記触覚提示部に、前記ユーザに対して触覚を提示させるステップと、
を実行するように構成され、
前記ユーザ情報は、経時的に変化する変化情報を少なくとも1つ含み、
前記触覚提示部によって提示される触覚は、少なくとも、前記変化情報に基づいて変化するように構成されている、
情報処理システム。
続きを表示(約 1,100 文字)
【請求項2】
前記変化情報は、前記ユーザの年齢、体重、心拍数、血圧、筋肉量、体脂肪率、内臓脂肪レベル、骨密度、基礎代謝量、体内年齢、BMI値、運動履歴、及び購買履歴の少なくとも1つを含む、
請求項1に記載の情報処理システム。
【請求項3】
前記触覚提示部は、前記変化情報に基づいて、前記触覚のうち、前記ユーザに提示する負荷を変化させる、
請求項1または2に記載の情報処理システム。
【請求項4】
表示部をさらに備え、
前記制御部は、
前記表示部に表示されたオブジェクトに対する仮想的な挙動に基づく触覚を、前記触覚提示部に提示させる、
請求項1または2に記載の情報処理システム。
【請求項5】
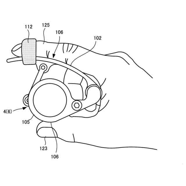
前記触覚提示部は、磁気粘性流体装置を有し、
前記磁気粘性流体装置は、
前記操作部の変位に伴って回転する回転部と、
磁気粘性流体と、
を備え、
入力された電流によって前記磁気粘性流体に磁場を印加することにより前記回転部に回転抵抗が生じるように構成され、
前記回転抵抗が、前記触覚の少なくとも1つとして提示される、
請求項1または2に記載の情報処理システム。
【請求項6】
触覚提示部と、
少なくとも1つの制御部と、
を備える情報処理システムにおける、情報処理方法であって、
前記制御部が、ユーザの属性情報及び生体情報の少なくとも一方を含むユーザ情報を取得するステップと、
前記制御部が、前記触覚提示部の操作に応じて、前記触覚提示部に、前記ユーザに対して触覚を提示させるステップと、
を備え、
前記ユーザ情報は、経時的に変化する変化情報を少なくとも1つ含み、
前記触覚提示部によって提示される触覚は、少なくとも、前記変化情報に基づいて変化するように構成されている、
情報処理方法。
【請求項7】
触覚提示部と、
少なくとも1つの制御部と、
を備える情報処理システムの前記制御部に、
ユーザの属性情報及び生体情報の少なくとも一方を含むユーザ情報を取得するステップと、
前記触覚提示部の操作に応じて、前記触覚提示部に、前記ユーザに対して触覚を提示させるステップと、
を実行させ、
前記ユーザ情報は、経時的に変化する変化情報を少なくとも1つ含み、
前記触覚提示部によって提示される触覚は、少なくとも、前記変化情報に基づいて変化するように構成されている、
情報処理プログラム。
発明の詳細な説明
【技術分野】
【0001】
本発明は、情報処理システム、情報処理方法、及び情報処理プログラムに関する。
続きを表示(約 1,700 文字)
【背景技術】
【0002】
特許文献1には、仮想現実の技術で用いられるコントローラを有する情報処理装置が開示されている。このコントローラは、仮想オブジェクトに対しボタンを押し込むことで仮想的な力を付与するように構成されている。そいて、ボタンの押し込み回数に基づいて仮想オブジェクトからの抵抗力を変化させるように構成されている。
【先行技術文献】
【特許文献】
【0003】
特許第7035090号公報
【発明の概要】
【発明が解決しようとする課題】
【0004】
上記の情報処理装置では、同じ操作を行った場合には、同じ抵抗力を得ることができるが、ユーザの力の強さ・弱さなどのユーザ毎の個別の情報は考慮されていない。このような問題は、オブジェクトからの抵抗を得るような技術のみならず、何らかの仮想的な触覚を得ることができるような装置においても考慮すべき問題である。本発明は、この問題を解決するためになされたものであり、ユーザの個別の情報に応じた触覚を提示することが可能な、情報処理システム、情報処理方法、及び情報処理プログラムを提供することを目的とする。
【課題を解決するための手段】
【0005】
項1.操作部を有する触覚提示部と、
少なくとも1つの制御部と、
を備え、
前記制御部は、
ユーザの属性情報及び生体情報の少なくとも一方を含むユーザ情報を取得するステップと、
前記触覚提示部の前記操作部の操作に応じて、前記触覚提示部に、前記ユーザに対して触覚を提示させるステップと、
を実行するように構成され、
前記ユーザ情報は、経時的に変化する変化情報を少なくとも1つ含み、
前記触覚提示部によって提示される触覚は、少なくとも、前記変化情報に基づいて変化するように構成されている、
情報処理システム。
【0006】
項2.前記変化情報は、前記ユーザの年齢、体重、心拍数、血圧、筋肉量、体脂肪率、内臓脂肪レベル、骨密度、基礎代謝量、体内年齢、BMI値、運動履歴、及び購買履歴の少なくとも1つを含む、
項1に記載の情報処理システム。
【0007】
項3.前記触覚提示部は、前記変化情報に基づいて、前記触覚のうち、前記ユーザに提示する負荷を変化させる、
項1または2に記載の情報処理システム。
【0008】
項4.表示部をさらに備え、
前記制御部は、
前記表示部に表示されたオブジェクトに対する仮想的な挙動に基づく触覚を、前記触覚提示部に提示させる、
項1から3のいずれかに記載の情報処理システム。
【0009】
項5.前記触覚提示部は、磁気粘性流体装置を有し、
前記磁気粘性流体装置は、
前記操作部の変位に伴って回転する回転部と、
磁気粘性流体と、
を備え、
入力された電流によって前記磁気粘性流体に磁場を印加することにより前記回転部に回転抵抗が生じるように構成され、
前記回転抵抗が、前記触覚の少なくとも1つとして提示される、
項1から4のいずれかに記載の情報処理システム。
【0010】
項6.触覚提示部と、
少なくとも1つの制御部と、
を備える情報処理システムにおける、情報処理方法であって、
前記制御部が、ユーザの属性情報及び生体情報の少なくとも一方を含むユーザ情報を取得するステップと、
前記制御部が、前記触覚提示部の操作に応じて、前記触覚提示部に、前記ユーザに対して触覚を提示させるステップと、
を備え、
前記ユーザ情報は、経時的に変化する変化情報を少なくとも1つ含み、
前記触覚提示部によって提示される触覚は、少なくとも、前記変化情報に基づいて変化するように構成されている、
情報処理方法。
(【0011】以降は省略されています)
この特許をJ-PlatPat(特許庁公式サイト)で参照する
関連特許
個人
フラワーコートA
2か月前
個人
工程設計支援装置
1か月前
個人
地球保全システム
10日前
個人
QRコードの彩色
1日前
個人
為替ポイント伊達夢貯
1か月前
個人
冷凍食品輸出支援構造
1か月前
個人
残土処理システム
3日前
個人
表変換編集支援システム
1か月前
個人
携帯情報端末装置
1か月前
個人
知的財産出願支援システム
4日前
個人
知財出願支援AIシステム
1か月前
個人
結婚相手紹介支援システム
1か月前
個人
パスワード管理支援システム
1か月前
個人
AIによる情報の売買の仲介
1か月前
個人
行動時間管理システム
1か月前
個人
AIキャラクター制御システム
1か月前
株式会社キーエンス
受発注システム
9日前
個人
パスポートレス入出国システム
1か月前
個人
食品レシピ生成システム
9日前
個人
海外支援型農作物活用システム
22日前
株式会社アジラ
進入判定装置
1か月前
個人
システム及びプログラム
23日前
日本精機株式会社
施工管理システム
1か月前
株式会社キーエンス
受発注システム
9日前
株式会社キーエンス
受発注システム
9日前
個人
SaaS型勤務調整支援システム
1か月前
個人
食事受注会計処理システム
1か月前
個人
音声・通知・再配達UX制御構造
4日前
個人
音声対話型帳票生成支援システム
1か月前
個人
帳票自動生成型SaaSシステム
4日前
キヤノン株式会社
表示システム
9日前
個人
未来型家系図構築システム
22日前
個人
人格進化型対話応答制御システム
1か月前
大同特殊鋼株式会社
疵判定方法
16日前
個人
冷凍加工連携型農場運用システム
1か月前
大阪瓦斯株式会社
住宅設備機器
1か月前
続きを見る
他の特許を見る