TOP
|
特許
|
意匠
|
商標
特許ウォッチ
Twitter
他の特許を見る
10個以上の画像は省略されています。
公開番号
2025145400
公報種別
公開特許公報(A)
公開日
2025-10-03
出願番号
2024045561
出願日
2024-03-21
発明の名称
医療用具
出願人
株式会社カネカ
代理人
弁理士法人アスフィ国際特許事務所
主分類
A61F
2/95 20130101AFI20250926BHJP(医学または獣医学;衛生学)
要約
【課題】生体内留置チューブの内腔に移動可能に配されている内筒部材を含む医療用具であって、内筒部材にガイドワイヤを挿通させやすい医療用具を提供する。
【解決手段】長手方向を有し近位端と遠位端を有する生体内留置チューブと、前記生体内留置チューブの内腔に移動可能に配され、長手方向を有し近位端と遠位端を有する内筒部材と、前記生体内留置チューブの内腔に移動可能に配され、長手方向を有し近位端と遠位端を有するガイド部材と、を含む医療用具であり、前記ガイド部材は、近位端から遠位端までを貫通する内腔を有する医療用具。
【選択図】図1
特許請求の範囲
【請求項1】
長手方向を有し近位端と遠位端を有する生体内留置チューブと、
前記生体内留置チューブの内腔に移動可能に配され、長手方向を有し近位端と遠位端を有する内筒部材と、
前記生体内留置チューブの内腔に移動可能に配され、長手方向を有し近位端と遠位端を有するガイド部材と、
を含む医療用具であり、
前記ガイド部材は、近位端から遠位端までを貫通する内腔を有する医療用具。
続きを表示(約 780 文字)
【請求項2】
前記ガイド部材の遠位端は、前記生体内留置チューブの遠位端より遠位側で、且つ前記内筒部材の遠位端より遠位側に配されている請求項1に記載の医療用具。
【請求項3】
前記ガイド部材の近位端部が、前記内筒部材の内腔に配されている請求項1に記載の医療用具。
【請求項4】
前記内筒部材の遠位端部が、前記ガイド部材の内腔に配されている請求項1に記載の医療用具。
【請求項5】
前記ガイド部材の一部は、前記内筒部材の内腔に配されており、
前記ガイド部材の近位端は、前記生体内留置チューブの近位端より近位側で、且つ前記内筒部材の近位端より近位側に配されている請求項1に記載の医療用具。
【請求項6】
前記内筒部材の一部は、前記ガイド部材の内腔に配されており、前記ガイド部材の近位端は、前記生体内留置チューブの近位端より近位側で、且つ前記内筒部材の近位端より遠位側に配されている請求項1に記載の医療用具。
【請求項7】
前記ガイド部材は、長手方向に延在する切れ目を有するか、長手方向に延在する易切断部を有する請求項1に記載の医療用具。
【請求項8】
前記ガイド部材は、螺旋状に延在する切れ目を有するか、螺旋状に延在する易切断部を有する請求項1に記載の医療用具。
【請求項9】
前記切れ目または前記易切断部は、前記ガイド部材の近位端から遠位端まで延在している請求項7または8に記載の医療用具。
【請求項10】
前記ガイド部材は、該ガイド部材の端部に長手方向に延在する複数の切れ目を有するか、該ガイド部材の端部に長手方向に延在する複数の易切断部を有する請求項1に記載の医療用具。
(【請求項11】以降は省略されています)
発明の詳細な説明
【技術分野】
【0001】
本発明は、生体内留置チューブを含む医療用具に関するものである。
続きを表示(約 3,500 文字)
【背景技術】
【0002】
血管、あるいは胆管または膵管等の消化管等の生体管腔は、種々の原因で狭窄したり、閉塞することがある。狭窄または閉塞に起因する種々疾患を治療する方法として、狭窄部位または閉塞部位にチューブ状のステントを留置し、狭窄部位または閉塞部位を内側から拡張し、生体管腔を広げる方法が知られている。例えば、胆管に狭窄または閉塞が生じた場合、狭窄部位または閉塞部位に胆管用のチューブステントを送達させる。狭窄部位または閉塞部位に送達されたチューブステントは留置され、狭窄部位または閉塞部位を内側から押し広げる。チューブステントの留置により、狭窄部位または閉塞部位における胆管内径が広げられ、狭窄または閉塞が改善される。その結果、胆管内から十二指腸側への胆汁の排出が可能となり、胆管が狭窄または閉塞することにより生じる胆道閉塞症、黄疸、胆道がん等の様々な疾患を治療できる。こうしたチューブステントを有する医療用具は、例えば、特許文献1に記載されている。
【0003】
特許文献1には、少なくとも一端が円弧の少なくとも一部からなるステント円弧部を具えるチューブステントと、前記ステント円弧部と同一形状のインナー円弧部が形成され、該インナー円弧部と前記ステント円弧部の位置が一致するように前記チューブステントの内部に挿通されているインナーカテーテルとで構成される、ステントキットが記載されている。
【先行技術文献】
【特許文献】
【0004】
特許第5408682号公報
特許第7325744号公報
【発明の概要】
【発明が解決しようとする課題】
【0005】
特許文献1の図1には、インナーカテーテル22がステント12に挿通されており、インナーカテーテル22の遠位端部が、ステント12の遠位端よりも遠位側に配されている態様が示されている。特許文献1の図5にも同様の態様が示されている。このように特許文献1においては、チューブステントの内腔に配されるインナーカテーテル等の内筒部材の遠位端部が、チューブステントの遠位端よりも遠位側へ移動可能に構成されている。
【0006】
ところで、チューブステントは、予め生体管腔内へ挿入されているガイドワイヤに沿って内筒部材と共に挿入される。しかし、例えば特許文献2に記載されているカテーテルシステムのように、内筒部材がチューブステントの内腔に配されており、内筒部材がチューブステントの遠位端よりも近位側にある場合、内筒部材の内腔にガイドワイヤを挿入しにくいという問題があった。
【0007】
本発明は上記の様な事情に着目してなされたものであって、その目的は、生体内留置チューブの内腔に移動可能に配されている内筒部材を含む医療用具であって、内筒部材にガイドワイヤを挿通させやすい医療用具を提供することにある。
【課題を解決するための手段】
【0008】
本発明は、以下の通りである。
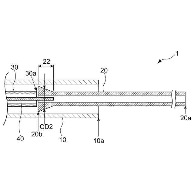
[1] 長手方向を有し近位端と遠位端を有する生体内留置チューブと、
前記生体内留置チューブの内腔に移動可能に配され、長手方向を有し近位端と遠位端を有する内筒部材と、
前記生体内留置チューブの内腔に移動可能に配され、長手方向を有し近位端と遠位端を有するガイド部材と、
を含む医療用具であり、
前記ガイド部材は、近位端から遠位端までを貫通する内腔を有する医療用具。
[2] 前記ガイド部材の遠位端は、前記生体内留置チューブの遠位端より遠位側で、且つ前記内筒部材の遠位端より遠位側に配されている[1]に記載の医療用具。
[3] 前記ガイド部材の近位端部が、前記内筒部材の内腔に配されている[1]または[2]に記載の医療用具。
[4] 前記内筒部材の遠位端部が、前記ガイド部材の内腔に配されている[1]または[2] に記載の医療用具。
[5] 前記ガイド部材の一部は、前記内筒部材の内腔に配されており、前記ガイド部材の近位端は、前記生体内留置チューブの近位端より近位側で、且つ前記内筒部材の近位端より近位側に配されている[1]~[3]のいずれかに記載の医療用具。
[6] 前記内筒部材の一部は、前記ガイド部材の内腔に配されており、前記ガイド部材の近位端は、前記生体内留置チューブの近位端より近位側で、且つ前記内筒部材の近位端より遠位側に配されている[1]、[2]、または[4]のいずれかに記載の医療用具。
[7] 前記ガイド部材は、長手方向に延在する切れ目を有するか、長手方向に延在する易切断部を有する[1]~[6]のいずれかに記載の医療用具。
[8] 前記ガイド部材は、螺旋状に延在する切れ目を有するか、螺旋状に延在する易切断部を有する[1]~[6]のいずれかに記載の医療用具。
[9] 前記切れ目または前記易切断部は、前記ガイド部材の近位端から遠位端まで延在している[7]または[8]に記載の医療用具。
[10] 前記ガイド部材は、該ガイド部材の端部に長手方向に延在する複数の切れ目を有するか、該ガイド部材の端部に長手方向に延在する複数の易切断部を有する[1]~[9]のいずれかに記載の医療用具。
[11] 前記ガイド部材の少なくとも一部は、前記生体内留置チューブよりも高い硬度を有する[1]~[10]のいずれかに記載の医療用具。
[12] 前記ガイド部材の一部は、前記生体内留置チューブよりも高い摺動性を有する[1]~[11]のいずれかに記載の医療用具。
[13] 前記内筒部材は、該内筒部材の遠位端部に内径が遠位端に向かって増大する内径拡径領域を有する[1]~[12]のいずれかに記載の医療用具。
[14] 前記内筒部材は、該内筒部材の遠位端部に外径が遠位端に向かって増大する外径拡径領域を有する[1]~[13]のいずれかに記載の医療用具。
[15] 前記生体内留置チューブは、円弧状に湾曲している円弧部を有している[1]~[14]のいずれかに記載の医療用具。
[16] 前記ガイド部材は、自然状態において直線状であるか、前記生体内留置チューブの前記円弧部における曲率半径よりも大きい曲率半径を有する湾曲状部を有している[15]に記載の医療用具。
[17] 長手方向を有する外筒部材を更に含み、前記外筒部材は、前記生体内留置チューブの近位端より近位側に配され、前記外筒部材の内腔に前記内筒部材が配されている[1]~[16]のいずれかに記載の医療用具。
【発明の効果】
【0009】
本発明に係る医療用具は、生体内留置チューブと内筒部材の他に、遠位端から近位端までを貫通する内腔を有するガイド部材を含んでおり、内筒部材とガイド部材は、生体内留置チューブの内腔に移動可能に配されている。こうしたガイド部材を含むことにより、内筒部材にガイドワイヤを挿通させやすくなる。
【図面の簡単な説明】
【0010】
図1は、医療用具の実施の形態を示す断面図である。
図2は、医療用具の他の実施の形態を示す断面図である。
図3は、医療用具の他の実施の形態を示す断面図である。
図4は、医療用具の他の実施の形態を示す断面図である。
図5は、医療用具の他の実施の形態を示す断面図である。
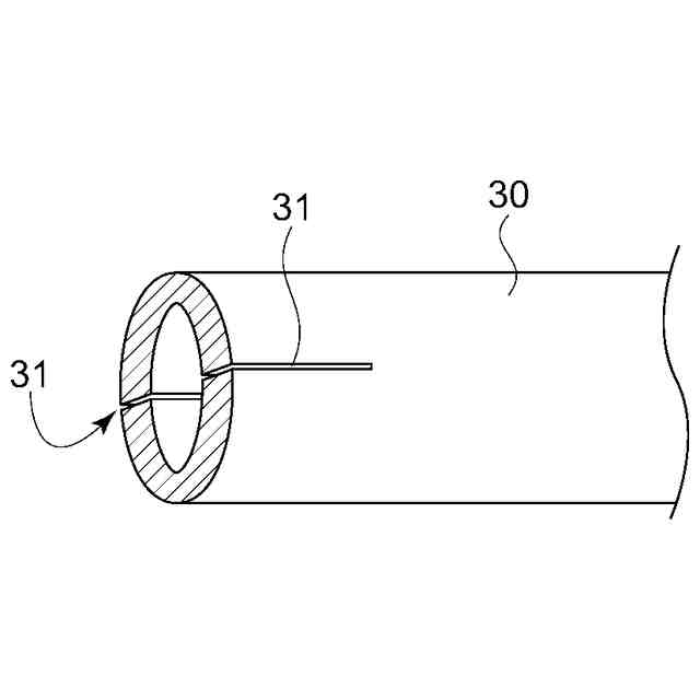
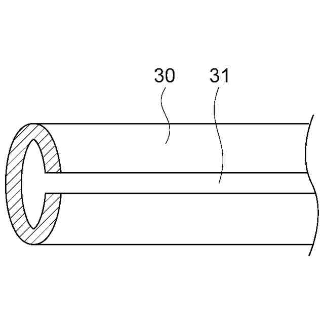
図6は、ガイド部材の実施の形態を示す斜視図である。
図7は、ガイド部材の他の実施の形態を示す斜視図である。
図8は、ガイド部材の他の実施の形態を示す斜視図である。
図9は、医療用具の他の実施の形態を示す断面図である。
図10は、医療用具の他の実施の形態を示す断面図である。
図11は、医療用具の他の実施の形態を示す断面図である。
図12は、判定方法を説明するための模式図である。
図13は、判定方法を説明するための模式図である。
図14は、判定方法を説明するための模式図である。
図15は、医療用具の他の実施の形態を示す断面図である。
【発明を実施するための形態】
(【0011】以降は省略されています)
この特許をJ-PlatPat(特許庁公式サイト)で参照する
関連特許
株式会社カネカ
抗菌剤
7日前
株式会社カネカ
製膜装置
今日
株式会社カネカ
医療用具
今日
株式会社カネカ
積層装置
4日前
株式会社カネカ
製膜装置
今日
株式会社カネカ
塗布装置
4日前
株式会社カネカ
汎用かつら
15日前
株式会社カネカ
カテーテル
今日
株式会社カネカ
ヘルメット
24日前
株式会社カネカ
正極活物質
4日前
株式会社カネカ
カテーテル
今日
株式会社カネカ
カテーテル
今日
株式会社カネカ
製造システム
28日前
株式会社カネカ
光学フィルム
1か月前
株式会社カネカ
硬化性組成物
14日前
株式会社カネカ
製造システム
1か月前
株式会社カネカ
樹脂チューブ
14日前
株式会社カネカ
生体内留置具
今日
株式会社カネカ
油脂の製造方法
2日前
株式会社カネカ
延長カテーテル
16日前
株式会社カネカ
顆粒の製造方法
4日前
株式会社カネカ
フィルム延伸装置
4日前
株式会社カネカ
ブラッシング装置
16日前
株式会社カネカ
ブラッシング装置
16日前
株式会社カネカ
ブラッシング装置
16日前
株式会社カネカ
フィルム延伸装置
2日前
株式会社カネカ
ブラッシング装置
16日前
株式会社カネカ
可撓性ガス拡散電極
4日前
株式会社カネカ
樹脂粒子の製造方法
8日前
株式会社カネカ
太陽電池モジュール
2日前
株式会社カネカ
バルーンカテーテル
2日前
株式会社カネカ
太陽光発電システム
23日前
株式会社カネカ
生産計画立案システム
4日前
株式会社カネカ
樹脂成形体の製造方法
14日前
株式会社カネカ
繊維溶解液調整システム
23日前
株式会社カネカ
硬化性組成物および硬化物
14日前
続きを見る
他の特許を見る