TOP
|
特許
|
意匠
|
商標
特許ウォッチ
Twitter
他の特許を見る
公開番号
2025145292
公報種別
公開特許公報(A)
公開日
2025-10-03
出願番号
2024045393
出願日
2024-03-21
発明の名称
生体内留置具
出願人
株式会社カネカ
代理人
弁理士法人アスフィ国際特許事務所
主分類
A61F
2/82 20130101AFI20250926BHJP(医学または獣医学;衛生学)
要約
【課題】生体管腔の観察や生体管腔への光の照射を行うことができる生体内留置具を提供する。
【解決手段】チューブ10を有する生体内留置具1であって、チューブ10は、チューブ10の延在方向に対して、第1区間21、第2区間22、および第1区間21と第2区間22との間に位置している第3区間23を有し、第3区間23におけるチューブ10は、第1区間21および第2区間22の少なくとも一方におけるチューブ10よりも光透過率が高い部分を有している。
【選択図】図2
特許請求の範囲
【請求項1】
チューブを有する生体内留置具であって、
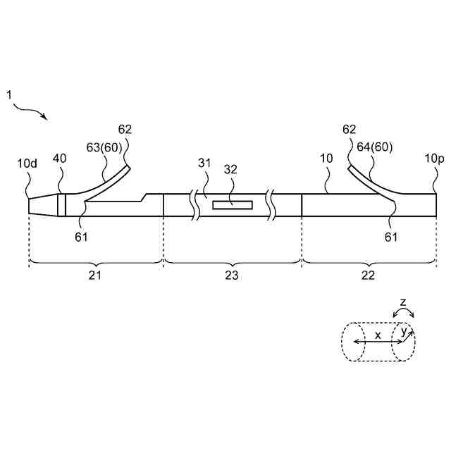
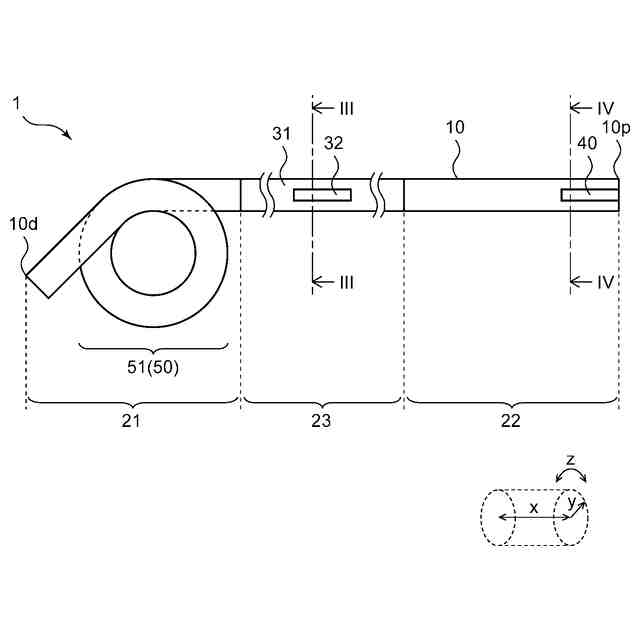
前記チューブは、前記チューブの延在方向に対して、第1区間、第2区間、および前記第1区間と前記第2区間との間に位置している第3区間を有し、
前記第3区間における前記チューブは、前記第1区間および前記第2区間の少なくとも一方における前記チューブよりも光透過率が高い部分を有している生体内留置具。
続きを表示(約 870 文字)
【請求項2】
前記第3区間における前記チューブは、透明または半透明であって光が通過可能である材料から構成されている請求項1に記載の生体内留置具。
【請求項3】
前記第1区間における前記チューブの色および前記第2区間における前記チューブの色の少なくとも一方は、前記第3区間における前記チューブの色と互いに異なっている請求項1に記載の生体内留置具。
【請求項4】
前記第1区間における前記チューブおよび前記第2区間における前記チューブの少なくとも一方は、不透明である材料から構成されている請求項1に記載の生体内留置具。
【請求項5】
前記第1区間は、前記チューブの遠位部に位置し、
前記第2区間は、前記チューブの近位部に位置しており、
前記第2区間における前記チューブは、不透明である材料から構成されている請求項1に記載の生体内留置具。
【請求項6】
前記第3区間における前記チューブは、低光透過部分と、前記低光透過部分よりも光透過率が高い高光透過部分と、を有している請求項1に記載の生体内留置具。
【請求項7】
前記チューブに位置マーカーが設けられている請求項1に記載の生体内留置具。
【請求項8】
前記位置マーカーは、X線不透過部を有している請求項7に記載の生体内留置具。
【請求項9】
前記チューブに位置マーカーが設けられており、
前記チューブの周方向における前記位置マーカーの位置は、前記チューブの周方向における前記高光透過部分が存在している位置と少なくとも一部が対応している請求項6に記載の生体内留置具。
【請求項10】
前記第1区間は、前記チューブの遠位部に位置し、
前記第2区間は、前記チューブの近位部に位置しており、
前記第1区間および前記第2区間の少なくとも一方において、前記チューブは、円弧状に湾曲している円弧部を構成している請求項1に記載の生体内留置具。
発明の詳細な説明
【技術分野】
【0001】
本発明は、気管や消化管、尿管、子宮頚管等の生体管腔に留置される生体内留置具に関するものである。
続きを表示(約 2,800 文字)
【背景技術】
【0002】
血管、あるいは胆管や膵管等の消化管等の生体管腔は、種々の原因で狭窄や閉塞することがある。例えば、胆石や腫瘍等によって胆管が閉塞すると、胆汁が胆管内に停滞し、細菌感染を引き起こす可能性がある。胆汁の細菌感染は胆管炎を招き、さらに細菌を含んだ胆汁が肝臓を通って全身の血液中に流入すると敗血症を引き起こすおそれがある。このような場合、胆管内から胆汁を排出する処置が必要となる。生体管腔の狭窄や閉塞に起因する種々疾患を治療する方法として、狭窄部位または閉塞部位にチューブ状のステントを留置し、狭窄部位や閉塞部位を内側から拡張して生体管腔を広げる方法が知られている。
【0003】
例えば、胆管に狭窄や閉塞が生じた場合、狭窄部位や閉塞部位に胆管用のチューブステントを送達させる。送達されたチューブステントは狭窄部位や閉塞部位に留置され、狭窄部位や閉塞部位を内側から押し広げる。チューブステントの留置により、狭窄部位や閉塞部位における胆管の内径が広げられ、狭窄や閉塞が改善される。その結果、胆管内から十二指腸側への胆汁の排出が可能となり、胆管が狭窄や閉塞することにより生じる胆道閉塞症、黄疸等の様々な疾患を治療できる。
【0004】
例えば、特許文献1には、少なくとも一端が円弧の少なくとも一部からなるステント円弧部を具えるチューブステントと、ステント円弧部と同一形状のインナー円弧部が形成され、該インナー円弧部とステント円弧部の位置が一致するようにチューブステントの内部に挿通されているインナーカテーテルとで構成される、ステントキットが開示されている。特許文献2には、カテーテルであって、円筒壁、第1の端部、第2の端部、第1の端部近傍の第1の保定特徴、および第2の端部近傍の第2の保定特徴を備える、管と、着脱可能部分であって、着脱可能部分は、第2の端部において、管と流体連通し、かつ、管に除去可能に取付可能である着脱可能部分と、少なくとも1つの管腔を備える内管であって、内管は、管および着脱可能部分の両方の中に除去可能に挿入可能である、内管と、内管の少なくとも1つの管腔の少なくとも一部を通して延在する、ワイヤと、を備え、ワイヤの一部は、管に取り付けられる、カテーテルが開示されている。
【先行技術文献】
【特許文献】
【0005】
特開2015-008862号公報
特表2017-502818号公報
【発明の概要】
【発明が解決しようとする課題】
【0006】
閉塞または狭窄した生体管腔において、手技中に管腔内の観察を行うことの要望があった。特許文献1および2のようなチューブステントでは、閉塞部や狭窄部にチューブステントを留置すると、閉塞部や狭窄部が留置したチューブステントに覆われるため観察することができず、改善の余地があった。
【0007】
また、チューブステントによって閉塞または狭窄した生体管腔を拡張させながら、閉塞または狭窄した生体管腔に光を照射して光線力学的療法を行うことの要望もあった。特許文献1および2のようなチューブステントでは、閉塞部や狭窄部に光を照射することができず、この点でも改善の余地があった。
【0008】
本発明は、前記の事情に鑑みてなされたものであり、その目的は、生体管腔の観察や生体管腔への光の照射を行うことができる生体内留置具を提供することにある。
【課題を解決するための手段】
【0009】
前記課題を解決することができた本発明の実施の形態に係る生体内留置具は、以下の通りである。
[1] チューブを有する生体内留置具であって、
前記チューブは、前記チューブの延在方向に対して、第1区間、第2区間、および前記第1区間と前記第2区間との間に位置している第3区間を有し、
前記第3区間における前記チューブは、前記第1区間および前記第2区間の少なくとも一方における前記チューブよりも光透過率が高い部分を有している生体内留置具。
[2] 前記第3区間における前記チューブは、透明または半透明であって光が通過可能である材料から構成されている[1]に記載の生体内留置具。
[3] 前記第1区間における前記チューブの色および前記第2区間における前記チューブの色の少なくとも一方は、前記第3区間における前記チューブの色と互いに異なっている[1]または[2]に記載の生体内留置具。
[4] 前記第1区間における前記チューブおよび前記第2区間における前記チューブの少なくとも一方は、不透明である材料から構成されている[1]~[3]のいずれかに記載の生体内留置具。
[5] 前記第1区間は、前記チューブの遠位部に位置し、
前記第2区間は、前記チューブの近位部に位置しており、
前記第2区間における前記チューブは、不透明である材料から構成されている[1]~[4]のいずれかに記載の生体内留置具。
[6] 前記第3区間における前記チューブは、低光透過部分と、前記低光透過部分よりも光透過率が高い高光透過部分と、を有している[1]~[5]のいずれかに記載の生体内留置具。
[7] 前記チューブに位置マーカーが設けられている[1]~[6]のいずれかに記載の生体内留置具。
[8] 前記位置マーカーは、X線不透過部を有している[7]に記載の生体内留置具。
[9] 前記チューブに位置マーカーが設けられており、
前記チューブの周方向における前記位置マーカーの位置は、前記チューブの周方向における前記高光透過部分が存在している位置と少なくとも一部が対応している[6]に記載の生体内留置具。
[10] 前記第1区間は、前記チューブの遠位部に位置し、
前記第2区間は、前記チューブの近位部に位置しており、
前記第1区間および前記第2区間の少なくとも一方において、前記チューブは、円弧状に湾曲している円弧部を構成している[1]~[9]のいずれかに記載の生体内留置具。
【発明の効果】
【0010】
本発明の生体内留置具によれば、第1区間と前記第2区間との間に位置している第3区間におけるチューブが、第1区間および第2区間の少なくとも一方におけるチューブよりも光透過率が高い部分を有していることにより、第3区間においてチューブが光を通しやすくなる。その結果、第3区間の光透過率が高い部分において生体管腔の観察や生体管腔への光の照射を行うことが可能となる。
【図面の簡単な説明】
(【0011】以降は省略されています)
この特許をJ-PlatPat(特許庁公式サイト)で参照する
関連特許
株式会社カネカ
飲料
3日前
株式会社カネカ
飲料
3日前
株式会社カネカ
抗菌剤
14日前
株式会社カネカ
製膜装置
7日前
株式会社カネカ
積層装置
11日前
株式会社カネカ
製膜装置
7日前
株式会社カネカ
塗布装置
11日前
株式会社カネカ
医療用具
7日前
株式会社カネカ
カテーテル
7日前
株式会社カネカ
ヘルメット
1か月前
株式会社カネカ
正極活物質
11日前
株式会社カネカ
カテーテル
7日前
株式会社カネカ
カテーテル
7日前
株式会社カネカ
カテーテル
1日前
株式会社カネカ
カテーテル
1日前
株式会社カネカ
カテーテル
1日前
株式会社カネカ
カテーテル
1日前
株式会社カネカ
汎用かつら
22日前
株式会社カネカ
カテーテル
2日前
株式会社カネカ
樹脂チューブ
21日前
株式会社カネカ
硬化性組成物
21日前
株式会社カネカ
酵母含有菓子
2日前
株式会社カネカ
生体内留置具
7日前
株式会社カネカ
油脂の製造方法
9日前
株式会社カネカ
顆粒の製造方法
11日前
株式会社カネカ
医療用具セット
3日前
株式会社カネカ
延長カテーテル
23日前
株式会社カネカ
フィルム延伸装置
9日前
株式会社カネカ
ブラッシング装置
23日前
株式会社カネカ
ブラッシング装置
23日前
株式会社カネカ
ブラッシング装置
23日前
株式会社カネカ
ブラッシング装置
23日前
株式会社カネカ
フィルム延伸装置
11日前
株式会社カネカ
太陽電池モジュール
9日前
株式会社カネカ
バルーンカテーテル
9日前
株式会社カネカ
樹脂粒子の製造方法
15日前
続きを見る
他の特許を見る