TOP
|
特許
|
意匠
|
商標
特許ウォッチ
Twitter
他の特許を見る
公開番号
2025142774
公報種別
公開特許公報(A)
公開日
2025-10-01
出願番号
2024042320
出願日
2024-03-18
発明の名称
バルーンカテーテル
出願人
株式会社カネカ
代理人
弁理士法人アスフィ国際特許事務所
主分類
A61M
25/10 20130101AFI20250924BHJP(医学または獣医学;衛生学)
要約
【課題】バルーンの遠位端部の強度が高く、硬化した生体管腔を通過する際にバルーンの破損が生じにくいバルーンカテーテルを提供する。
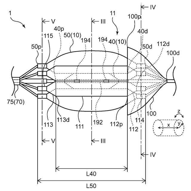
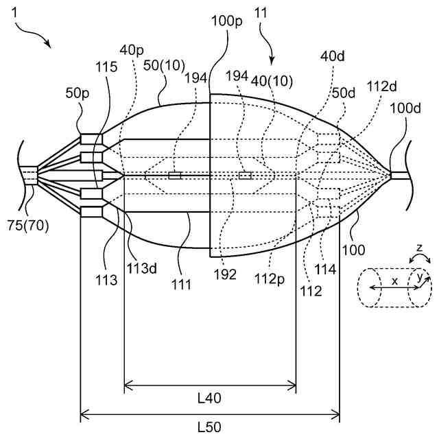
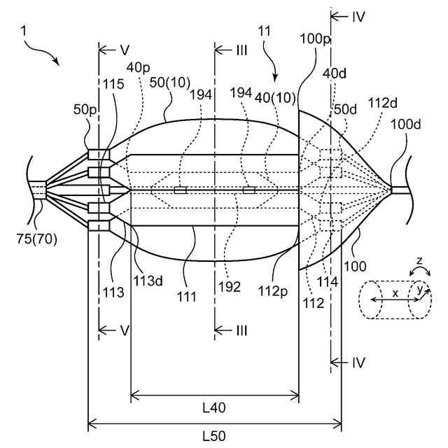
【解決手段】周方向zにおいて互いに並列に配置されている複数のバルーン10を含むバルーン群11と、バルーン群11の径方向外方に配されている被覆材100と、を有しており、バルーン群11は、直管部111と、直管部111よりも遠位側に位置する遠位側テーパー部112と、直管部111よりも近位側に位置する近位側テーパー部113と、を有し、被覆材100は、少なくとも遠位側テーパー部112の外方に配されており、近位側テーパー部113の外方には配されていないバルーンカテーテル1。
【選択図】図2
特許請求の範囲
【請求項1】
周方向において互いに並列に配置されている複数のバルーンを含むバルーン群と、
前記バルーン群の径方向外方に配されている被覆材と、を有しており、
前記バルーン群は、直管部と、前記直管部よりも遠位側に位置する遠位側テーパー部と、前記直管部よりも近位側に位置する近位側テーパー部と、を有し、
前記被覆材は、少なくとも前記遠位側テーパー部の外方に配されており、前記近位側テーパー部の外方には配されていないバルーンカテーテル。
続きを表示(約 740 文字)
【請求項2】
前記被覆材は、フィルター部を有している請求項1に記載のバルーンカテーテル。
【請求項3】
前記被覆材は、開口を有しており、
前記開口の大きさは、31000μm
2
以上3150000μm
2
以下である請求項1に記載のバルーンカテーテル。
【請求項4】
前記被覆材は、開口を有しており、
前記被覆材の開口率は、20%以上50%以下である請求項1に記載のバルーンカテーテル。
【請求項5】
前記被覆材の近位端は、前記遠位側テーパー部の近位端よりも近位側かつ前記近位側テーパー部の遠位端よりも遠位側に位置している請求項1に記載のバルーンカテーテル。
【請求項6】
前記被覆材は、前記直管部の外方には配されていない請求項1に記載のバルーンカテーテル。
【請求項7】
前記被覆材は、繊維または線材を含んでいる請求項1に記載のバルーンカテーテル。
【請求項8】
前記被覆材は、フィルム状物を含んでいる請求項1に記載のバルーンカテーテル。
【請求項9】
前記被覆材は、編組層またはフィルム状物層と、線材と、を含んでいる請求項1に記載のバルーンカテーテル。
【請求項10】
前記バルーン群は、前記遠位側テーパー部よりも遠位側に位置している遠位側スリーブ部と、前記近位側テーパー部よりも近位側に位置している近位側スリーブ部と、を有しており、
前記遠位側スリーブ部の厚みは、前記近位側スリーブ部の厚みよりも大きい請求項1に記載のバルーンカテーテル。
(【請求項11】以降は省略されています)
発明の詳細な説明
【技術分野】
【0001】
本発明は、バルーンカテーテルに関する。
続きを表示(約 3,100 文字)
【背景技術】
【0002】
血管内壁に石灰化等により硬化した狭窄部が形成されることにより、狭心症や心筋梗塞等の疾病が引き起こされる。これらの治療の一つとして、バルーンカテーテルを用いて狭窄部を拡張させる血管形成術がある。血管形成術は、バイパス手術のような開胸術を必要としない低侵襲療法であり、広く行われている。
【0003】
大動脈弁が石灰化等によって硬くなり、大動脈弁が開きにくくなって血液の流れが妨げられてしまう大動脈弁狭窄症という疾患がある。大動脈弁狭窄症の治療として、外科的開胸手術およびカテーテルによって生体弁(人工弁)を留置し、硬化した大動脈弁を生体弁に置き換える方法が用いられることがある。
【0004】
留置した生体弁は石灰化や摩耗等によって経年劣化する。留置した生体弁が劣化した場合、生体弁を置き換える必要がある。生体弁の置き換えにおいて、編組を有するバルーンカテーテルや複数本のバルーンカテーテルを用いて留置している生体弁に高い圧力を加えて変形または破壊し、弁の内腔を広げた上で変形または破壊した生体弁の内側に、経カテーテル的大動脈弁置換術等によって新たな生体弁を留置する手技が検討されている。
【0005】
硬化した狭窄部の拡張や生体弁の留置に用いられるバルーンカテーテルとして、例えば、特許文献1には、複数の膨張要素からなっている膨張手段を有し、複数の膨張要素の壁部が一緒になって膨張手段の膨張時にほぼ円形の横断面を有するように構成したことを特徴とするカテーテルが開示されており、特許文献2には、複数のバルーン部材を有し、複数の外側バルーン部材が内側バルーン部材の外面を取り囲むように配置されているバルーンカテーテルが開示されており、特許文献3には、複数のバルーンを有し、他のバルーンから影響を受けることなく独立して拡張し、拡張した後の状態では他のバルーンとは接触せず離れているバルーンカテーテルが開示されており、特許文献4には、内部通路を有する灌流バルーンと、灌流バルーンの内部通路に配置されるバルーンと、を有する装置が開示されており、特許文献5には、互いに独立して膨張および収縮させることができる第1-第3バルーンを含むカテーテルが開示されている。
【先行技術文献】
【特許文献】
【0006】
特公平03-013907号公報
米国特許出願公開第2012/0209375号明細書
特開2018-175550号公報
特表2018-536474号公報
国際公開第2021/054189号
【発明の概要】
【発明が解決しようとする課題】
【0007】
上記従来のバルーンカテーテルでは、複数のバルーンを有しているため、バルーンのチューブを複数束ねている部分がバルーンの遠位端部に存在している。このバルーンのチューブを複数束ねている部分には、各チューブ間に隙間が存在しており、この隙間に他物が引っ掛かってバルーンが破損してしまうという問題があった。具体的には、石灰化した血管や心臓弁等の硬化している生体管腔を通過する際に、バルーンの遠位端部にあるバルーンのチューブを複数束ねている部分が生体管腔の石灰化した部分に接触や引っ掛かってしまい、バルーンが破損してしまうことがあった。また、バルーンが硬化した生体管腔を通過する際、バルーンの先頭部分であるバルーンの遠位端部が生体管腔の内壁に接触し、バルーンの遠位端部におけるバルーン膜が傷ついてバルーンが破損してしまうという問題もあった。
【0008】
上記の事情に鑑み本発明は、バルーンの遠位端部に他物が引っ掛かりにくく、また、バルーンの遠位端部の強度が高く、硬化した生体管腔を通過する際にバルーンの破損が生じにくいバルーンカテーテルを提供することを目的とする。
【課題を解決するための手段】
【0009】
上記課題を解決し得た本発明の実施形態に係るバルーンカテーテルは、以下の通りである。
[1] 周方向において互いに並列に配置されている複数のバルーンを含むバルーン群と、
前記バルーン群の径方向外方に配されている被覆材と、を有しており、
前記バルーン群は、直管部と、前記直管部よりも遠位側に位置する遠位側テーパー部と、前記直管部よりも近位側に位置する近位側テーパー部と、を有し、
前記被覆材は、少なくとも前記遠位側テーパー部の外方に配されており、前記近位側テーパー部の外方には配されていないバルーンカテーテル。
[2] 前記被覆材は、フィルター部を有している[1]に記載のバルーンカテーテル。
[3] 前記被覆材は、開口を有しており、
前記開口の大きさは、31000μm
2
以上3150000μm
2
以下である[1]または[2]に記載のバルーンカテーテル。
[4] 前記被覆材は、開口を有しており、
前記被覆材の開口率は、20%以上50%以下である[1]~[3]のいずれかに記載のバルーンカテーテル。
[5] 前記被覆材の近位端は、前記遠位側テーパー部の近位端よりも近位側かつ前記近位側テーパー部の遠位端よりも遠位側に位置している[1]~[4]のいずれかに記載のバルーンカテーテル。
[6] 前記被覆材は、前記直管部の外方には配されていない[1]~[5]のいずれかに記載のバルーンカテーテル。
[7] 前記被覆材は、繊維または線材を含んでいる[1]~[6]のいずれかに記載のバルーンカテーテル。
[8] 前記被覆材は、フィルム状物を含んでいる[1]~[7]のいずれかに記載のバルーンカテーテル。
[9] 前記被覆材は、編組層またはフィルム状物層と、線材と、を含んでいる[1]~[8]のいずれかに記載のバルーンカテーテル。
[10] 前記バルーン群は、前記遠位側テーパー部よりも遠位側に位置している遠位側スリーブ部と、前記近位側テーパー部よりも近位側に位置している近位側スリーブ部と、を有しており、
前記遠位側スリーブ部の厚みは、前記近位側スリーブ部の厚みよりも大きい[1]~[9]のいずれかに記載のバルーンカテーテル。
[11] 前記バルーン群は、内側バルーンと、前記内側バルーンの径方向外方に配されている複数の外側バルーンと、を含んでいる[1]~[10]のいずれかに記載のバルーンカテーテル。
[12] 長手方向を有しているシャフトをさらに有しており、
前記被覆材の遠位端部は、前記シャフトに固定されており、
前記被覆材の近位端部は、前記バルーン群に固定されている[1]~[11]のいずれかに記載のバルーンカテーテル。
【発明の効果】
【0010】
上記バルーンカテーテルによれば、被覆材が少なくとも遠位側テーパー部の外方に配されており、近位側テーパー部の外方には配されていないことにより、被覆材によってバルーン群の遠位端部を保護し、石灰化等によって硬化した生体管腔の管壁と接触してもバルーンが破損しにくいバルーンカテーテルとすることができる。
【図面の簡単な説明】
(【0011】以降は省略されています)
この特許をJ-PlatPat(特許庁公式サイト)で参照する
関連特許
株式会社カネカ
抗菌剤
6日前
株式会社カネカ
塗布装置
3日前
株式会社カネカ
電解装置
1か月前
株式会社カネカ
二次電池
1か月前
株式会社カネカ
積層装置
3日前
株式会社カネカ
汎用かつら
14日前
株式会社カネカ
正極活物質
3日前
株式会社カネカ
ヘルメット
23日前
株式会社カネカ
製造システム
1か月前
株式会社カネカ
蓄冷材組成物
1か月前
株式会社カネカ
濃縮システム
1か月前
株式会社カネカ
硬化性組成物
1か月前
株式会社カネカ
光学フィルム
1か月前
株式会社カネカ
樹脂チューブ
13日前
株式会社カネカ
生体内留置具
1か月前
株式会社カネカ
硬化性組成物
1か月前
株式会社カネカ
製造システム
27日前
株式会社カネカ
保護キャップ
1か月前
株式会社カネカ
硬化性組成物
13日前
株式会社カネカ
延長カテーテル
15日前
株式会社カネカ
油脂の製造方法
1日前
株式会社カネカ
顆粒の製造方法
3日前
株式会社カネカ
フィルム延伸装置
3日前
株式会社カネカ
フィルム延伸装置
1日前
株式会社カネカ
ブラッシング装置
15日前
株式会社カネカ
ブラッシング装置
15日前
株式会社カネカ
ブラッシング装置
15日前
株式会社カネカ
ブラッシング装置
15日前
株式会社カネカ
太陽電池モジュール
2か月前
株式会社カネカ
バルーンカテーテル
1日前
株式会社カネカ
太陽電池モジュール
1日前
株式会社カネカ
太陽光発電システム
22日前
株式会社カネカ
可撓性ガス拡散電極
3日前
株式会社カネカ
樹脂粒子の製造方法
7日前
株式会社カネカ
固体撮像装置用基板
1か月前
株式会社カネカ
太陽電池モジュール
2か月前
続きを見る
他の特許を見る