TOP
|
特許
|
意匠
|
商標
特許ウォッチ
Twitter
他の特許を見る
公開番号
2025146089
公報種別
公開特許公報(A)
公開日
2025-10-03
出願番号
2024046691
出願日
2024-03-22
発明の名称
小型電動車両
出願人
ダイハツ工業株式会社
,
豊田鉄工株式会社
代理人
個人
主分類
B62K
5/01 20130101AFI20250926BHJP(鉄道以外の路面車両)
要約
【課題】停車時における車輪のロックを解除するロック解除スイッチを備える小型電動車両を提供する。
【解決手段】車体の前後にわたって延びる車体フレームと、前記車体フレームの中間部から上方に向かって延びるシートポストと、前記シートポストの中間部と前記車体フレームの後部とをつなぐ上部フレームと、停車中に車輪をロックする電磁ブレーキと、前記電磁ブレーキによる前記車輪のロックを解除するロック解除スイッチと、前記上部フレームに固定され、前記ロック解除スイッチが取り付けられたスイッチ取付ブラケットとを備える、小型電動車両。
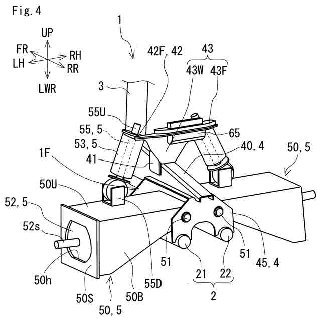
【選択図】図4
特許請求の範囲
【請求項1】
車体の前後にわたって延びる車体フレームと、
前記車体フレームの中間部から上方に向かって延びるシートポストと、
前記シートポストの中間部と前記車体フレームの後部とをつなぐ上部フレームと、
停車中に車輪をロックする電磁ブレーキと、
前記電磁ブレーキによる前記車輪のロックを解除するロック解除スイッチと、
前記上部フレームに固定され、前記ロック解除スイッチが取り付けられたスイッチ取付ブラケットとを備える、
小型電動車両。
発明の詳細な説明
【技術分野】
【0001】
本発明は、小型電動車両に関する。
続きを表示(約 1,800 文字)
【背景技術】
【0002】
特許文献1は、バッテリの電力によって駆動する小型電動車両を開示する。小型電動車両は、車体フレームと、車体フレームに取り付けられる車輪とを備える。車体フレームは、車両の前後方向に延びる左右一対のメインパイプと、二つのメインパイプを連結する複数のクロスメンバとを備える。
【先行技術文献】
【特許文献】
【0003】
特開2007-76477号公報
【発明の概要】
【発明が解決しようとする課題】
【0004】
小型電動車両には、停車時に車輪をロックする電磁ブレーキが備わっている場合がある。このような小型電動車両において、小型電動車両を人力で移動させたい状況がある。例えば、車輪が脱輪した場合、小型電動車両を手で押し引きしたり持ち上げたりして小型電動車両を移動させたいというニーズがある。
【0005】
本発明の目的の一つは、停車時における車輪のロックを解除するロック解除スイッチを備える小型電動車両を提供することにある。
【課題を解決するための手段】
【0006】
本発明の一態様に係る小型電動車両は、車体の前後にわたって延びる車体フレームと、前記車体フレームの中間部から上方に向かって延びるシートポストと、前記シートポストの中間部と前記車体フレームの後部とをつなぐ上部フレームと、停車中に車輪をロックする電磁ブレーキと、前記電磁ブレーキによる前記車輪のロックを解除するロック解除スイッチと、前記上部フレームに固定され、前記ロック解除スイッチが取り付けられたスイッチ取付ブラケットとを備える。
【発明の効果】
【0007】
上部フレームの上部は、シートの下方に位置する。この位置にロック解除スイッチがあれば、ユーザーが小型電動車両の側方に立って小型電動車両を動かす際、ロック解除スイッチを押しながら、ロック解除スイッチの周辺部材、例えばシート近傍を覆うボディーを掴んで、小型電動車両を人力で容易に移動させることができる。
【0008】
上記小型電動車両において、車体フレームとシートポストと上部フレームとは枠状につながることで互いに支え合い、互いの剛性を向上させる。剛性に優れる上部フレーム上にロック解除スイッチが配置されることで、例えば小型電動車両が脱輪するなどしたときに、ロック解除スイッチを押しながら、ロック解除スイッチの周辺部材を掴んで小型電動車両を持ち上げても、上記周辺部材が破損しにくい。また、その持ち上げの際にロック解除スイッチに強い応力が作用しても、ロック解除スイッチががたついたり外れたりしにくい。
【図面の簡単な説明】
【0009】
図1は、実施形態に記載される小型電動車両の概略側面図である。
図2は、図1の小型電動車両のシート近傍の部分を斜め後方から見た概略斜視図である。
図3は、図1の小型電動車両の車体フレームの概略斜視図である。
図4は、図1の小型電動車両におけるサスペンション装置近傍の構成を斜め後方から見た概略斜視図である。
図5は、図1の小型電動車両におけるサスペンション装置近傍の構成を側方から見た概略側面図である。
図6は、図1の小型電動車両におけるサスペンション装置近傍の構成を後方から見た概略後面図である。
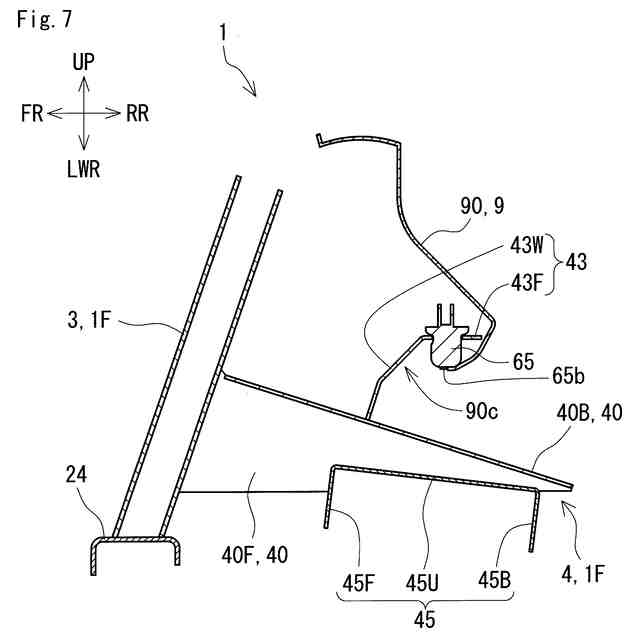
図7は、図2のVII-VII断面図である。
【発明を実施するための形態】
【0010】
以下、本発明に係る小型電動車両の実施形態の一例を図面に基づいて説明する。各図面が示す部材の大きさは、説明を明確にする目的で表現されており、必ずしも実際の寸法を表すものではない。図中の「UP」は車両の上方、「LWR」は下方、「FR」は前方、「RR」は後方、「RH」は右方、「LH」は左方を示す。以下の説明の「上」、「下」、「前」、「後」、「右」、および「左」のそれぞれは、車両の「上方」、「下方」、「前方」、「後方」、「右方」、および「左方」のそれぞれに対応している。なお、本発明は以下の例示に限定されるものではなく、特許請求の範囲によって示され、特許請求の範囲と均等の意味および範囲内でのすべての変更が含まれる。
(【0011】以降は省略されています)
この特許をJ-PlatPat(特許庁公式サイト)で参照する
関連特許
個人
カート
3か月前
個人
走行装置
3か月前
個人
電動走行車両
3か月前
個人
乗り物
5か月前
個人
閂式ハンドル錠
3か月前
個人
駐輪設備
1か月前
個人
ボギー・フレーム
1か月前
個人
ルーフ付きトライク
1か月前
個人
ルーフ付きトライク
2か月前
個人
“zen-go.”
2か月前
個人
パワーアシスト自転車
1か月前
株式会社豊田自動織機
産業車両
4か月前
個人
フロントフットブレーキ。
3か月前
個人
乗用自動車のディフューザー
12日前
個人
ホイールハブ駆動構造
4か月前
豊田鉄工株式会社
小型車両
2か月前
個人
折り畳み作業机搭載の変型台車
1か月前
個人
ハブモーターの配線構造
18日前
個人
二輪車の三次元折りたたみ機構
1か月前
株式会社GEAR
電動カート
2か月前
船井電機株式会社
車両
1か月前
トヨタ自動車株式会社
パネル
4か月前
個人
走行車両等の粉塵飛散防止装置
3か月前
個人
自転車の駐輪場システム
5か月前
株式会社GEAR
電動カート
4か月前
個人
自動車のタイヤの位置について
1か月前
ヤマハ発動機株式会社
自転車
3か月前
豊田合成株式会社
ハンドル装置
3か月前
ダイハツ工業株式会社
車両構造
3か月前
ダイハツ工業株式会社
車両構造
3か月前
株式会社カインズ
荷台車
1か月前
ダイハツ工業株式会社
車両構造
1か月前
ダイハツ工業株式会社
車両構造
1か月前
豊田合成株式会社
ハンドル装置
3か月前
マルイチエクソム株式会社
台車
5か月前
ダイハツ工業株式会社
車両構造
3か月前
続きを見る
他の特許を見る