TOP
|
特許
|
意匠
|
商標
特許ウォッチ
Twitter
他の特許を見る
10個以上の画像は省略されています。
公開番号
2025146361
公報種別
公開特許公報(A)
公開日
2025-10-03
出願番号
2024047092
出願日
2024-03-22
発明の名称
プログラム、端末装置、方法
出願人
キヤノン株式会社
代理人
弁理士法人大塚国際特許事務所
主分類
H04W
48/16 20090101AFI20250926BHJP(電気通信技術)
要約
【課題】周辺機器のセットアップ処理を効率的に実行するプログラムを提供する。
【解決手段】周辺機器のセットアップに関わらない機能を有する第2のプログラムで特定のモードの周辺機器が発見された場合、セットアップに関わる機能を有する第1のプログラムを起動する場合に当該特定のモードの周辺機器の情報を第1のプログラムに渡す。起動された第1のプログラムは、端末装置が属するネットワークにおける周辺機器の検索を行うことなく、特定のモードの周辺機器の情報に基づいて、特定のモードの周辺機器を端末装置が属するネットワークに接続させるように制御する。
【選択図】図6
特許請求の範囲
【請求項1】
端末装置において周辺機器のセットアップを行うためのプログラムであって、
前記プログラムは、前記周辺機器のセットアップに関わる機能を有する第1のプログラムと、前記周辺機器のセットアップに関わらない機能を有する第2のプログラムとを含み、
前記第2のプログラムは、
特定のモードの周辺機器を検索する検索手段、
前記第1のプログラムを起動する起動手段、として前記端末装置を機能させ、
前記検索手段により前記特定のモードの周辺機器が発見された場合、
前記起動手段は、前記第1のプログラムを起動する場合に当該特定のモードの周辺機器の情報を前記第1のプログラムに渡し、前記起動手段により起動された前記第1のプログラムは、前記端末装置が属するネットワークにおける前記周辺機器の検索を行うことなく、前記特定のモードの周辺機器の情報に基づいて、前記特定のモードの周辺機器を前記端末装置が属するネットワークに接続させるように制御する、
ことを特徴とするプログラム。
続きを表示(約 1,400 文字)
【請求項2】
前記第2のプログラムから前記特定のモードの周辺機器の情報を渡されて前記起動手段により前記第1のプログラムが起動した場合、前記第1のプログラムは、前記特定のモードの周辺機器を検索することなく、前記特定のモードの周辺機器の情報に基づいて、前記特定のモードの周辺機器を前記端末装置が属するネットワークに接続させるように制御することを特徴とする請求項1に記載のプログラム。
【請求項3】
前記第1のプログラムは、前記周辺機器のセットアップを行うための画面を表示するよう制御する第1の表示制御手段、としてさらに前記端末装置を機能させることを特徴とする請求項1に記載のプログラム。
【請求項4】
前記第2のプログラムから前記特定のモードの周辺機器の情報を渡されて前記起動手段により前記第1のプログラムが起動した場合、前記第1の表示制御手段は、前記端末装置が属するネットワークにおける前記周辺機器の検索に関する画面を表示しないように制御することを特徴とする請求項3に記載のプログラム。
【請求項5】
前記第2のプログラムから前記特定のモードの周辺機器の情報を渡されて前記起動手段により前記第1のプログラムが起動した場合、前記第1の表示制御手段は、前記特定のモードの周辺機器の検索に関する画面を表示しないように制御することを特徴とする請求項3に記載のプログラム。
【請求項6】
前記特定のモードの周辺機器の検索に関する画面は、前記周辺機器を前記特定のモードにするためのガイダンス画面を含むことを特徴とする請求項5に記載のプログラム。
【請求項7】
前記検索手段により前記特定のモードの周辺機器が発見され、当該特定のモードの周辺機器の情報が特定された場合、前記起動手段は、前記第1のプログラムを起動する場合に当該特定された前記特定のモードの周辺機器の情報を前記第1のプログラムに渡すことを特徴とする請求項1に記載のプログラム。
【請求項8】
前記第2のプログラムは、
前記起動手段により前記第1のプログラムを起動させるための画面を表示するよう制御する第2の表示制御手段、としてさらに前記端末装置を機能させ、
前記第1のプログラムを起動させるための画面は、前記第1のプログラムを起動させるための指示を受付可能な画面であり、
前記起動手段は、前記第1のプログラムを起動させるための画面において前記指示を受け付けた場合、前記第1のプログラムを起動する、
ことを特徴とする請求項7に記載のプログラム。
【請求項9】
前記特定のモードの周辺機器の情報が特定された場合、前記第2の表示制御手段は、当該特定された前記特定のモードの周辺機器の情報を、前記第1のプログラムを起動させるための画面に含ませて表示するよう制御することを特徴とする請求項8に記載のプログラム。
【請求項10】
前記特定のモードの周辺機器の情報が特定されない場合、前記第2の表示制御手段は、前記特定のモードの周辺機器の情報を含ませずに、前記第1のプログラムを起動させるための画面を表示するよう制御することを特徴とする請求項9に記載のプログラム。
(【請求項11】以降は省略されています)
発明の詳細な説明
【技術分野】
【0001】
本発明は、周辺機器の無線ネットワークへの接続設定を実行可能なプログラム、端末装置、方法に関する。
続きを表示(約 2,500 文字)
【背景技術】
【0002】
端末装置と接続して利用可能な機器(以降、周辺機器と記載する)にはプリンタやカメラ、スマートデバイス、家電製品など多くの種類がある。これらの周辺機器はいずれも端末装置もしくは周辺機器の操作によってLAN(ローカルエリアネットワーク)に接続することができ、LANを介して端末装置から利用することができる。また、LANは無線ネットワークで構築される場合があり、この場合、有線ネットワークと比べて、機器の設置場所を選ばないという利便性がある。しかしながら、周辺機器等の通信機器を無線ネットワークに参加させるための操作がユーザにとって困難となる場合がある。特許文献1では、端末装置にインストールされているアプリケーションプログラム(以下、アプリケーション又はアプリ)が、無線LANへの接続設定を可能な状態(無線設定モード、あるいはネットワークセットアップモードと呼ぶ)のプリンタを検出することが記載されている。そして、検出されたプリンタに対して、端末装置が接続している無線LANへの接続情報を渡すことで、プリンタの無線LANへの接続設定を行うことが記載されている。
【0003】
ここで、プリンタは、無線LANへの接続設定が必要な場合に自動的に、あるいはプリンタの操作部をユーザが操作することにより無線設定モードとなる。また、無線設定モードのプリンタの検出とは、プリンタがアクセスポイント(AP)となり、端末装置のアプリケーションがそのAPを検出することである。アプリケーションは、APとなっているプリンタに端末装置をPeer to Peer接続(P2P接続)する。そして、それまで接続していた無線LANの情報、例えばAPのSSID(Service Set Identifier)やパスフレーズをプリンタに送信することで、プリンタの無線LANへの接続設定を行う。また、無線LANへの接続設定の完了後、プリンタは、無線設定モードを解除し、端末装置から指定されたAPに接続する。端末装置は、それまでに接続していたAPへの接続に戻る。一般的にプリンタの利用を開始する場合、このような無線LANへの接続設定を含む処理や関連アプリケーションのインストール処理が必要である。それらを担うアプリケーションは、プリンタのセットアップ処理を行うセットアップアプリケーションと呼ばれることがある。
【先行技術文献】
【特許文献】
【0004】
特開2018-191252号公報
【発明の概要】
【発明が解決しようとする課題】
【0005】
セットアップアプリケーションが起動される場合、セットアップアプリケーションは、セットアップ処理の対象となる周辺機器を特定するための処理を実行する。しかしながら、他のアプリケーションからセットアップアプリケーションが起動される場合には、他のアプリケーションにおいてセットアップ処理の対象となる周辺機器が既に特定されている場合がある。その場合、セットアップアプリケーションにおける処理が重複あるいは冗長となってしまう。
【0006】
本発明は、周辺機器のセットアップ処理を効率的に実行するプログラム、端末装置、方法を提供することを目的とする。
【課題を解決するための手段】
【0007】
上記課題を解決するため、本発明に係るプログラムは、端末装置において周辺機器のセットアップを行うためのプログラムであって、前記プログラムは、前記周辺機器のセットアップに関わる機能を有する第1のプログラムと、前記周辺機器のセットアップに関わらない機能を有する第2のプログラムとを含み、前記第2のプログラムは、特定のモードの周辺機器を検索する検索手段、前記第1のプログラムを起動する起動手段、として前記端末装置を機能させ、前記検索手段により前記特定のモードの周辺機器が発見された場合、前記起動手段は、前記第1のプログラムを起動する場合に当該特定のモードの周辺機器の情報を前記第1のプログラムに渡し、前記起動手段により起動された前記第1のプログラムは、前記端末装置が属するネットワークにおける前記周辺機器の検索を行うことなく、前記特定のモードの周辺機器の情報に基づいて、前記特定のモードの周辺機器を前記端末装置が属するネットワークに接続させるように制御することを特徴とする。
【発明の効果】
【0008】
本発明によれば、周辺機器のセットアップ処理を効率的に実行することができる。
【図面の簡単な説明】
【0009】
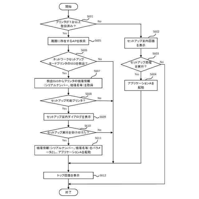
システム構成を示す図である。
各装置のハードウェア構成を示す図である。
端末装置のソフトウェア構成を示す図である。
ポータルアプリの画面を示す図である。
画面遷移を示す図である。
ポータルアプリの処理を示すフローチャートである。
画面遷移を示す図である。
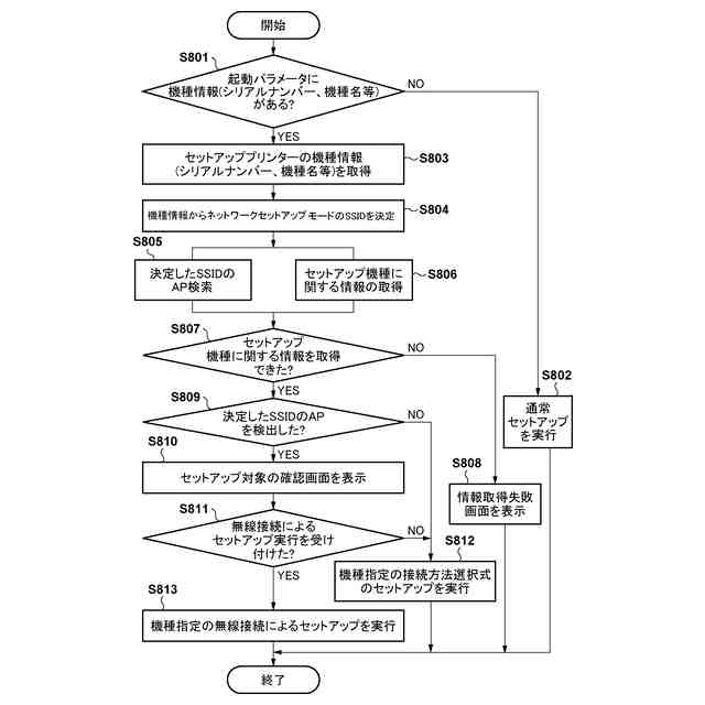
アプリケーションAの処理を示すフローチャートである。
アプリケーションAの画面を示す図である。
アプリケーションAの処理を示すフローチャートである。
ポータルアプリの処理を示すフローチャートである。
ポータルアプリの画面を示す図である。
画面遷移を示す図である。
【発明を実施するための形態】
【0010】
以下、添付図面を参照して実施形態を詳しく説明する。なお、以下の実施形態は特許請求の範囲に係る発明を限定するものではない。実施形態には複数の特徴が記載されているが、これらの複数の特徴の全てが発明に必須のものとは限らず、また、複数の特徴は任意に組み合わせられてもよい。さらに、添付図面においては、同一若しくは同様の構成に同一の参照番号を付し、重複した説明は省略する。
(【0011】以降は省略されています)
この特許をJ-PlatPat(特許庁公式サイト)で参照する
関連特許
キヤノン株式会社
トナー
11日前
キヤノン株式会社
トナー
16日前
キヤノン株式会社
トナー
11日前
キヤノン株式会社
トナー
11日前
キヤノン株式会社
電子機器
24日前
キヤノン株式会社
撮像装置
16日前
キヤノン株式会社
収容装置
24日前
キヤノン株式会社
記録装置
16日前
キヤノン株式会社
定着装置
24日前
キヤノン株式会社
電子機器
24日前
キヤノン株式会社
現像装置
9日前
キヤノン株式会社
現像容器
9日前
キヤノン株式会社
現像装置
9日前
キヤノン株式会社
定着装置
10日前
キヤノン株式会社
電子機器
18日前
キヤノン株式会社
現像容器
9日前
キヤノン株式会社
撮像装置
12日前
キヤノン株式会社
測距装置
4日前
キヤノン株式会社
表示装置
23日前
キヤノン株式会社
記録装置
9日前
キヤノン株式会社
撮像装置
24日前
キヤノン株式会社
現像装置
2日前
キヤノン株式会社
撮影装置
9日前
キヤノン株式会社
発光装置
23日前
キヤノン株式会社
定着装置
1か月前
キヤノン株式会社
電子機器
20日前
キヤノン株式会社
光学センサ
11日前
キヤノン株式会社
現像剤容器
17日前
キヤノン株式会社
半導体装置
18日前
キヤノン株式会社
モジュール
11日前
キヤノン株式会社
画像形成装置
9日前
キヤノン株式会社
画像形成装置
12日前
キヤノン株式会社
画像形成装置
20日前
キヤノン株式会社
画像形成装置
20日前
キヤノン株式会社
画像形成装置
24日前
キヤノン株式会社
画像形成装置
12日前
続きを見る
他の特許を見る