TOP
|
特許
|
意匠
|
商標
特許ウォッチ
Twitter
他の特許を見る
10個以上の画像は省略されています。
公開番号
2025146646
公報種別
公開特許公報(A)
公開日
2025-10-03
出願番号
2024217576
出願日
2024-12-12
発明の名称
液体吐出ヘッド、液体吐出装置、および液体吐出ヘッドの製造方法
出願人
株式会社リコー
代理人
個人
主分類
B41J
2/14 20060101AFI20250926BHJP(印刷;線画機;タイプライター;スタンプ)
要約
【課題】接合した部材同士の剥がれを抑制することを課題とする。
【解決手段】ノズルを有するノズル板31と、ノズル板31を覆うノズルカバー23と、ノズルカバー23に接合されるベース部材22と、を備えた液体吐出ヘッド20であって、ノズルカバー23は、ノズルカバー23の外周面を含んだ部分であり、周辺部よりも形状の部分的に変化した歪み部23bを有し、ベース部材22は、歪み部23bに対向する位置に凹部22aを有し、ノズルカバー23およびベース部材22の重ね合わせ方向視で、凹部22aはベース部材22の外側に面しないベース部材22の内側に設けられることを特徴とする。
【選択図】図13
特許請求の範囲
【請求項1】
ノズルを有するノズル部材と、
前記ノズル部材を覆うノズルカバーと、
前記ノズルカバーに接合されるノズル側接合部材と、を備えた液体吐出ヘッドであって、
前記ノズルカバーは、前記ノズルカバーの外周面を含んだ部分であり、周辺部よりも形状の部分的に変化した歪み部を有し、
前記ノズル側接合部材は、前記歪み部に対向する位置に貫通孔あるいは凹部を有し、
前記ノズルカバーおよび前記ノズル側接合部材の重ね合わせ方向視で、前記貫通孔あるいは前記凹部は、前記ノズル側接合部材の外側に面しない前記ノズル側接合部材の内側に設けられることを特徴とする液体吐出ヘッド。
続きを表示(約 1,100 文字)
【請求項2】
ノズルを有するノズル部材と、
前記ノズル部材を覆うノズルカバーと、
前記ノズルカバーに接合されるノズル側接合部材と、を備えた液体吐出ヘッドであって、
前記ノズルカバーは、その他の部分よりも外周側に突出した突出部を有し、
前記ノズル側接合部材は、前記突出部に対向する位置に貫通孔あるいは凹部を有し、
前記ノズルカバーおよび前記ノズル側接合部材の重ね合わせ方向視で、前記貫通孔あるいは前記凹部は、前記ノズル側接合部材の外側に面しない前記ノズル側接合部材の内側に設けられることを特徴とする液体吐出ヘッド。
【請求項3】
前記ノズル側接合部材は、前記歪み部に対向する位置に貫通孔を有し、
前記貫通孔がネジ孔である請求項1記載の液体吐出ヘッド。
【請求項4】
前記貫通孔あるいは凹部に接着剤を充填して前記歪み部と接合する請求項1記載の液体吐出ヘッド。
【請求項5】
前記歪み部に設けられた前記ノズルカバーの外周面は切断面である請求項1記載の液体吐出ヘッド。
【請求項6】
前記切断面に前記凹部あるいは前記貫通孔が対向する請求項5記載の液体吐出ヘッド。
【請求項7】
第1接合部材と、
少なくとも積層された第1基板および第2基板を有し、前記第1接合部材に接合される積層基板部と、を備えた液体吐出ヘッドであって、
前記第1基板は第1凸部を有し、
前記第2基板は、前記第1凸部と同じ方向に突出した第2凸部を有し、
前記第1接合部材は、前記第1凸部に対向する第1溝部を有し、
前記第1凸部と前記第1溝部との間に塗布された接着剤が前記第1凸部の前記第1溝部に対向する面に接触することを特徴とする液体吐出ヘッド。
【請求項8】
前記第1基板と前記第2基板との積層方向視で、前記第2凸部は前記第1凸部に重ならない位置に配置される請求項7記載の液体吐出ヘッド。
【請求項9】
前記第1基板と前記第2基板との積層方向に垂直な方向で、前記第1凸部の突出方向と異なる方向において、前記第1接合部材の中央側を内側、端部側を外側とすると、前記第2凸部が前記第1凸部よりも外側に配置される請求項8記載の液体吐出ヘッド。
【請求項10】
前記積層基板部は、前記第1凸部および前記第2凸部を含む複数の凸部を有し、
前記第2凸部は、前記凸部の中で最も前記外側に配置され、
前記第1接合部材は、前記第2凸部に対向する第2溝部を有し、
前記第2溝部は前記第1溝部よりもその深さが深い請求項9記載の液体吐出ヘッド。
(【請求項11】以降は省略されています)
発明の詳細な説明
【技術分野】
【0001】
本発明は、液体吐出ヘッド、液体吐出装置、および液体吐出ヘッドの製造方法に関する。
続きを表示(約 2,700 文字)
【背景技術】
【0002】
液体吐出ヘッドにおいては、複数の板状の部材が接着剤により接合して設けられる。
【0003】
例えば特許文献1(特開2023―65011号公報)の液体吐出ヘッドでは、ノズルカバーが、ベース部材およびヘッド本体のフレーム部材である共通液室部材と接着剤により接合される。
【発明の概要】
【発明が解決しようとする課題】
【0004】
しかし、組立時や組立後の液体吐出ヘッド動作時等、接合した部材に対して外力が加わることで、接合した部材が剥がれるという問題がある。
【0005】
本発明では、接合した部材同士の剥がれを抑制することを課題とする。
【課題を解決するための手段】
【0006】
上記の課題を解決するため、本発明は、ノズルを有するノズル部材と、前記ノズル部材を覆うノズルカバーと、前記ノズルカバーに接合されるノズル側接合部材と、を備えた液体吐出ヘッドであって、前記ノズルカバーは、前記ノズルカバーの外周面を含んだ部分であり、周辺部よりも形状の部分的に変化した歪み部を有し、前記ノズル側接合部材は、前記歪み部に対向する位置に貫通孔あるいは凹部を有し、前記ノズルカバーおよび前記ノズル側接合部材の重ね合わせ方向視で、前記貫通孔あるいは前記凹部は前記ノズル側接合部材の外側に面しない前記ノズル側接合部材の内側に設けられることを特徴とする。
【発明の効果】
【0007】
本発明は、接合した部材同士の剥がれを抑制できる。
【図面の簡単な説明】
【0008】
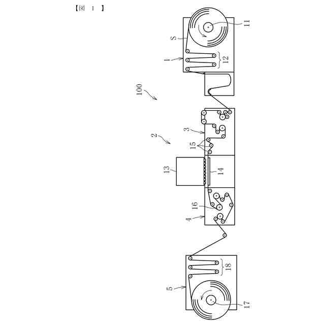
本発明の一実施形態に係るインクジェット式画像形成装置の全体構成を示す図である。
本実施形態に係るインクジェット画像形成装置の制御システムを示す図である。
液体吐出ヘッドの構成の一例を示す分解斜視図である。
図3に示される液体吐出ヘッドの短手方向の断面図である。
ライン型のヘッドユニットの構成の一例を示す平面図である。
シリアル型のヘッドユニットの構成の一例を示す平面図である。
本発明の実施形態と異なる液体吐出ヘッドをノズル面側から見た平面図である。
図7の液体吐出ヘッドからノズルカバーを取り外した状態の図である。
図7のA1―A1線断面図である。
ノズルカバーから固定部を切断する様子を示す図である。
本発明の一実施形態に係る液体吐出ヘッドをノズル面側から見た平面図である。
図11の液体吐出ヘッドからノズルカバーを取り外した状態の図である。
図11のA2―A2線断面図である。
ノズルカバーに設けられた固定部の別の形態を示す図である。
ベース部材に設けられた孔部の別の形態を示す断面図である。
液体吐出ヘッドの別の形態を示す断面図である。
液体吐出装置の異なる実施例を示す概略構成図である。
本発明の一実施形態に係る液体吐出ヘッドおよびカバーの斜視図である。
図18のA断面図である。
本実施形態と異なる液体吐出ヘッドにおいて、その製造過程の基板の積層状態を示す斜視図である。
基板と把持部を接続する接続部がずらして配置された図である。
図18の液体吐出ヘッドにおける共通流路部材、第1ダンパーフレーム、第2ダンパーフレームの積層構成を示す斜視断面図である。
図18の液体吐出ヘッドを第2ダンパーフレーム側から見た平面図である。
図18の液体吐出ヘッドにおける共通流路部材、第1ダンパーフレーム、第2ダンパーフレームの積層構成を示す正面図である。
凸部が屈曲して溝部に入り込む様子を示す正面図である。
第1切断工程後の各基板を示す平面図である。
第2切断工程の様子を示す正面図である。
共通流路部材の外周部の他の例を示す正面図である。
凸部が共通流路部材側へ湾曲した状態を示す正面図である。
共通流路部材と第1ダンパーフレームの幅を示す正面図である。
第1溝部および第2溝部の他の例を示す平面図である。
図18と異なる実施形態の液体吐出ヘッドを示す断面図である。
図32の液体吐出ヘッドにおける共通流路部材、第1ダンパーフレーム、第2ダンパーフレーム等の積層構成を示す斜視断面図である。
図32の液体吐出ヘッドを第2ダンパーマニホールド側から見た平面図である。
図32の液体吐出ヘッドにおける共通流路部材、第1ダンパーフレーム、第2ダンパーフレーム等の積層構成を示す正面図である。
各凸部の配置を示す正面図である。
他の実施例の液体吐出ヘッドにおける共通流路部材、第1ダンパーフレーム、第2ダンパーフレーム等の積層構成を示す斜視断面図である。
さらに他の実施例の液体吐出ヘッドにおける共通流路部材、第1ダンパーフレーム、第2ダンパーフレーム等の積層構成を示す斜視断面図である。
図38の液体吐出ヘッドを第2ダンパーマニホールド側から見た平面図である。
図38の液体吐出ヘッドにおける共通流路部材、第1ダンパーフレーム、第2ダンパーフレーム等の積層構成を示す正面図である。
比較例の液体吐出ヘッドにおける共通流路部材、第1ダンパーフレーム、第2ダンパーフレーム等の積層構成を示す斜視断面図である。
図41の液体吐出ヘッドを第2ダンパーマニホールド側から見た平面図である。
図41の液体吐出ヘッドにおける共通流路部材、第1ダンパーフレーム、第2ダンパーフレーム等の積層構成を示す正面図である。
【発明を実施するための形態】
【0009】
以下、本発明に係る実施の形態について、図面を参照して説明する。なお、各図中、同一又は相当する部分には同一の符号を付しており、その重複説明は適宜に簡略化ないし省略する。以下の説明では、液体としてのインクを吐出する液体吐出ヘッドについて説明する。
【0010】
まず、図1及び図2に基づき、本発明に係る液体吐出装置の一実施形態であるインクジェット式画像形成装置の構成について説明する。図1は、インクジェット式画像形成装置の全体構成を示す図、図2は、インクジェット画像形成装置の制御システムを示す図である。
(【0011】以降は省略されています)
この特許をJ-PlatPat(特許庁公式サイト)で参照する
関連特許
個人
箔熱転写装置
1か月前
シヤチハタ株式会社
印判
4か月前
東レ株式会社
凸版印刷版原版
10か月前
シヤチハタ株式会社
反転式印判
9か月前
三光株式会社
感熱記録材料
6か月前
キヤノン株式会社
記録装置
1か月前
独立行政法人 国立印刷局
印刷物
7か月前
独立行政法人 国立印刷局
貼付機構
2か月前
株式会社リコー
液体吐出装置
2か月前
株式会社リコー
画像形成装置
1か月前
株式会社リコー
液体吐出装置
8か月前
株式会社リコー
液体吐出装置
4か月前
株式会社リコー
画像形成装置
16日前
株式会社リコー
印刷システム
20日前
株式会社リコー
液体吐出装置
7か月前
日本製紙株式会社
感熱記録体
7か月前
株式会社リコー
液体吐出装置
8か月前
株式会社リコー
画像形成装置
20日前
独立行政法人 国立印刷局
貼付装置
1か月前
株式会社リコー
液体吐出装置
5か月前
株式会社リコー
液体吐出装置
6か月前
独立行政法人 国立印刷局
記録媒体
8か月前
株式会社リコー
液体吐出装置
4か月前
キヤノン株式会社
画像形成装置
3か月前
キヤノン株式会社
画像記録装置
1か月前
ブラザー工業株式会社
プリンタ
2か月前
キヤノン株式会社
画像形成装置
7か月前
ブラザー工業株式会社
プリンタ
2か月前
キヤノン株式会社
画像形成装置
8か月前
キヤノン株式会社
印刷システム
7か月前
独立行政法人 国立印刷局
潜像印刷物
2か月前
ブラザー工業株式会社
液体吐出ヘッド
1か月前
キヤノン株式会社
画像処理装置
4か月前
キヤノン株式会社
画像形成装置
8か月前
キヤノン株式会社
画像形成装置
8か月前
ブラザー工業株式会社
プリンタ
9か月前
続きを見る
他の特許を見る