TOP
|
特許
|
意匠
|
商標
特許ウォッチ
Twitter
他の特許を見る
公開番号
2025147411
公報種別
公開特許公報(A)
公開日
2025-10-07
出願番号
2024047653
出願日
2024-03-25
発明の名称
電極棒の連結作業台および電極棒の連結作業方法
出願人
住友金属鉱山株式会社
代理人
個人
,
個人
,
個人
主分類
C25C
7/02 20060101AFI20250930BHJP(電気分解または電気泳動方法;そのための装置)
要約
【課題】電極棒の作業を安全に、かつ効率的に行うことが可能な作業台を提供すること。
【解決手段】電極棒(21)を構成する複数の電極単位棒(22-1~22-3)の内、一方の電極単位棒(22-2)を横向きに支持し位置決めする第1の支持部材(62)と、第1の支持部材(62)に支持された一方の電極単位棒(22-2)の中心軸の延長上に他方の電極単位棒(22-3)をその中心軸を略一致させた状態で横向きに支持する第2の支持部材(76)と、を備え、第2の支持部材(76)は中心軸に交差する方向に間隔をあけて配置された一対のコロで構成されており、前記電極棒(21)は、複数の電極単位棒(22-1~22-3)がネジ嵌合により連結されてなる、電極棒の連結作業台(51)。
【選択図】図5
特許請求の範囲
【請求項1】
電極棒を構成する複数の電極単位棒の内、一方の電極単位棒を横向きに支持し位置決めする第1の支持部材を有する第1の作業台と、
前記第1の支持部材に支持された前記一方の前記電極単位棒の中心軸の延長上に、他方の電極単位棒を、その中心軸を略一致させた状態で横向きに支持する第2の支持部材を有する第2の作業台と、を備え、
前記第2の支持部材は、前記中心軸に交差する方向に間隔をあけて配置された一対のコロで構成されており、
前記電極棒は、複数の電極単位棒がネジ嵌合により連結されて成る、
電極棒の連結作業台。
続きを表示(約 880 文字)
【請求項2】
前記第1の作業台および前記第2の作業台の一方を他方に対して移動させて、前記一方の電極単位棒の中心軸と前記他方の電極単位棒の中心軸との位置を調整する位置調整装置、
を備えた請求項1に記載の電極棒の連結作業台。
【請求項3】
前記電極棒は銅の電解精錬で使用される電気蒸発槽に用いられ消耗した使用済みの電極棒である、
請求項1に記載の電極棒の連結作業台。
【請求項4】
複数の電極単位棒がネジ嵌合により連結されて成る使用済みの前記電極棒を第1の作業台上に設けられる第1の支持部材に横向きに支持し位置決めする第1の支持工程、
前記第1の支持部材に支持された前記使用済みの電極棒の中心軸の延長上に新規の電極単位棒の中心軸が略一致した状態とし、第2の作業台上に設けられ前記中心軸に交差する方向に間隔をあけて配置された一対のコロで構成される第2の支持部材に前記新規の電極単位棒を横向きに支持する第2の支持工程、
前記使用済みの電極棒と前記新規の電極単位棒とを軸回りに相対的に回転させてネジ嵌合により連結させる連結工程、
を含む電極棒の連結作業方法。
【請求項5】
前記第1の支持工程が、前記使用済みの電極棒を、該電極棒の消耗した側が前記第2の作業台とは反対側に位置する状態で、前記第1の支持部材に支持する工程である、
請求項4に記載の電極棒の連結作業方法。
【請求項6】
前記第1の支持工程が、前記使用済みの電極棒を、該電極棒の消耗した側が前記第2の作業台側に位置する状態で、前記第1の支持部材に支持すると共に、前記使用済みの電極棒の消耗した電極単位棒を前記第2の支持部材に支持する工程であり、
前記第2の支持工程の前工程に
前記消耗した電極単位棒を、該電極単位棒に連結された消耗していない電極単位棒に対して相対的に回転させることにより取り外す取外し工程、を更に含む
請求項4に記載の電極棒の連結作業方法。
発明の詳細な説明
【技術分野】
【0001】
本発明は、使用に伴って損耗する電極棒に新規の電極単位棒を連結する電極棒の連結作業台および電極棒の連結作業方法に関する。特に、銅の電解精錬で好適に使用可能な電極棒の連結作業台および電極棒の連結作業方法に関する。
続きを表示(約 2,000 文字)
【背景技術】
【0002】
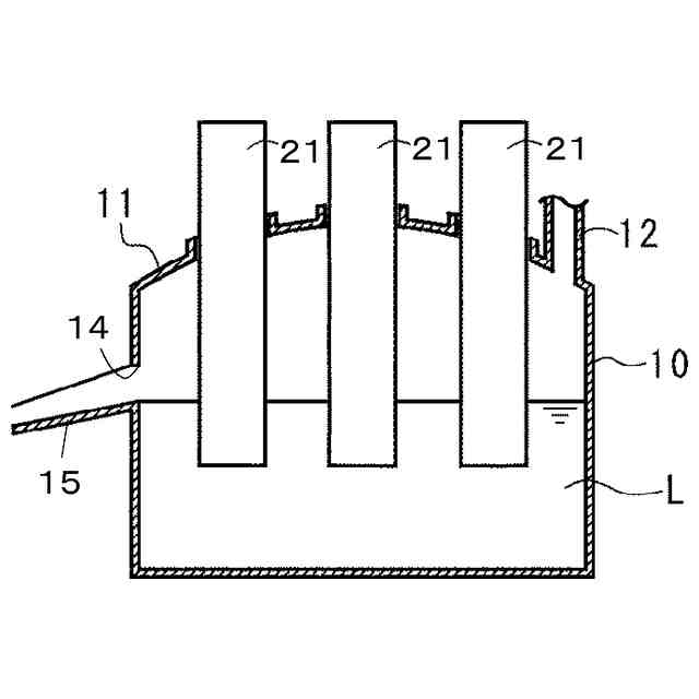
銅の電解精錬において、電解液を加熱して濃縮したり、脱銅終液を加熱して濃縮する際に、液体に電極棒を挿入してジュール熱で加熱する技術が公知である(例えば、特許文献1)。
電極棒の構成として、例えば、特許文献2に記載の技術が公知である。
特許文献2には、複数の円筒状の電極棒がニップルで連結された主電極の構成が記載されている。特許文献2の構成では、円筒状の電極棒の端部の内周面には雄ネジ部が形成され、ニップルの外周面に雌ネジ部が形成されており、雌ネジ部と雄ネジ部を螺合(ネジ嵌合)させることで、連結させている。ジュール熱で対象物を加熱する電極棒は、使用に伴って消耗、損耗して短くなっていくが、特許文献2に記載の構成では、電極棒が消耗して主電極全体が短くなると、ニップルと電極棒を継ぎ足して、主電極全体の長さを長くしている。
【先行技術文献】
【特許文献】
【0003】
特開2020-06302号公報
特開2004-152674号公報
【発明の概要】
【発明が解決しようとする課題】
【0004】
特許文献1に記載の構成では、電極棒が損耗して短くなっていくと、液体に浸漬されている電極棒の長さが短くなり加熱濃縮の効率が低下するため、電極棒の損耗に応じて上下方向に移動可能に構成されている。したがって、電極棒は、上下方向に吊り下げられた形で使用される。
そして、短くなった電極棒のメンテナンス作業(継ぎ足し、または、損耗部分の交換)を行う場合は、溶液槽から上方に引き出した後、電極棒が上下方向に吊り下げられた状態(立った状態)で行われることがこれまで一般的であった。電極棒は大きさや重さが相当程度あり、吊り下げられた状態でニップルや電極棒をネジ回したり、継ぎ足す電極棒を運んだりする作業には、危険が伴い、安全性を確保しながらの作業では時間がかかって作業効率が低い問題もあった。
【0005】
本発明は、電極棒の連結作業を安全に、かつ効率的に行うことが可能な電極棒の連結作業台および電極棒の連結作業方法を提供することを技術的課題とする。
【課題を解決するための手段】
【0006】
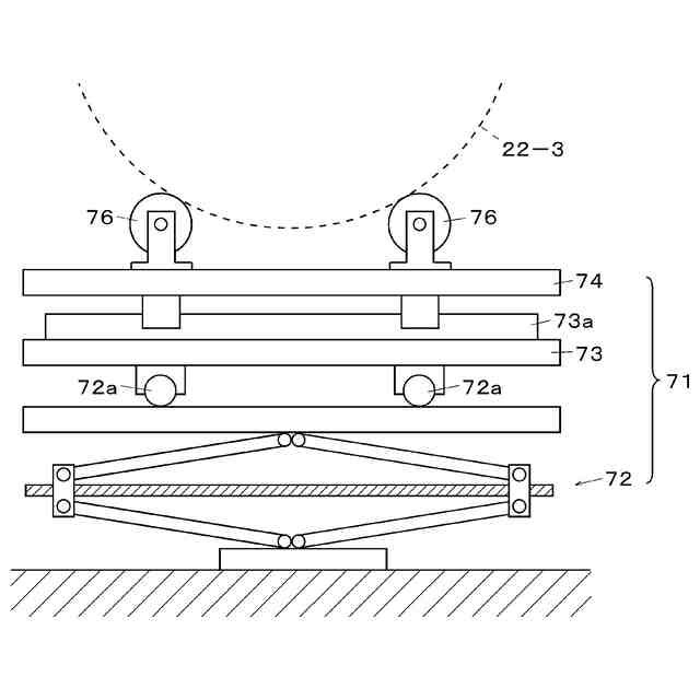
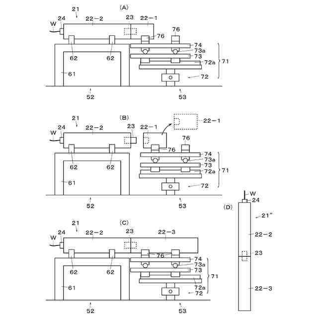
前記技術的課題を解決するために、請求項1に記載の発明の電極棒の連結作業台は、
電極棒を構成する複数の電極単位棒の内、一方の電極単位棒を横向きに支持し位置決めする第1の支持部材を有する第1の作業台と、
前記第1の支持部材に支持された前記一方の前記電極単位棒の中心軸の延長上に、他方の電極単位棒を、その中心軸を略一致させた状態で横向きに支持する第2の支持部材を有する第2の作業台と、を備え、
前記第2の支持部材は、前記中心軸に交差する方向に間隔をあけて配置された一対のコロで構成されており、
前記電極棒は、複数の電極単位棒がネジ嵌合により連結されて成る。
【0007】
請求項2に記載の発明は、請求項1に記載の電極棒の連結作業台において、
前記第1の作業台および前記第2の作業台の一方を他方に対して移動させて、前記一方の電極単位棒の中心軸と前記他方の電極単位棒の中心軸との位置を調整する位置調整装置、
を備えている。
【0008】
請求項3に記載の発明は、請求項1に記載の電極棒の連結作業台において、
前記電極棒は銅の電解精錬で使用される電気蒸発槽に用いられ消耗した使用済みの電極棒である。
【0009】
前記技術的課題を解決するために、請求項4に記載の発明の電極棒の連結作業方法は、
複数の電極単位棒がネジ嵌合により連結されて成る使用済みの前記電極棒を第1の作業台上に設けられる第1の支持部材に横向きに支持し位置決めする第1の支持工程、
前記第1の支持部材に支持された前記使用済みの電極棒の中心軸の延長上に新規の電極単位棒の中心軸が略一致した状態とし、第2の作業台上に設けられ前記中心軸に交差する方向に間隔をあけて配置された一対のコロで構成される第2の支持部材に前記新規の電極単位棒を横向きに支持する第2の支持工程、
前記使用済みの電極棒と前記新規の電極単位棒とを軸回りに相対的に回転させてネジ嵌合により連結させる連結工程、
を含む。
【0010】
請求項5に記載の発明は、請求項4に記載の電極棒の連結作業方法において、
前記第1の支持工程が、前記使用済みの電極棒を、該電極棒の消耗した側が前記第2の作業台とは反対側に位置する状態で、前記第1の支持部材に支持する工程である。
(【0011】以降は省略されています)
この特許をJ-PlatPat(特許庁公式サイト)で参照する
関連特許
住友金属鉱山株式会社
銅精鉱の製錬方法
2日前
住友金属鉱山株式会社
銅精鉱の製錬方法
2日前
住友金属鉱山株式会社
赤外線遮蔽繊維構造物
今日
住友金属鉱山株式会社
ニッケル粉末の製造方法
2日前
住友金属鉱山株式会社
単結晶の育成方法及びその装置
今日
住友金属鉱山株式会社
希土類遷移金属窒素系磁性粉末
今日
住友金属鉱山株式会社
透過型電子顕微鏡用試料の作製方法
14日前
住友金属鉱山株式会社
透過型電子顕微鏡用試料の作製方法
14日前
住友金属鉱山株式会社
解析プログラム、解析装置、および解析方法
今日
住友金属鉱山株式会社
電極棒の連結作業台および電極棒の連結作業方法
2日前
住友金属鉱山株式会社
測定制御システム、プログラムおよび試料測定方法
8日前
住友金属鉱山株式会社
可燃性粉末の反応挙動評価方法及び反応挙動評価装置
2日前
住友金属鉱山株式会社
表面弾性波フィルタ用圧電体材料、表面弾性波フィルタ用圧電体基板、表面弾性波フィルタ
8日前
住友金属鉱山株式会社
ニッケル及びコバルト塩水溶液の製造方法、硫酸ニッケル及び硫酸コバルトの製造方法、正極材料の合成のための前駆体化合物の製造方法
6日前
住友金属鉱山株式会社
合金粉末及びその製造方法、並びにニッケル及びコバルト鉱酸塩水溶液の製造方法、硫酸ニッケル及び硫酸コバルトの製造方法、リチウムイオン電池用正極材料の合成のための前駆体化合物を製造する方法
7日前
有限会社 ナプラ
端子
1か月前
株式会社カネカ
電解装置
1か月前
株式会社ノーリツ
電解水生成装置
1か月前
SMD株式会社
めっき処理装置
1か月前
本田技研工業株式会社
電解装置
21日前
大同特殊鋼株式会社
触媒合金
1か月前
株式会社カネカ
可撓性ガス拡散電極
10日前
株式会社東芝
アルマイト処理方法
1か月前
本田技研工業株式会社
水電解システム
1か月前
本田技研工業株式会社
水電解システム
1か月前
一般財団法人電力中央研究所
電解反応装置
6日前
本田技研工業株式会社
水電解スタック
6日前
本田技研工業株式会社
水電解システム
1か月前
トヨタ自動車株式会社
水電解スタック
1か月前
本田技研工業株式会社
電気化学スタック
29日前
SECカーボン株式会社
カソードアセンブリ
2日前
本田技研工業株式会社
CO2電解装置
6日前
本田技研工業株式会社
電解セルの製造方法
14日前
古河電気工業株式会社
端子
今日
株式会社村田製作所
電子部品及びその製造方法
1か月前
株式会社SOKEN
電解セル
1か月前
続きを見る
他の特許を見る