TOP
|
特許
|
意匠
|
商標
特許ウォッチ
Twitter
他の特許を見る
公開番号
2025151588
公報種別
公開特許公報(A)
公開日
2025-10-09
出願番号
2024053097
出願日
2024-03-28
発明の名称
端子
出願人
古河電気工業株式会社
,
古河AS株式会社
代理人
個人
,
個人
主分類
C25D
7/00 20060101AFI20251002BHJP(電気分解または電気泳動方法;そのための装置)
要約
【課題】材料費及び製造工程におけるコストの増加を抑えつつ、かつ、下層を薄層にすることで、曲げ加工時の割れを防止し、経時の使用による温度変化に対する抵抗上昇率を抑える端子を提供する。
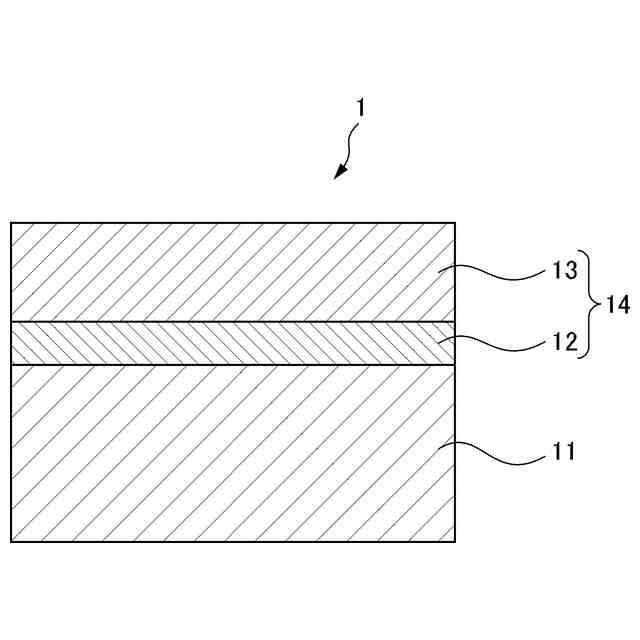
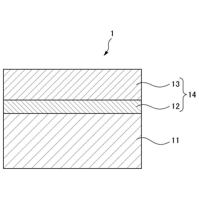
【解決手段】本発明の端子1は、銅又は銅合金からなる銅系基材11と、銅系基材11の上に形成され、0.1μm以上0.5μm以下の範囲の厚さを有する下層12、および、下層12の上に形成され、銀又は銀合金からなる上層13の2層構造の表面被膜14とで構成され、下層12を構成する材料は、ニッケルと合金成分Xとを含むニッケル合金であり、合金成分Xが、ガリウム、ビスマスおよびインジウムのうちの一種類以上の成分である。
【選択図】図1
特許請求の範囲
【請求項1】
銅又は銅合金からなる銅系基材と、
前記銅系基材の上に形成され、0.1μm以上0.5μm以下の範囲の厚さを有する下層、および、前記下層の上に形成され、銀又は銀合金からなる上層の2層構造の表面被膜と、で構成され、
前記下層を構成する材料は、ニッケルと合金成分Xとを含むニッケル合金であり、
前記合金成分Xが、ガリウム、ビスマスおよびインジウムのうちの一種類以上の成分である、端子。
続きを表示(約 130 文字)
【請求項2】
前記ニッケル合金中の前記Xの含有量が、0.2質量%以上7.0質量%以下の範囲である、請求項1に記載の端子。
【請求項3】
前記銅系基材の厚さが、0.1mm以上0.4mm以下の範囲である、請求項1または2に記載の端子。
発明の詳細な説明
【技術分野】
【0001】
本発明は、端子に関する。
続きを表示(約 2,000 文字)
【背景技術】
【0002】
従来、広く用いられている車載用の高電圧コネクタ端子は、電気配線や回路接続に使用される部品で、挿入することで簡単に電気的に接続させることができる。しかし、これら電気配線等が高電圧化するにしたがって、端子間の接続に対して接触抵抗が低いことが求められている。この接触抵抗を低くするために、端子の接点部は、一般的に銅系基材の上に銀めっき層を設けることを実施している。
この高電圧コネクタ端子における銅系基材の銅原子は、上方に位置する銀めっき層に向かって拡散しやすいことから、銀めっき層の銀原子と合金化することで接触抵抗が上昇するという問題がある。この問題に対して、銅系基材と銀めっき層(上層)との間に、ニッケル又はニッケル合金からなる中間層(下層)を設けることで、銅系基材から銅原子が銀めっき層への拡散を防止している。
【0003】
このニッケル又はニッケル合金からなる下層は、層厚が薄いと拡散防止効果が弱く、従来は0.8~1.5μm程度の厚さが必要であった。しかしながら、下層が厚いと、コスト増加の他、抵抗の増加や曲げ加工時のクラック等の割れが生じやすくなるため、これらの観点からすれば、下層の厚さは、できるだけ薄くすることが望ましい。
【0004】
例えば、特許文献1は、銅又は銅合金からなる基材の上に、0.05μm以上5.0μm以下のニッケル層、中間層、銀層がこの順で積層されており、中間層は、厚みが0.02μm以上1.0μm以下であり、銀(Ag)とXとを含む銀合金であり、前記Xが錫、ビスマス、ガリウム、インジウム及びゲルマニウムのうちの一種類以上を含む銀皮膜付端子材を開示している。
【先行技術文献】
【特許文献】
【0005】
特開2019-031732号公報
【発明の概要】
【発明が解決しようとする課題】
【0006】
特許文献1に記載の銀皮膜付端子材は、銅系基材を構成する銅原子の拡散防止のために、銅系基材の上に、ニッケル(Ni)層と、錫等のXを含む銀合金である単層または二層構造の中間層を設けている。
このため、銅系基材の上に、ニッケル層(下層)と、銀(Ag)層(上層)の2層構造の表面被膜を有する従来の高電圧コネクタ端子に対して、特許文献1に記載の銀皮膜付端子材は、銅系基材の上に、ニッケル層(下層)、銀合金からなる単層または二層の中間層、銀層(上層)の3層構造または4層構造の表面被膜を形成しているため、表面被膜を構成する層数が多くなる結果、材料費等のコストの上昇や、製造工程が増えることによる作業性の悪化を招くという問題がある。
【0007】
そこで、本発明は、銅又は銅合金からなる銅系基材の上に形成される表面被膜を、特定の合金成分Xを含有するニッケル合金の下層と、銀又は銀合金からなる上層との2層構造で構成することによって、材料費等のコストの上昇及び製造工程における作業性の悪化を抑えつつ、かつ、下層を薄層にすることで、曲げ加工時の割れを防止し、経時の使用による温度上昇に対する抵抗上昇率を抑える端子を提供することを目的とする。
【課題を解決するための手段】
【0008】
上記目的を達成するため、本発明は、以下のとおりである。
(1)銅又は銅合金からなる銅系基材と、
前記銅系基材の上に形成され、0.1μm以上0.5μm以下の範囲の厚さを有する下層、および、前記下層の上に形成され、銀又は銀合金からなる上層の2層構造の表面被膜と、で構成され、
前記下層を構成する材料は、ニッケルと合金成分Xとを含むニッケル合金であり、
前記合金成分Xが、ガリウム、ビスマスおよびインジウムのうちの一種類以上の成分である、端子。
(2)前記ニッケル合金中の前記Xの含有量が、0.2質量%以上7.0質量%以下の範囲である、(1)に記載の端子。
(3)前記銅系基材の厚さが、0.1mm以上0.4mm以下の範囲である、請求項(1)または(2)に記載の端子。
【発明の効果】
【0009】
本発明は、表面被膜を構成する層数を少なくすることができ、また、層数を少なくすることで材料費等のコストの上昇や、製造工程の数を減らすことにより作業性も向上させることができ、かつ、下層を薄層にすることで、曲げ加工時の割れを防止し、経時の使用による温度上昇に対する抵抗上昇率を抑える端子を提供することができる。
【図面の簡単な説明】
【0010】
図1は、本発明の一の実施形態である端子の構造を示す図である。
【発明を実施するための形態】
(【0011】以降は省略されています)
この特許をJ-PlatPat(特許庁公式サイト)で参照する
関連特許
古河電気工業株式会社
端子
今日
古河電気工業株式会社
端子
1日前
古河電気工業株式会社
回路基板
4日前
古河電気工業株式会社
排水構造
7日前
古河電気工業株式会社
回路基板
4日前
古河電気工業株式会社
電気接続箱
7日前
古河電気工業株式会社
複合ケーブル
2日前
古河電気工業株式会社
複合ケーブル
1日前
古河電気工業株式会社
複合ケーブル
1日前
古河電気工業株式会社
コネクタ接続構造
今日
古河電気工業株式会社
光半導体モジュール
今日
古河電気工業株式会社
レーダ装置の配置構造
今日
古河電気工業株式会社
電子部品加工用テープ
今日
古河電気工業株式会社
ウエハ加工用粘着テープ
1日前
古河電気工業株式会社
フラットケーブル組立体
今日
古河電気工業株式会社
光モジュール、光接続構造
1日前
古河電気工業株式会社
ワイヤハーネス用コネクタ
今日
古河電気工業株式会社
レーザ装置および制御方法
今日
古河電気工業株式会社
半導体ウェハ表面保護用テープ
今日
古河電気工業株式会社
コネクタ及びコネクタ接続構造
今日
古河電気工業株式会社
配線材、及び配線材の製造方法
2日前
古河電池株式会社
双極型蓄電池
1日前
古河電気工業株式会社
ポリオレフィン樹脂組成物及び配線材
2日前
古河電気工業株式会社
通信システム、プログラム及び通信方法
1日前
古河電気工業株式会社
通信システム、プログラム及び通信方法
2日前
古河電気工業株式会社
通信システム、プログラム及び通信方法
2日前
古河樹脂加工株式会社
木質配合樹脂管
今日
古河電気工業株式会社
樹脂組成物及びこれを用いた射出成型体
2日前
古河電気工業株式会社
フェルールホルダ、光接続構造、光モジュール
1日前
古河電気工業株式会社
走行路認識装置、走行路認識方法及びプログラム
2日前
古河電気工業株式会社
配線材の製造方法及び製造装置、並びに、配線材
2日前
古河電気工業株式会社
配線材の製造方法及び製造装置、並びに、配線材
2日前
古河電気工業株式会社
センサシステム、センシング方法およびプログラム
今日
古河樹脂加工株式会社
配管固定具および配管固定構造
1日前
古河電気工業株式会社
マルチコアファイバおよびマルチコアファイバの製造方法
7日前
古河電池株式会社
双極型蓄電池及び双極型蓄電池の製造方法
1日前
続きを見る
他の特許を見る