TOP
|
特許
|
意匠
|
商標
特許ウォッチ
Twitter
他の特許を見る
公開番号
2025120602
公報種別
公開特許公報(A)
公開日
2025-08-18
出願番号
2024015502
出願日
2024-02-05
発明の名称
電解セル
出願人
株式会社SOKEN
,
トヨタ自動車株式会社
代理人
個人
主分類
C25B
9/60 20210101AFI20250808BHJP(電気分解または電気泳動方法;そのための装置)
要約
【課題】より安定した基準電位を測定可能な電解セルを提供する。
【解決手段】本開示に係る電解セル100は、アノード電極30と、イオンを伝導する固体高分子電解質膜20と、カソード電極40と、をこの順に備え、電源を用いてアノード電極30とカソード電極40との間に電圧を印加可能であり、アノード電極30には、電解液が供給され、カソード電極40には、水、電解液、又は二酸化炭素が供給され、水、水素イオン、又は二酸化炭素を還元する電解セルであって、固体高分子電解質膜20の表面であり、かつアノード電極30及びカソード電極40が設けられていない箇所に保持される薄膜状の参照電極50をさらに備え、参照電極50は、固体高分子電解質膜20と電気的に接触している。
【選択図】図1
特許請求の範囲
【請求項1】
アノード電極と、イオンを伝導する固体高分子電解質膜と、カソード電極と、をこの順に備え、
電源を用いて前記アノード電極と前記カソード電極との間に電圧を印加可能であり、
前記アノード電極には、電解液が供給され、
前記カソード電極には、水、電解液、又は二酸化炭素が供給され、
水、水素イオン、又は二酸化炭素を還元する電解セルであって、
前記固体高分子電解質膜の表面であり、かつ前記アノード電極及び前記カソード電極が設けられていない箇所に保持される薄膜状の参照電極をさらに備え、
前記参照電極は、前記固体高分子電解質膜と電気的に接触している、
電解セル。
続きを表示(約 280 文字)
【請求項2】
前記参照電極は、
樹脂薄膜と、
前記樹脂薄膜上に設けられる導電体層と、
前記導電体層上の一部に設けられる銀含有層と、を有し、
前記銀含有層は、銀及び塩化銀のうち少なくとも一方を含み、前記固体高分子電解質膜と電気的に接触する、
請求項1に記載の電解セル。
【請求項3】
前記参照電極は、前記固体高分子電解質膜の前記アノード電極側及び前記カソード電極側の両方の面に設けられ、前記アノード電極側及び前記カソード電極側のそれぞれの電位を計測する、
請求項1又は2に記載の電解セル。
発明の詳細な説明
【技術分野】
【0001】
本開示は、電解セルに関する。
続きを表示(約 1,700 文字)
【背景技術】
【0002】
電解セルにおいてカソード電極の電解反応を評価する際には、アノード電極とカソード電極の電位内訳が不明確であるため、基準電位を示す参照電極が必要である。特に、二酸化炭素の電解を行う電解セルでは、生成物が水素ではなくカソード電極を可逆水素電極としてみなすことができないため、標準電位を示す参照電極が必要である。例えば、特許文献1には、カソード/アノードブロックに参照電極を内蔵した電気化学セルが開示されている。
【先行技術文献】
【特許文献】
【0003】
特開2021-161468号公報
【発明の概要】
【発明が解決しようとする課題】
【0004】
発明者らは、電解セルに関し、以下の課題を見出した。
近年、固体電解質膜を用いた電解セルの開発が進められている。
固体電解質膜を使用したセルへの応用や大面積化に向けては、市販の参照電極は、通常のガラス電極の挿入がサイズや強度の制約で難しいという課題がある。また、市販の参照電極は、液体の電位を取るために開発されているものであり、イオン伝導度の小さい固定電解質膜における計測ではセルの状態によってインピーダンスが増大しやすく、安定性が問題となる虞がある。そのため、電解セルの基準電位をより安定に測定するための技術が求められていた。
【0005】
本開示は、このような課題に鑑みなされたものであり、より安定した基準電位を測定可能な電解セルを提供することを目的とする。
【課題を解決するための手段】
【0006】
上記目的を達成するための一態様は、
アノード電極と、イオンを伝導する固体高分子電解質膜と、カソード電極と、をこの順に備え、
電源を用いて前記アノード電極と前記カソード電極との間に電圧を印加可能であり、
前記アノード電極には、電解液が供給され、
前記カソード電極には、水、電解液、又は二酸化炭素が供給され、
水、水素イオン、又は二酸化炭素を還元する電解セルであって、
前記固体高分子電解質膜の表面であり、かつ前記アノード電極及び前記カソード電極が設けられていない箇所に保持される薄膜状の参照電極をさらに備え、
前記参照電極は、前記固体高分子電解質膜と電気的に接触している。
【発明の効果】
【0007】
本開示によれば、より安定した基準電位を測定可能な電解セルを提供することができる。
【図面の簡単な説明】
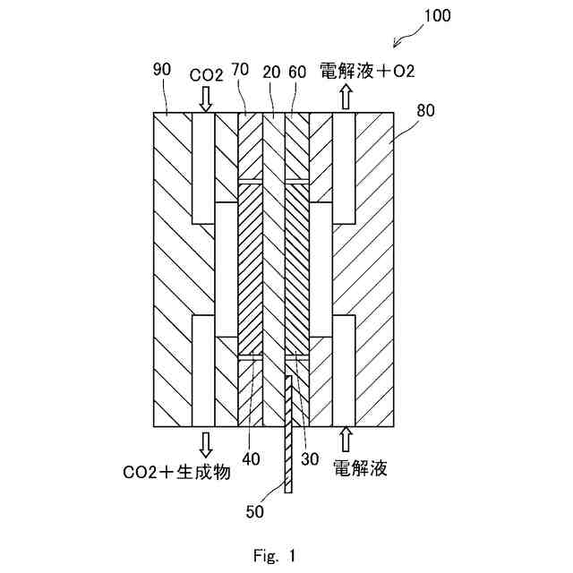
【0008】
実施の形態に係る電解セルの断面模式図である。
実施の形態に係る電解セルのCO
2
電解特性の一例である。
参照電極の一例を示す正面模式図である。
図3のIV-IV線に沿う断面模式図である。
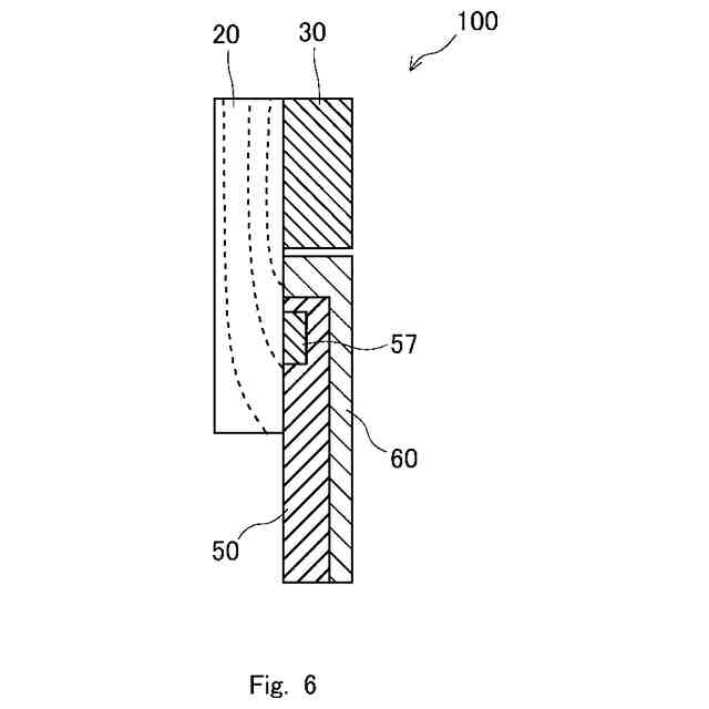
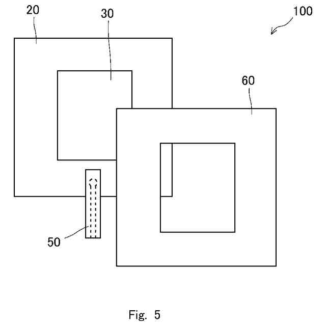
実施の形態に係る電解セルの一部分解図である。
実施の形態に係る電解セルの一部拡大断面図である。
【発明を実施するための形態】
【0009】
以下では、本開示の実施形態について、図面を参照しながら詳細に説明する。各図面において、同一又は対応する要素には同一の符号が付されており、説明の明確化のため、必要に応じて重複説明は省略される。また、理解の容易のため、図面における各部の縮尺は、実際とは異なる場合がある。
【0010】
図1を参照し、実施の形態に係る電解セル100の構成を説明する。電解セル100は、水又は二酸化炭素を還元する電解セルである。図1は、実施の形態に係る電解セル100の断面模式図である。図1に示すように、電解セル100は、少なくとも、固体高分子電解質膜20、アノード電極30、カソード電極40、及び参照電極50を備える。電解セル100は、通常、アノードガスケット60、カソードガスケット70、アノードブロック80、及びカソードブロック90等の構成をさらに備える。
(【0011】以降は省略されています)
この特許をJ-PlatPat(特許庁公式サイト)で参照する
関連特許
株式会社SOKEN
3Dモデル生成用画像取得装置
3日前
有限会社 ナプラ
端子
1か月前
株式会社カネカ
電解装置
1か月前
株式会社ノーリツ
電解水生成装置
1か月前
本田技研工業株式会社
電解装置
25日前
大同特殊鋼株式会社
触媒合金
1か月前
株式会社カネカ
可撓性ガス拡散電極
14日前
株式会社東芝
アルマイト処理方法
1か月前
一般財団法人電力中央研究所
電解反応装置
10日前
本田技研工業株式会社
水電解スタック
10日前
本田技研工業株式会社
水電解システム
1か月前
本田技研工業株式会社
水電解システム
1か月前
本田技研工業株式会社
水電解システム
1か月前
トヨタ自動車株式会社
水電解スタック
1か月前
本田技研工業株式会社
電気化学スタック
1か月前
本田技研工業株式会社
CO2電解装置
10日前
株式会社荏原製作所
蒸気発電プラント
3日前
SECカーボン株式会社
カソードアセンブリ
6日前
古河電気工業株式会社
端子
4日前
本田技研工業株式会社
電解セルの製造方法
18日前
睦技研株式会社
バレルめっき装置
1か月前
NOK株式会社
セルユニット
14日前
株式会社豊田中央研究所
電極
14日前
株式会社神戸製鋼所
導電材料およびその製造方法
1か月前
三菱マテリアル株式会社
皮膜付端子材及びその製造方法
4日前
NOK株式会社
セルユニット
14日前
ナミックス株式会社
銅部材
26日前
NOK株式会社
セルユニット
14日前
NOK株式会社
セルユニット
14日前
本田技研工業株式会社
膜電極構造体の製造方法
4日前
東京瓦斯株式会社
水電解システム
21日前
三菱重工業株式会社
皮膜形成装置
3日前
本田技研工業株式会社
電気化学式水素昇圧システム
10日前
株式会社SCREENホールディングス
前処理方法およびセル
1か月前
株式会社アイシン
電解システム
5日前
株式会社デンソー
セル制御システム
3日前
続きを見る
他の特許を見る