TOP
|
特許
|
意匠
|
商標
特許ウォッチ
Twitter
他の特許を見る
10個以上の画像は省略されています。
公開番号
2025147546
公報種別
公開特許公報(A)
公開日
2025-10-07
出願番号
2024047843
出願日
2024-03-25
発明の名称
光源装置およびプロジェクター
出願人
セイコーエプソン株式会社
代理人
個人
,
個人
,
個人
,
個人
主分類
G03B
21/14 20060101AFI20250930BHJP(写真;映画;光波以外の波を使用する類似技術;電子写真;ホログラフイ)
要約
【課題】被照明領域の照度分布の均一性を向上できる、光源装置およびプロジェクターを提供する。
【解決手段】本発明の光源装置は、光源部と前段側光学素子と後段側光学素子とを備える。前段側光学素子は第1回転軸を中心に回転し、後段側光学素子は第2回転軸を中心に回転し、前段側光学素子は、光の一部が入射し、光の主光線に対して直交する基準面に対して第1角度をなす第1入射面と、光の他の一部が入射し、基準面に対して第2角度をなす第2入射面と、第1入射面から入射した光を射出する第1射出面と、第2入射面から入射した光を射出する第2射出面と、を有し、後段側光学素子は、前段側光学素子からの光が入射する第3入射面と、第3入射面から入射する光を射出する第3射出面と、を有し、第1入射面および第1射出面は互いに平行であり、第2入射面および第2射出面は互いに平行であり、第3入射面および第3射出面は互いに平行である。
【選択図】図2
特許請求の範囲
【請求項1】
光源部と、
光源部から射出された光を透過する前段側光学素子と、
前記前段側光学素子から射出された前記光を透過する後段側光学素子と、
を備え、
前記前段側光学素子は第1回転軸を中心に回転し、
前記後段側光学素子は前記第1回転軸に交差する第2回転軸を中心に回転し、
前記前段側光学素子は、
前記光の一部が入射し、前記光の主光線に対して直交する基準面に対して第1角度をなす第1入射面と、
前記光の他の一部が入射し、前記基準面に対して第1角度と異なる第2角度をなす第2入射面と、
前記第1入射面から入射する前記光の一部を射出する第1射出面と、
前記第2入射面から入射する前記光の他の一部を射出する第2射出面と、を有し、
前記後段側光学素子は、
前記前段側光学素子から射出される前記光が入射する第3入射面と、
前記第3入射面から入射する前記光を射出する第3射出面と、を有し、
前記前段側光学素子において、前記第1入射面および前記第1射出面は互いに平行であり、前記第2入射面および前記第2射出面は互いに平行であり、
前記後段側光学素子において、前記第3入射面および前記第3射出面は互いに平行である、
光源装置。
続きを表示(約 1,000 文字)
【請求項2】
前記前段側光学素子は、前記第1回転軸に交差する表面および裏面と、前記表面に接する2×m(m:2以上の自然数)個の第1側面と、前記裏面に接する2×m(m:2以上の自然数)個の第2側面と、を有し、
前記第1入射面および前記第1射出面は、前記2×m個の前記第1側面のうちの互いに平行な2つの前記第1側面であり、
前記第2入射面および前記第2射出面は、前記2×m個の前記第2側面のうちの互いに平行な2つの前記第2側面である、
請求項1に記載の光源装置。
【請求項3】
前記前段側光学素子は、前記第1入射面および前記第1射出面を有する第1光学部材と、前記第2入射面および前記第2射出面を有する第2光学部材と、で構成される、
請求項1に記載の光源装置。
【請求項4】
前記第1光学部材および前記第2光学部材は一体の光学部材であり、
前記第1光学部材および前記第2光学部材を前記第1回転軸回りに一体に回転させる回転駆動装置をさらに備える、
請求項3に記載の光源装置。
【請求項5】
前記第1光学部材および前記第2光学部材は別体の光学部材であり、
前記前段側光学素子を回転させる回転駆動装置は、前記第1光学部材を前記第1回転軸回りに回転させる第1回転素子と、前記第2光学部材を前記第1回転軸回りに回転させる第2回転素子と、を含む、
請求項3に記載の光源装置。
【請求項6】
前記前段側光学素子において、前記第1光学部材の屈折率と前記第2光学部材の屈折率とは等しい、
請求項3に記載の光源装置。
【請求項7】
前記第1入射面と前記第2入射面とのなす角度をθ、
前記前段側光学素子の回転周期をT
1
、
前記後段側光学素子の回転周期をT
2
、
前記第1側面および前記第2側面の数をn
1
としたとき、
以下の式を満たす、
請求項2に記載の光源装置。
TIFF
2025147546000006.tif
18
170
【請求項8】
請求項1から請求項7のうちのいずれか一項に記載の光源装置と、
前記光源装置から射出される光を画像情報に基づいて変調する光変調装置と、
前記光変調装置から射出された光を投射する投射光学装置と、を備える、
プロジェクター。
発明の詳細な説明
【技術分野】
【0001】
本発明は、光源装置およびプロジェクターに関する。
続きを表示(約 2,200 文字)
【背景技術】
【0002】
従来、発光素子から射出した光を液晶パネル等の光変調装置上で時間的に走査することにより、光変調装置を照明するプロジェクターがある。下記の特許文献1には、光源ランプを含む光源装置と、液晶ライトバルブと、光源装置と液晶ライトバルブとの間に設けられたポリゴンミラーと、投射レンズと、を備えるプロジェクターが開示されている。
このプロジェクターにおいて、光源装置は、楕円形の光束断面を有する光を射出する。ポリゴンミラーは、光源装置から射出される光を反射して、液晶ライトバルブの画像形成領域上で楕円形の光束断面の短軸方向に走査する。
【先行技術文献】
【特許文献】
【0003】
特開2007-225956号公報
【発明の概要】
【発明が解決しようとする課題】
【0004】
特許文献1のプロジェクターでは、液晶ライトバルブの画像形成領域上をポリゴンミラーから反射光による1つのスポットが順次走査されるため、画像形成領域の面内において照度ムラが目立ち易いという課題があった。
【課題を解決するための手段】
【0005】
上記の課題を解決するために、本発明の第1態様に従えば、光源部と、光源部から射出された光を透過する前段側光学素子と、前記前段側光学素子から射出された前記光を透過する後段側光学素子と、を備え、前記前段側光学素子は第1回転軸を中心に回転し、前記後段側光学素子は前記第1回転軸に交差する第2回転軸を中心に回転し、前記前段側光学素子は、前記光の一部が入射し、前記光の主光線に対して直交する基準面に対して第1角度をなす第1入射面と、前記光の他の一部が入射し、前記基準面に対して第1角度と異なる第2角度をなす第2入射面と、前記第1入射面から入射する前記光の一部を射出する第1射出面と、前記第2入射面から入射する前記光の他の一部を射出する第2射出面と、を有し、前記後段側光学素子は、前記前段側光学素子から射出される前記光が入射する第3入射面と、前記第3入射面から入射する前記光を射出する第3射出面と、を有し、前記前段側光学素子において、前記第1入射面および前記第1射出面は互いに平行であり、前記第2入射面および前記第2射出面は互いに平行であり、前記後段側光学素子において、前記第3入射面および前記第3射出面は互いに平行である、光源装置が提供される。
【0006】
また、本発明の第2態様に従えば、上記第1態様の光源装置と、前記光源装置から射出される光を画像情報に基づいて変調する光変調装置と、前記光変調装置から射出された光を投射する投射光学装置と、を備える、プロジェクターが提供される。
【図面の簡単な説明】
【0007】
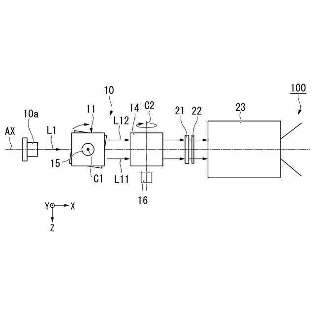
第1実施形態のプロジェクターの概略構成を示す平面図である。
第1実施形態の光源装置の概略構成を示す斜視図である。
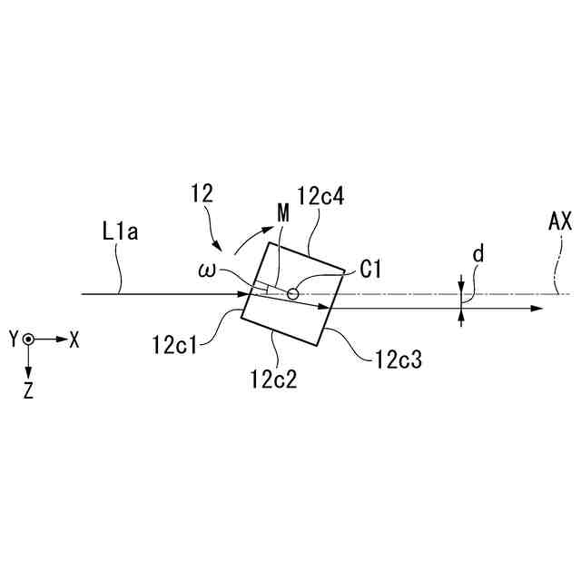
第1光学部材が回転する際の光の挙動を説明するための模式図である。
第1光学部材が回転する際の光の挙動を説明するための模式図である。
第1光学部材が回転する際の光の挙動を説明するための模式図である。
第1光学部材が回転する際の光の挙動を説明するための模式図である。
第1光学部材が回転する際の光の挙動を説明するための模式図である。
第1光学部材が回転する際の光の挙動を説明するための模式図である。
光変調装置上を2次元に走査する光の軌跡を示すイメージ図である。
シミュレーション結果を示す図である。
シミュレーション結果を示す図である。
第2実施形態のプロジェクターの概略構成を示す平面図である。
第3実施形態のプロジェクターの概略構成を示す平面図である。
変形例に係る前段光学素子の概略構成を示す斜視図である。
【発明を実施するための形態】
【0008】
(第1実施形態)
以下、本発明の第1実施形態について、図面を用いて説明する。
本実施形態のプロジェクターは、光変調装置として液晶パネルを用いた液晶プロジェクターの一例である。
以下の各図面においては各構成要素を見やすくするため、構成要素によって寸法の縮尺を異ならせて示すことがある。
【0009】
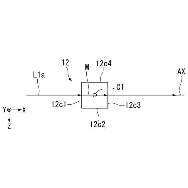
図1は、本実施形態のプロジェクターの概略構成を示す平面図である。
図1に示すように、本実施形態のプロジェクター100は、光源装置10と、光変調装置21と、射出側偏光板22と、投射光学装置23と、を備える。
光源装置10は、光源部10aと、前段側光学素子11と、後段側光学素子14と、第1回転駆動装置15と、第2回転駆動装置16と、を備える。
【0010】
以下、図面において、必要に応じてXYZ直交座標系を用いて説明する。X軸は、光源装置10の照明光軸AXに平行な軸である。光源装置10の照明光軸AXは、光源部10aから射出される光L1の主光線に沿う軸で定義される。Y軸は、X軸に直交する軸であり、前段側光学素子11の第1回転軸C1に沿う軸である。Z軸は、X軸およびY軸に直交する軸である。
(【0011】以降は省略されています)
この特許をJ-PlatPat(特許庁公式サイト)で参照する
関連特許
セイコーエプソン株式会社
記録装置
今日
セイコーエプソン株式会社
複写装置
今日
セイコーエプソン株式会社
検査装置
今日
セイコーエプソン株式会社
システム
今日
セイコーエプソン株式会社
成形用材料
今日
セイコーエプソン株式会社
成形用材料
今日
セイコーエプソン株式会社
成形用材料
今日
セイコーエプソン株式会社
液体収容体
今日
セイコーエプソン株式会社
液体吐出装置
今日
セイコーエプソン株式会社
液体吐出装置
今日
セイコーエプソン株式会社
液体吐出装置
今日
セイコーエプソン株式会社
遠隔監視装置
今日
セイコーエプソン株式会社
投射型表示装置
今日
セイコーエプソン株式会社
ヘッドユニット
今日
セイコーエプソン株式会社
水性粘着剤組成物
今日
セイコーエプソン株式会社
水性粘着剤組成物
今日
セイコーエプソン株式会社
転写媒体の製造方法
今日
セイコーエプソン株式会社
成形用材料及び成形品
今日
セイコーエプソン株式会社
生体流体情報取得装置
今日
セイコーエプソン株式会社
投射方法、及び投射装置
今日
セイコーエプソン株式会社
液晶装置および電子機器
今日
セイコーエプソン株式会社
三次元造形物の製造方法
今日
セイコーエプソン株式会社
インクジェット記録装置
今日
セイコーエプソン株式会社
制御装置および制御方法
今日
セイコーエプソン株式会社
分散剤含有液および分散液
今日
セイコーエプソン株式会社
機械学習モデルの解析装置
今日
セイコーエプソン株式会社
プログラム、コンピューター
今日
セイコーエプソン株式会社
表示モジュール及び電子機器
今日
セイコーエプソン株式会社
投射方法、及び投射システム
今日
セイコーエプソン株式会社
光触媒装置およびその制御方法
今日
セイコーエプソン株式会社
記録装置、記録装置の制御方法
今日
セイコーエプソン株式会社
液体吐出装置及び温度算出装置
今日
セイコーエプソン株式会社
記録装置、記録装置の制御方法
今日
セイコーエプソン株式会社
液体噴射ヘッド及び液体噴射装置
今日
セイコーエプソン株式会社
液体噴射ヘッド及び液体噴射装置
今日
セイコーエプソン株式会社
成形型および三次元造形用組成物
今日
続きを見る
他の特許を見る