TOP
|
特許
|
意匠
|
商標
特許ウォッチ
Twitter
他の特許を見る
10個以上の画像は省略されています。
公開番号
2025151779
公報種別
公開特許公報(A)
公開日
2025-10-09
出願番号
2024053369
出願日
2024-03-28
発明の名称
生体流体情報取得装置
出願人
セイコーエプソン株式会社
代理人
個人
,
個人
,
個人
主分類
A61B
5/026 20060101AFI20251002BHJP(医学または獣医学;衛生学)
要約
【課題】小型化を図ることができ、検出精度の高い生体流体情報取得装置を提供する。
【解決手段】光源と、プリズムと、第1受光素子と、第2受光素子と、差動回路と、信号処理部と、を備える生体流体情報取得装置であって、前記プリズムは、前記光源から出射したレーザー光を第1光束と第2光束とに分岐する第1の境界面と、前記第2光束を全反射する第2の境界面と、前記第2の境界面で反射した前記第2光束を全反射する第3の境界面と、前記第3の境界面で反射した前記第2光束が出射する第4の境界面と、を有し、前記生体流体情報取得装置の幅方向をX方向とし、前記生体流体情報取得装置の厚さ方向であり、前記X方向と直交する方向をY方向としたとき、前記Y方向における前記第2の境界面と前記第3の境界面との間隔は、前記X方向における前記第1の境界面と前記第4の境界面との間隔よりも短いことを特徴とする生体流体情報取得装置。
【選択図】図1
特許請求の範囲
【請求項1】
レーザー光を出射する光源と、
前記光源から出射した前記レーザー光を第1光束と第2光束とに分岐するプリズムと、
前記第1光束を受光する第1受光素子と、
前記第2光束が生体の検査部位に入射することにより前記生体から得られる散乱光を受光する第2受光素子と、
前記第1受光素子および前記第2受光素子の出力に基づいて光検出信号を生成する差動回路と、
前記光検出信号を処理することにより生体流体情報を生成する信号処理部と、を備える生体流体情報取得装置であって、
前記プリズムは、板状または柱状をなし、
前記プリズムは、前記光源から出射した前記レーザー光を前記第1光束と前記第2光束とに分岐する第1の境界面と、
前記第2光束を全反射する第2の境界面と、
前記第2の境界面で反射した前記第2光束を全反射する第3の境界面と、
前記第3の境界面で反射した前記第2光束が出射する第4の境界面と、を有し、
前記生体流体情報取得装置の幅方向をX方向とし、前記生体流体情報取得装置の厚さ方向であり、前記X方向と直交する方向をY方向としたとき、前記Y方向における前記第2の境界面と前記第3の境界面との間隔は、前記X方向における前記第1の境界面と前記第4の境界面との間隔よりも短いことを特徴とする生体流体情報取得装置。
続きを表示(約 2,100 文字)
【請求項2】
前記光源から出射した前記レーザー光のビーム直径をD
0
、
前記第2の境界面における前記第2光束のビーム直径をD
2
、
前記第3の境界面における前記第2光束のビーム直径をD
3
、
前記第1の境界面における前記レーザー光の入射角度をθ
1
、
前記第2の境界面における前記第2光束の入射角度をθ
2
、
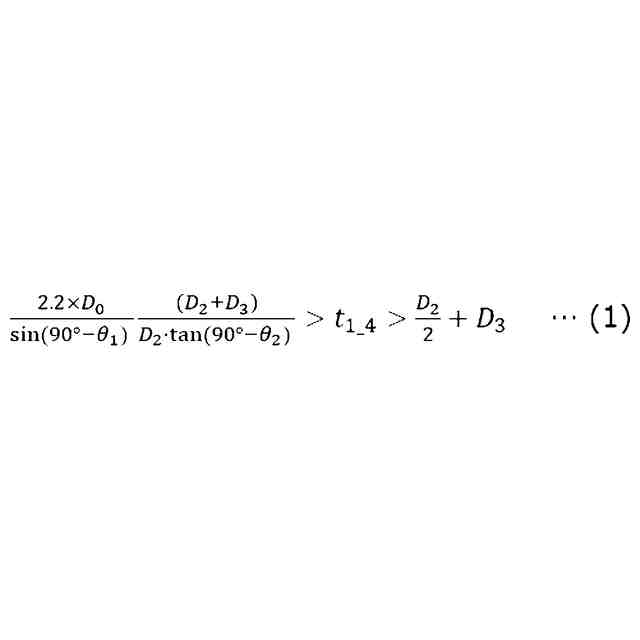
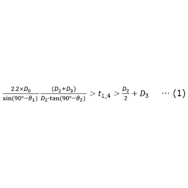
前記第1の境界面と前記第4の境界面との距離をt
1_4
としたとき、前記距離t
1_4
は、下記式(1)を満たしている請求項1に記載の生体流体情報取得装置。
TIFF
2025151779000010.tif
14
135
【請求項3】
前記光源から出射した前記レーザー光のビーム直径をD
0
、
前記第2の境界面における前記第2光束のビーム直径をD
2
、
前記第1の境界面における前記レーザー光の入射角度をθ
1
、
前記第2の境界面における前記第2光束の入射角度をθ
2
、
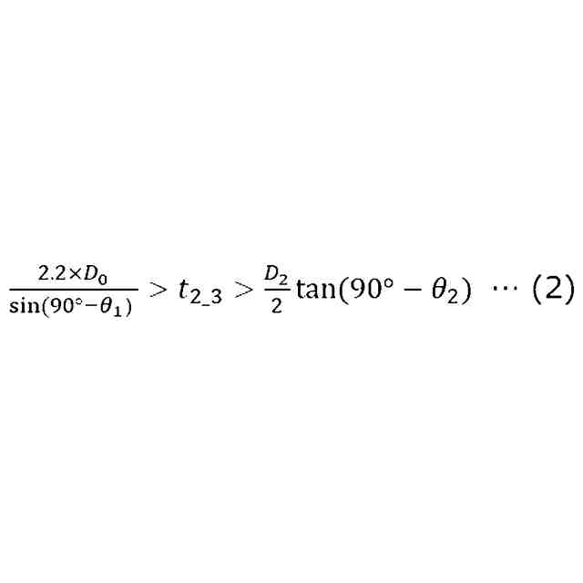
前記第2の境界面と前記第3の境界面との距離をt
2_3
としたとき、前記距離t
2_3
は、下記式(2)を満たしている請求項1に記載の生体流体情報取得装置。
TIFF
2025151779000011.tif
12
117
【請求項4】
前記X方向および前記Y方向に直交する方向をZ方向としたとき、
前記Z方向から見て、前記第2の境界面における前記第2光束の中心と、前記第3の境界面における前記第2光束の中心とを結ぶ線分の前記Y方向の成分は、前記線分の前記X方向の成分よりも短い請求項1に記載の生体流体情報取得装置。
【請求項5】
前記プリズムを収容する筐体と、
前記筐体に配置され、前記第4の境界面から出射した前記第2光束が透過するカバー板と、を有し、
前記第2の境界面の前記カバー板に対する角度は、-10°以上30°以下である請求項1に記載の生体流体情報取得装置。
【請求項6】
前記プリズムの屈折率をn
t
、
空気の屈折率をn
i
、
前記光源から出射した前記レーザー光のビーム直径をD
0
、
前記第2の境界面における前記第2光束のビーム直径をD
2
、
前記第1の境界面における前記レーザー光の入射角度をθ
1
、
前記第2の境界面における前記第2光束の入射角度をθ
2
、
前記第3の境界面における前記第2光束の入射角度をθ
3
としたとき、
前記入射角度θ
2
は、下記式(3)を満たし、前記入射角度θ
3
は、下記式(4)を満たし、かつ、θ
2
≦θ
3
である請求項1に記載の生体流体情報取得装置。
TIFF
2025151779000012.tif
17
114
TIFF
2025151779000013.tif
16
116
【請求項7】
前記プリズムを収容する筐体と、
前記筐体に配置され、前記散乱光を前記第2受光素子に集光する集光レンズと、
前記筐体に配置され、前記第4の境界面から出射した前記第2光束が透過するカバー板と、を有し、
前記X方向および前記Y方向に直交する方向をZ方向としたとき、
前記Z方向から見て、
前記カバー板に入射する前記第2光束の前記カバー板における中心の位置は、前記集光レンズの光軸よりも前記プリズム側に位置し、
前記中心と、前記光軸の前記カバー板における位置との距離は、0よりも大きく、2mm以下である請求項1に記載の生体流体情報取得装置。
【請求項8】
前記光源と前記第1の境界面との間に配置され、前記光源から出射した前記レーザー光が透過するコリメートレンズを有し、
前記X方向および前記Y方向に直交する方向をZ方向としたとき、
前記Z方向から見て、
前記光源から出射した前記レーザー光の前記第1の境界面における入射範囲のうち、最も前記コリメートレンズ側に位置している点と、前記コリメートレンズの前記第1の境界面側の頂点との、前記コリメートレンズの光軸方向の距離は、0よりも大きい請求項1に記載の生体流体情報取得装置。
【請求項9】
前記X方向および前記Y方向に直交する方向をZ方向としたとき、
前記Z方向から見て、
前記プリズムは、前記第2の境界面と前記第4の境界面との間に、第5の境界面を有している請求項1に記載の生体流体情報取得装置。
発明の詳細な説明
【技術分野】
【0001】
本発明は、生体流体情報取得装置に関するものである。
続きを表示(約 2,000 文字)
【背景技術】
【0002】
従来、生体組織からの散乱光を利用して生体組織における血流量、血液量、血流速度、脈拍等の生体流体情報を取得する生体情報取得装置が知られている(例えば、特許文献1参照)。
【0003】
特許文献1に記載された生体情報取得装置は、レーザー光を出射する光源と、前記レーザー光を第1光束と第2光束に分岐する光分岐素子と、前記第1光束を受光する第1受光素子と、前記第2光束が生体の検査部位に入射して散乱された散乱光を受光する第2受光素子と、前記第1受光素子および前記第2受光素子が接続される差動回路と、前記差動回路を経て出力される光検出信号を処理することにより生体流体情報を得る信号処理部と、前記散乱光が前記第1受光素子に入射することを低減する第1遮光部とを備えている。
【0004】
この生体情報取得装置では、差動増幅のための光分岐、ノイズ低減のための戻り光防止、斜め照射等をそれぞれ独立の素子で行っている。
【先行技術文献】
【特許文献】
【0005】
特開2022-144578号公報
【発明の概要】
【発明が解決しようとする課題】
【0006】
特許文献1に記載の生体情報取得装置では、各機能を独立の複数の素子で達成しているので、装置が大型化し、ウェアラブル機器とすることが困難である。
【課題を解決するための手段】
【0007】
本発明の生体流体情報取得装置は、レーザー光を出射する光源と、
前記光源から出射した前記レーザー光を第1光束と第2光束とに分岐するプリズムと、
前記第1光束を受光する第1受光素子と、
前記第2光束が生体の検査部位に入射することにより前記生体から得られる散乱光を受光する第2受光素子と、
前記第1受光素子および前記第2受光素子の出力に基づいて光検出信号を生成する差動回路と、
前記光検出信号を処理することにより生体流体情報を生成する信号処理部と、を備える生体流体情報取得装置であって、
前記プリズムは、板状または柱状をなし、
前記プリズムは、前記光源から出射した前記レーザー光を前記第1光束と前記第2光束とに分岐する第1の境界面と、
前記第2光束を全反射する第2の境界面と、
前記第2の境界面で反射した前記第2光束を全反射する第3の境界面と、
前記第3の境界面で反射した前記第2光束が出射する第4の境界面と、を有し、
前記生体流体情報取得装置の幅方向をX方向とし、前記生体流体情報取得装置の厚さ方向であり、前記X方向と直交する方向をY方向としたとき、前記Y方向における前記第2の境界面と前記第3の境界面との間隔は、前記X方向における前記第1の境界面と前記第4の境界面との間隔よりも短いことを特徴とする。
【図面の簡単な説明】
【0008】
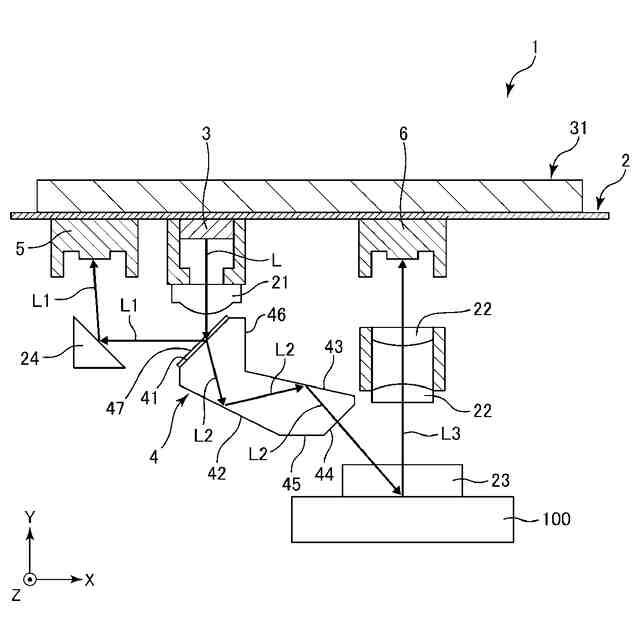
本発明の生体流体情報取得装置の実施形態における主要部を示す図である。
図1に示す生体流体情報取得装置のブロック図である。
図1に示す生体流体情報取得装置のプリズムをZ方向から見た側面図である。
図1に示す生体流体情報取得装置のプリズムをZ方向から見た側面図である。
図1に示す生体流体情報取得装置のプリズムをZ方向から見た側面図であり、角度θaが30°の場合である。
図1に示す生体流体情報取得装置のプリズムをZ方向から見た側面図であり、角度θaが-10°の場合である。
図1に示す生体流体情報取得装置のプリズムをZ方向から見た側面図である。
図1に示す生体流体情報取得装置のプリズムをZ方向から見た側面図である。
【発明を実施するための形態】
【0009】
以下、本発明の生体流体情報取得装置を添付図面に示す実施形態に基づいて詳細に説明する。
【0010】
<実施形態>
図1は、本発明の生体流体情報取得装置の実施形態における主要部を示す図である。図2は、図1に示す生体流体情報取得装置のブロック図である。図3は、図1に示す生体流体情報取得装置のプリズムをZ方向から見た側面図である。図4は、図1に示す生体流体情報取得装置のプリズムをZ方向から見た側面図である。図5は、図1に示す生体流体情報取得装置のプリズムをZ方向から見た側面図であり、角度θaが30°の場合である。図6は、図1に示す生体流体情報取得装置のプリズムをZ方向から見た側面図であり、角度θaが-10°の場合である。図7は、図1に示す生体流体情報取得装置のプリズムをZ方向から見た側面図である。図8は、図1に示す生体流体情報取得装置のプリズムをZ方向から見た側面図である。
(【0011】以降は省略されています)
この特許をJ-PlatPat(特許庁公式サイト)で参照する
関連特許
個人
短下肢装具
2か月前
個人
前腕誘導装置
2か月前
個人
嚥下鍛錬装置
3か月前
個人
アイマスク装置
1か月前
個人
汚れ防止シート
14日前
個人
胸骨圧迫補助具
1か月前
個人
湿布連続貼り機。
1か月前
個人
陣痛緩和具
3か月前
個人
哺乳瓶冷まし容器
2か月前
個人
エア誘導コルセット
1か月前
個人
治療用酸化防御装置
1か月前
個人
性行為補助具
2か月前
株式会社ニデック
眼科装置
26日前
個人
精力増強キット
18日前
株式会社松風
口腔用組成物
3か月前
株式会社ニデック
眼科装置
3日前
株式会社ニデック
眼科装置
26日前
株式会社ダリヤ
毛髪化粧料
24日前
株式会社ニデック
検眼装置
3か月前
個人
手指運動ツール
1か月前
個人
シリンダ式歩行補助具
2か月前
株式会社メルコ
毛髪質改善剤
1か月前
クラシエ株式会社
皮膚化粧料
3か月前
クラシエ株式会社
皮膚化粧料
3か月前
株式会社東洋新薬
皮膚外用剤
3日前
個人
おりもの吸収通気シート
2か月前
株式会社マンダム
乳化化粧料
11日前
株式会社コーセー
油性化粧料
3か月前
株式会社コーセー
油性化粧料
2か月前
花王株式会社
放散装置
1か月前
大正製薬株式会社
外用組成物
2か月前
株式会社成和化成
油性化粧料
3か月前
株式会社東洋新薬
皮膚外用剤
3日前
株式会社ノエビア
皮膚外用剤
24日前
個人
腹圧アシストベルト
14日前
株式会社モルテン
移乗支援装置
4日前
続きを見る
他の特許を見る