TOP
|
特許
|
意匠
|
商標
特許ウォッチ
Twitter
他の特許を見る
公開番号
2025147914
公報種別
公開特許公報(A)
公開日
2025-10-07
出願番号
2024048424
出願日
2024-03-25
発明の名称
電磁弁
出願人
Astemo株式会社
代理人
個人
主分類
F16K
31/06 20060101AFI20250930BHJP(機械要素または単位;機械または装置の効果的機能を生じ維持するための一般的手段)
要約
【課題】部品点数の削減を図ることができる電磁弁等を提供すること。
【解決手段】作動流体の流量を制御可能な電磁弁であって、作動流体が流入する孔である入口孔が形成された弁座と、コイルを含み、弁座との間に圧力操作室を形成する固定鉄心アセンブリと、圧力操作室を上流側の第一の室と下流側の第二の室とに区画する区画部材と、コイルへの通電により変位し入口孔を閉塞可能であるとともに、第一の室と第二の室とを連通可能かつ、弁座からの距離に応じて一端側の開口部の開口面積を減少させる連通流路を有する弁体と、を備える電磁弁。
【選択図】図2
特許請求の範囲
【請求項1】
作動流体の流量を制御可能な電磁弁であって、
前記作動流体が流入する孔である入口孔が形成された弁座と、
コイルを含み、前記弁座との間に圧力操作室を形成する固定鉄心アセンブリと、
前記圧力操作室を上流側の第一の室と下流側の第二の室とに区画する区画部材と、
前記コイルへの通電により変位し前記入口孔を閉塞可能であるとともに、前記第一の室と前記第二の室とを連通可能かつ、前記弁座からの距離に応じて一端側の開口部の開口面積を減少させる連通流路を有する弁体と、
を備える電磁弁。
続きを表示(約 650 文字)
【請求項2】
前記弁座、前記コイル、前記区画部材および前記弁体を収容するハウジングを更に有し、
前記固定鉄心アセンブリは、前記コイル、前記弁体および前記ハウジングとともにソレノイドアクチュエータを構成し、第一の固定鉄心よりも前記弁座とは反対側に配置される第二の固定鉄心を更に含む、
請求項1に記載の電磁弁。
【請求項3】
前記開口面積は、前記弁体と前記第二の固定鉄心との相対位置によって決定される、
請求項2に記載の電磁弁。
【請求項4】
前記弁体には、外周面に、前記弁座に対向する端部とは逆側の端部および前記固定鉄心アセンブリとの間に形成される空間と、前記第二の室と、を連通させる溝が形成されている、
請求項1に記載の電磁弁。
【請求項5】
筒部と底部を含み、前記筒部の内周面に前記弁体が変位可能となるように前記弁体を収容するとともに、前記コイルおよび前記第二の固定鉄心を前記第二の室から隔離する、ガイド部材を更に有する、
請求項2に記載の電磁弁。
【請求項6】
前記開口面積は、前記弁体と前記ガイド部材との相対位置によって決定される、
請求項5に記載の電磁弁。
【請求項7】
前記弁体には、外周面に、前記弁座に対向する端部とは逆側の端部と前記底部との間に形成される空間と、前記第二の室と、を連通させる溝が形成されている、
請求項5に記載の電磁弁。
発明の詳細な説明
【技術分野】
【0001】
本発明は、電磁弁に関する。
続きを表示(約 2,000 文字)
【背景技術】
【0002】
例えば、特許文献1に記載された油圧緩衝装置は、シリンダ部の外部に設けられて減衰力を発生させる外側減衰部を備える。外側減衰部は、第2軸方向に沿って進退するプランジャと、電磁石を用いて、プランジャを進退させるソレノイド部とを有する。また、外側減衰部は、プランジャの先端部に取り付けられて、ソレノイド部に供給される電流量に対応して発生する力にてコントロールバルブを押す弁体を有する。そして、プランジャやソレノイド部が、弁体を移動させるアクチュエータとして機能する。
【先行技術文献】
【特許文献】
【0003】
特開2022-129991号公報
【発明の概要】
【発明が解決しようとする課題】
【0004】
特許文献1に記載された減衰力を発生させる装置においては、アクチュエータとして機能するプランジャやソレノイド部とは別に弁体を設けているため、部品点数の削減を図るという点において改善の余地があった。
本発明は、部品点数の削減を図ることができる電磁弁を提供することを目的とする。
【課題を解決するための手段】
【0005】
かかる目的のもと完成させた本発明は、作動流体の流量を制御可能な電磁弁であって、前記作動流体が流入する孔である入口孔が形成された弁座と、コイルを含み、前記弁座との間に圧力操作室を形成する固定鉄心アセンブリと、前記圧力操作室を上流側の第一の室と下流側の第二の室とに区画する区画部材と、前記コイルへの通電により変位し前記入口孔を閉塞可能であるとともに、前記第一の室と前記第二の室とを連通可能かつ、前記弁座からの距離に応じて一端側の開口部の開口面積を減少させる連通流路を有する弁体と、を備える電磁弁である。
【発明の効果】
【0006】
本発明によれば、部品点数の削減を図ることができる電磁弁を提供ことができる。
【図面の簡単な説明】
【0007】
第1実施形態に係る懸架装置の概略構成の一例を示す図である。
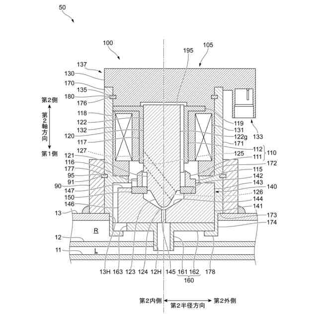
第1実施形態の減衰力発生装置の断面の一例を示す図である。
弁体を第1側から第2軸方向に見た図の一例を示す図である。
圧力操作室および流路の一例を示す図である。
コイルに流れる電流値と、第1流路の開口面積および第2流路の開口面積との関係を示す図である。
異常時におけるオイルの流れの一例を示す図である。
第2実施形態に係る電磁弁の断面の一例を示す図である。
第3実施形態に係る電磁弁の断面の一例を示す図である。
【発明を実施するための形態】
【0008】
以下、添付図面を参照して、本発明の実施形態について詳細に説明する。
<第1実施形態>
図1は、第1実施形態に係る懸架装置1の概略構成の一例を示す図である。
懸架装置1は、乗用自動車等の車両に用いられるサスペンションであり、図1に示すように、油圧式の緩衝装置2と、緩衝装置2の外側に配置されたコイルスプリング3とを備える。また、懸架装置1は、コイルスプリング3における、後述するロッド20の軸方向の一方側(図1では下側)の端部を支持する下スプリングシート4と、コイルスプリング3における、ロッド20の軸方向の他方側(図1では上側)の端部を支持する上スプリングシート5とを備える。
【0009】
また、懸架装置1は、懸架装置1を車両に取り付けるための車体側ブラケット6と、懸架装置1を車輪に取り付けるための車輪側ブラケット7と、シリンダ部10およびロッド20の少なくとも一部を覆うダストカバー8とを備える。
以下では、ロッド20の軸方向を、単に「軸方向」と称する場合がある。また、軸方向の一方側(図1では下側)、軸方向の他方側(図1では上側)を、それぞれ、単に「一方側」、「他方側」と称する場合がある。また、軸方向に交差する方向(例えば、直交方向)を、「半径方向」と称する。半径方向において、シリンダ11の中心線側を単に「内側」と称し、中心線から離れる側を単に「外側」と称する場合がある。
【0010】
緩衝装置2は、オイルを収容するシリンダ部10と、他方側がシリンダ部10から突出して設けられるとともに一方側がシリンダ部10内にスライド可能に挿入されるロッド20とを備える。また、緩衝装置2は、ロッド20の一方側の端部に設けられるピストン部30と、シリンダ部10の一方側の端部に設けられるボトム部40とを備える。さらに、緩衝装置2は、シリンダ部10の外部に設けられて減衰力を発生させる減衰力発生装置50を備える。
(【0011】以降は省略されています)
この特許をJ-PlatPat(特許庁公式サイト)で参照する
関連特許
Astemo株式会社
緩衝器
今日
個人
鍋虫ねじ
1か月前
個人
ホース保持具
5か月前
個人
回転伝達機構
2か月前
個人
紛体用仕切弁
1か月前
個人
トーションバー
6か月前
個人
差動歯車用歯形
3か月前
個人
ジョイント
20日前
個人
給排気装置
2日前
株式会社不二工機
電磁弁
4か月前
株式会社不二工機
電磁弁
3か月前
個人
ナット
21日前
個人
地震の揺れ回避装置
2か月前
個人
吐出量監視装置
1か月前
カヤバ株式会社
緩衝器
1日前
カヤバ株式会社
ダンパ
3か月前
柿沼金属精機株式会社
分岐管
1か月前
カヤバ株式会社
ダンパ
3か月前
カヤバ株式会社
緩衝器
3か月前
カヤバ株式会社
緩衝器
3か月前
株式会社ノーリツ
分配弁
6日前
個人
固着具と固着具の固定方法
4か月前
株式会社ニフコ
クリップ
6日前
株式会社奥村組
制振機構
10日前
個人
固着具と固着具の固定方法
6か月前
株式会社不二工機
電磁弁
1か月前
株式会社不二工機
電動弁
2日前
株式会社ノーリツ
分配弁
5か月前
アズビル株式会社
回転弁
14日前
個人
固着具と固着具の固定方法
4か月前
株式会社タカギ
水栓装置
2か月前
個人
固着具と固着具の固定方法
4か月前
株式会社ノーリツ
分配弁
5か月前
株式会社ノーリツ
分配弁
5か月前
株式会社奥村組
制振機構
10日前
株式会社フジキン
ボールバルブ
4か月前
続きを見る
他の特許を見る