TOP
|
特許
|
意匠
|
商標
特許ウォッチ
Twitter
他の特許を見る
公開番号
2025147975
公報種別
公開特許公報(A)
公開日
2025-10-07
出願番号
2024048518
出願日
2024-03-25
発明の名称
医療用具セット
出願人
株式会社カネカ
代理人
弁理士法人アスフィ国際特許事務所
主分類
A61B
50/30 20160101AFI20250930BHJP(医学または獣医学;衛生学)
要約
【課題】安全性と作業効率を向上できる医療用具セットを提供する。
【解決手段】第1チューブと、前記第1チューブに連結するように構成されており、液体が充填されている内腔と吐出口とを有する可撓性容器と、前記第1チューブと前記可撓性容器を内包する包装袋と、を備える医療用具セット。
【選択図】図1
特許請求の範囲
【請求項1】
第1チューブと、
前記第1チューブに連結するように構成されており、液体が充填されている内腔と吐出口とを有する可撓性容器と、
前記第1チューブと前記可撓性容器を内包する包装袋と、を備える医療用具セット。
続きを表示(約 680 文字)
【請求項2】
前記可撓性容器は可撓性のブロー成形部を有しており、前記ブロー成形部は前記内腔の少なくとも一部を有している請求項1に記載の医療用具セット。
【請求項3】
前記可撓性容器は可撓性の袋状部を有しており、前記袋状部は前記内腔の少なくとも一部を有している請求項1に記載の医療用具セット。
【請求項4】
更に、前記可撓性容器の一部を挟んでいるクリップを有している請求項1~3のいずれか一項に記載の医療用具セット。
【請求項5】
前記可撓性容器は、前記第1チューブに直接または間接に連結されている請求項1~3のいずれか一項に記載の医療用具セット。
【請求項6】
前記可撓性容器の前記内腔と前記第1チューブの内腔と前記包装袋内の空間は連通している請求項5に記載の医療用具セット。
【請求項7】
更に、前記可撓性容器と前記第1チューブを連結し、前記可撓性容器の前記内腔と前記第1チューブの内腔と連通している内腔を有する連結部材を有している請求項1~3のいずれか一項に記載の医療用具セット。
【請求項8】
前記液体は生理食塩水を含む請求項1~3のいずれか一項に記載の医療用具セット。
【請求項9】
前記液体は薬物を含む請求項1~3のいずれか一項に記載の医療用具セット。
【請求項10】
前記薬物は抗凝固剤、抗血小板薬、抗癌剤、またはこれらの混合物を含む請求項9に記載の医療用具セット。
(【請求項11】以降は省略されています)
発明の詳細な説明
【技術分野】
【0001】
本発明は、液体が充填されている可撓性容器と、チューブと、これらを内包する包装袋とを有する医療用具セットに関する。
続きを表示(約 3,300 文字)
【背景技術】
【0002】
従来、シリンジに予めヘパリン溶液等が充填されている注射液製剤、いわゆるプレフィルドシリンジ製剤が医療の現場で使用されている。このようなヘパリンのプレフィルドシリンジ製剤は、カテーテルで血液が凝固して閉塞しないようにするための処置、いわゆるヘパリンロックの際に用いられている。プレフィルドシリンジ製剤として例えば特許文献1には、ヘパリンを約160~1000単位/mL含有するヘパリン溶液をシリンジに充填し、そのまま高圧蒸気滅菌を施して得られる、ヘパリン含有プレフィルドシリンジ製剤が開示されている。
【0003】
また従来、動脈瘤等内にコイル等の生体内留置具を留置し血栓化を促進することによって動脈瘤が破裂するのを防ぐ塞栓術が知られている。このような塞栓術で用いられる装置として、例えば特許文献2には、基部と、末端部と、比較的可撓性のあるポリマー材料から形成された中間部と、第1の内腔と、側面開口を備えた第2の内腔と、プーラーワイヤとを有する運搬カテーテルを持ち、前記側面開口が前記運搬カテーテルの前記中間部内の所定の位置に設けられており、前記プーラーワイヤが、前記第1の内腔内に延在し、かつ前記運搬カテーテルの前記末端部に近接した位置で前記運搬カテーテルに固定的に取り付けられ、前記プーラーワイヤを基部側に引っ張ると前記比較的可撓性のある中間部が撓み、それによって前記側面開口が前記運搬カテーテルに対して横方向に移動する装置が開示されている。更に特許文献2には、シリンジにおいて液圧をかけることによりカテーテルを介して塞栓コイルを動脈瘤内に送達できることが記載されている。
【先行技術文献】
【特許文献】
【0004】
特開2006-169214号公報
特開2003-102842号公報
【発明の概要】
【発明が解決しようとする課題】
【0005】
カテーテル等のチューブとシリンジとは様々な処置で用いられている。例えば医療の現場において液体をシリンジに充填して、更にそのシリンジにチューブを連結する場合には手間がかかり、また作業中に細菌や埃が混入する可能性がある。更に充填された液体をシリンジから吐出するときには、シリンジの外筒を保持しながら押し子を押す必要があるため両手を使用する必要があった。本発明は上記の様な事情に着目してなされたものであって、その目的は、安全性と作業効率を向上できる医療用具セットを提供することにある。
【課題を解決するための手段】
【0006】
上記課題を解決することのできた実施の形態に係る医療用具セットは、以下の通りである。
[1]第1チューブと、
前記第1チューブに連結するように構成されており、液体が充填されている内腔と吐出口とを有する可撓性容器と、
前記第1チューブと前記可撓性容器を内包する包装袋と、を備える医療用具セット。
【0007】
上記のように可撓性容器に液体が予め充填されていることにより、例えば医療の現場において可撓性容器に液体を充填する作業を省略することができる。このような作業を省略することにより充填作業中のコンタミネーション(以下、コンタミ)を回避することができる。更に、可撓性容器は可撓性を有しているため、指で容器を圧縮する等の容易な操作により吐出口から液体を吐出することができる。このように医療用具セットは、安全性と作業効率を向上することができる。
【0008】
実施の形態に係る医療用具セットは、以下の[2]~[17]のいずれかであることが好ましい。
[2]前記可撓性容器は可撓性のブロー成形部を有しており、前記ブロー成形部は前記内腔の少なくとも一部を有している[1]に記載の医療用具セット。
[3]前記可撓性容器は可撓性の袋状部を有しており、前記袋状部は前記内腔の少なくとも一部を有している[1]または[2]に記載の医療用具セット。
[4]更に、前記可撓性容器の一部を挟んでいるクリップを有している[1]~[3]のいずれか一項に記載の医療用具セット。
[5]前記可撓性容器は、前記第1チューブに直接または間接に連結されている[1]~[4]のいずれか一項に記載の医療用具セット。
[6]前記可撓性容器の前記内腔と前記第1チューブの内腔と前記包装袋内の空間は連通している[5]に記載の医療用具セット。
[7]更に、前記可撓性容器と前記第1チューブを連結し、前記可撓性容器の前記内腔と前記第1チューブの内腔と連通している内腔を有する連結部材を有している[1]~[6]のいずれか一項に記載の医療用具セット。
[8]前記液体は生理食塩水を含む[1]~[7]のいずれか一項に記載の医療用具セット。
[9]前記液体は薬物を含む[1]~[8]のいずれか一項に記載の医療用具セット。
[10]前記薬物は抗凝固剤、抗血小板薬、抗癌剤、またはこれらの混合物を含む[9]に記載の医療用具セット。
[11]更に、前記第1チューブの内腔に少なくとも一部が配置されている生体内留置具と、先端側に前記生体内留置具が配置されている長尺の生体内留置具送達具と、を有する[1]~[10]のいずれか一項に記載の医療用具セット。
[12]前記生体内留置具送達具の先端部に前記生体内留置具が離脱可能に連結されている[11]に記載の医療用具セット。
[13]前記生体内留置具は、コイル部を有している[11]または[12]に記載の医療用具セット。
[14]更に第2チューブを有し、前記第2チューブの内腔には前記第1チューブの少なくとも一部が配置されている[1]~[13]のいずれか一項に記載の医療用具セット。
[15]前記第2チューブは巻回されている[14]に記載の医療用具セット。
[16]前記第2チューブの長手方向の一端から前記第1チューブの一部が露出しており、前記第2チューブの前記長手方向の他端から前記生体内留置具送達具の一部が露出している[14]または[15]に記載の医療用具セット。
[17]前記液体は、前記第1チューブの内腔に存在していない[1]~[16]のいずれか一項に記載の医療用具セット。
【発明の効果】
【0009】
本発明によれば、安全性と作業効率を向上できる医療用具セットを提供することができる。
【図面の簡単な説明】
【0010】
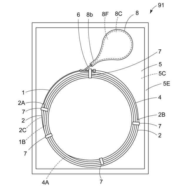
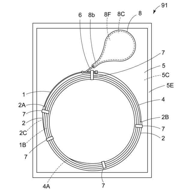
図1は、第1の実施の形態に係る医療用具セットの平面図である。
図2は、図1のうち包装袋、第2チューブ、チューブクリップの図示を省略した平面図である。
図3は、図2の連結部材近傍の拡大図である。
図4は、図3の可撓性容器を指で押し潰したときの可撓性容器の平面図である。
図5は、第1の実施の形態に係る医療用具セットの可撓性容器の変形例の斜視図である。
図6は、図5の可撓性容器を指で押し潰したときの斜視図である。
図7は、図2の第1チューブの先端近傍の側面図である。
図8は、図2の第1チューブの先端から、生体内留置具送達具に連結されている生体内留置具を露出させたときの側面図である。
図9は、図2の可撓性容器と連結部材をフィルタで連結したときの連結部材近傍の拡大図である。
図10は、図2の可撓性容器の一部をクリップで挟んだときの連結部材近傍の拡大図である。
図11は、第2の実施の形態に係る医療用具セットの平面図である。
図12は、第3の実施の形態に係る医療用具セットの平面図である。
【発明を実施するための形態】
(【0011】以降は省略されています)
この特許をJ-PlatPat(特許庁公式サイト)で参照する
関連特許
株式会社カネカ
飲料
2日前
株式会社カネカ
飲料
2日前
株式会社カネカ
抗菌剤
13日前
株式会社カネカ
積層装置
10日前
株式会社カネカ
電解装置
1か月前
株式会社カネカ
塗布装置
10日前
株式会社カネカ
医療用具
6日前
株式会社カネカ
二次電池
1か月前
株式会社カネカ
製膜装置
6日前
株式会社カネカ
製膜装置
6日前
株式会社カネカ
植毛装置
3か月前
株式会社カネカ
カテーテル
6日前
株式会社カネカ
汎用かつら
21日前
株式会社カネカ
剃刀の持手
3か月前
株式会社カネカ
正極活物質
10日前
株式会社カネカ
カテーテル
6日前
株式会社カネカ
カテーテル
6日前
株式会社カネカ
カテーテル
1日前
株式会社カネカ
カテーテル
今日
株式会社カネカ
カテーテル
今日
株式会社カネカ
カテーテル
今日
株式会社カネカ
カテーテル
今日
株式会社カネカ
ヘルメット
1か月前
株式会社カネカ
硬化性組成物
1か月前
株式会社カネカ
硬化性組成物
1か月前
株式会社カネカ
濃縮システム
1か月前
株式会社カネカ
蓄冷材組成物
1か月前
株式会社カネカ
生体内留置具
6日前
株式会社カネカ
生体内留置具
3か月前
株式会社カネカ
製造システム
1か月前
株式会社カネカ
光学フィルム
1か月前
株式会社カネカ
硬化性組成物
3か月前
株式会社カネカ
生体内留置具
1か月前
株式会社カネカ
結晶化促進剤
3か月前
株式会社カネカ
保護キャップ
1か月前
株式会社カネカ
製造システム
1か月前
続きを見る
他の特許を見る