TOP
|
特許
|
意匠
|
商標
特許ウォッチ
Twitter
他の特許を見る
10個以上の画像は省略されています。
公開番号
2025149411
公報種別
公開特許公報(A)
公開日
2025-10-08
出願番号
2024050054
出願日
2024-03-26
発明の名称
カテーテル
出願人
株式会社カネカ
代理人
弁理士法人アスフィ国際特許事務所
主分類
A61M
25/10 20130101AFI20251001BHJP(医学または獣医学;衛生学)
要約
【課題】バルーン拡張時の位置ずれを抑制することができるカテーテルを提供する。
【解決手段】内腔3Cを有する第1シャフト3と、内腔3Cに配され、第1シャフト3に対して長手方向xに移動する第2シャフト20と、第2シャフト20の遠位部20Fに配されているバルーン30であって、径方向yに拡縮する本体部31を有し、患者の病変部の長さによって第1シャフト3からの本体部31の突出長さを調整可能なバルーン30と、を備え、第1シャフト3は、その遠位部に、第1区間11と、第1区間11よりも近位側に位置し、本体部31の拡張に伴い内径が大きくなる第2区間12とを有し、本体部31の拡張前後における第2区間12の平均内径の変化率は、本体部31の拡張前後における第1区間11の平均内径の変化率よりも大きいカテーテル1。
【選択図】図5
特許請求の範囲
【請求項1】
長手方向と径方向を有し、前記長手方向に延びている内腔を有する第1シャフトと、
前記内腔に配され、前記第1シャフトに対して前記長手方向に移動する第2シャフトと、
前記第2シャフトの遠位部に配されているバルーンであって、前記径方向に拡縮する本体部を有し、患者の病変部の長さによって前記第1シャフトからの前記本体部の突出長さを調整可能なバルーンと、を備え、
前記第1シャフトは、その遠位部に、前記第1区間と、前記第1区間よりも近位側に位置し、前記本体部の拡張に伴い内径が大きくなる第2区間とを有し、
前記本体部の拡張前後における前記第2区間の平均内径の変化率は、前記本体部の拡張前後における前記第1区間の平均内径の変化率よりも大きいカテーテル。
続きを表示(約 920 文字)
【請求項2】
前記第1シャフトは、前記第2区間よりも近位側であって前記第1シャフトの近位端まで延びている第3区間をさらに有し、
前記本体部の拡張前後における前記第3区間の平均内径の変化率は、前記本体部の拡張前後における前記第2区間の平均内径の変化率よりも小さい請求項1に記載のカテーテル。
【請求項3】
前記本体部の拡張前後における前記第1区間の平均内径の変化率は、前記本体部の拡張前後における前記第3区間の平均内径の変化率よりも小さい請求項2に記載のカテーテル。
【請求項4】
前記本体部の拡張前後における前記第2区間の平均外径の変化率は、前記本体部の拡張前後における前記第2区間の平均内径の変化率よりも小さい請求項1または2に記載のカテーテル。
【請求項5】
前記第2区間において、前記第1シャフトは、外層と、前記外層よりも前記径方向の内方に位置している内層と、を有しており、
前記内層は、前記外層よりも硬度が低い材料によって構成されている請求項1または2に記載のカテーテル。
【請求項6】
前記第2区間において、前記第1シャフトは、外層と、前記外層よりも前記径方向の内方に位置している内層と、を有しており、
前記第2区間において、前記第1シャフトは、前記外層と前記内層が前記径方向において互いに離隔している部分を有している請求項1または2に記載のカテーテル。
【請求項7】
前記第1シャフトは、その外面および/またはその側壁内に補強部材を有している請求項1または2に記載のカテーテル。
【請求項8】
前記補強部材は、金属を含む材料から構成されており、筒形状を有している請求項7に記載のカテーテル。
【請求項9】
前記長手方向において、前記補強部材は、前記第2区間と重なるように配されている請求項7に記載のカテーテル。
【請求項10】
前記長手方向において、前記補強部材は、前記第1区間と重なるように配されている請求項7に記載のカテーテル。
(【請求項11】以降は省略されています)
発明の詳細な説明
【技術分野】
【0001】
本発明は、カテーテルに関する。
続きを表示(約 3,700 文字)
【背景技術】
【0002】
血管、気管、消化管等の体腔にある病変部に対して、バルーンやステントなどの拡縮可能なデバイスを用いることがある。ところで病変部の大きさは病変の種類や患者毎に異なるため、バルーンのうち病変部に当接する部分を所望の長さに調節可能なカテーテルが開発されている。
【0003】
例えば、特許文献1には、シース内にバルーンの一部が配置されている状態でバルーンを拡径させることにより、バルーンのうち病変部に当接する部分の長さを調節することができる技術が記載されている。手技では、シースから突出させるバルーンの長さを調整して病変部の長さと合わせた後、体内にデバイスを挿入して病変部まで搬送した後にバルーンを拡張させる。
【先行技術文献】
【特許文献】
【0004】
米国特許第6884257号明細書
【発明の概要】
【発明が解決しようとする課題】
【0005】
しかしながら、特許文献1に記載されたデバイスでは、バルーンを拡張させたときにシースからの反力でバルーンがシースに対して遠位側に動いてしまい、拡張前と比べてバルーンがシースから突出し過ぎることがあった。そこで、本発明は、バルーン拡張時のバルーンの位置ずれを抑制することができるカテーテルを提供することを目的とする。
【課題を解決するための手段】
【0006】
上記課題を解決することのできた本発明の実施の形態に係るカテーテルは、以下の通りである。
[1] 長手方向と径方向を有し、前記長手方向に延びている内腔を有する第1シャフトと、
前記内腔に配され、前記第1シャフトに対して前記長手方向に移動する第2シャフトと、
前記第2シャフトの遠位部に配されているバルーンであって、前記径方向に拡縮する本体部を有し、患者の病変部の長さによって前記第1シャフトからの前記本体部の突出長さを調整可能なバルーンと、を備え、
前記第1シャフトは、その遠位部に、前記第1区間と、前記第1区間よりも近位側に位置し、前記本体部の拡張に伴い内径が大きくなる第2区間とを有し、
前記本体部の拡張前後における前記第2区間の平均内径の変化率は、前記本体部の拡張前後における前記第1区間の平均内径の変化率よりも大きいカテーテル。
【0007】
さらに実施の形態に係るカテーテルは、以下の[2]~[13]のいずれかであることが好ましい。
[2] 前記第1シャフトは、前記第2区間よりも近位側であって前記第1シャフトの近位端まで延びている第3区間をさらに有し、
前記本体部の拡張前後における前記第3区間の平均内径の変化率は、前記本体部の拡張前後における前記第2区間の平均内径の変化率よりも小さい[1]に記載のカテーテル。
[3] 前記本体部の拡張前後における前記第1区間の平均内径の変化率は、前記本体部の拡張前後における前記第3区間の平均内径の変化率よりも小さい[2]に記載のカテーテル。
[4] 前記本体部の拡張前後における前記第2区間の平均外径の変化率は、前記本体部の拡張前後における前記第2区間の平均内径の変化率よりも小さい[1]~[3]のいずれか一項に記載のカテーテル。
[5] 前記第2区間において、前記第1シャフトは、外層と、前記外層よりも前記径方向の内方に位置している内層と、を有しており、
前記内層は、前記外層よりも硬度が低い材料によって構成されている[1]~[4]のいずれか一項に記載のカテーテル。
[6] 前記第2区間において、前記第1シャフトは、外層と、前記外層よりも前記径方向の内方に位置している内層と、を有しており、
前記第2区間において、前記第1シャフトは、前記外層と前記内層が前記径方向において互いに離隔している部分を有している[1]~[5]のいずれか一項に記載のカテーテル。
[7] 前記第1シャフトは、その外面および/またはその側壁内に補強部材を有している[1]~[6]のいずれか一項に記載のカテーテル。
[8] 前記補強部材は、金属を含む材料から構成されており、筒形状を有している[7]に記載のカテーテル。
[9] 前記長手方向において、前記補強部材は、前記第2区間と重なるように配されている[7]または[8]に記載のカテーテル。
[10] 前記長手方向において、前記補強部材は、前記第1区間と重なるように配されている[7]~[9]のいずれか一項に記載のカテーテル。
[11] 前記第1区間に取り付けられている放射線不透過のマーカーを有する[1]~[10]のいずれか一項に記載のカテーテル。
[12] 前記第1シャフトは、前記第1区間よりも遠位側に位置し、前記本体部の拡張に伴い内径が大きくなる第4区間をさらに有する[1]~[11]のいずれか一項に記載のカテーテル。
[13] 前記第1区間に取り付けられている放射線不透過のマーカーを有し、前記マーカーは前記第4区間まで延びている[12]に記載のカテーテル。
【発明の効果】
【0008】
上記カテーテルでは、第1区間と、第1シャフトが本体部の拡張に伴い内径が大きくなる第2区間を有し、平均内径の変化率が第1区間よりも第2区間の方が大きいため、バルーンの本体部を拡張させたときに、第1シャフトがバルーンから受ける応力を第2区間で受け止めることができるとともに、第1区間によってバルーンの位置を固定できるため、バルーンの本体部の拡張時の第1シャフトに対するバルーンの位置ずれを抑制することができる。
【図面の簡単な説明】
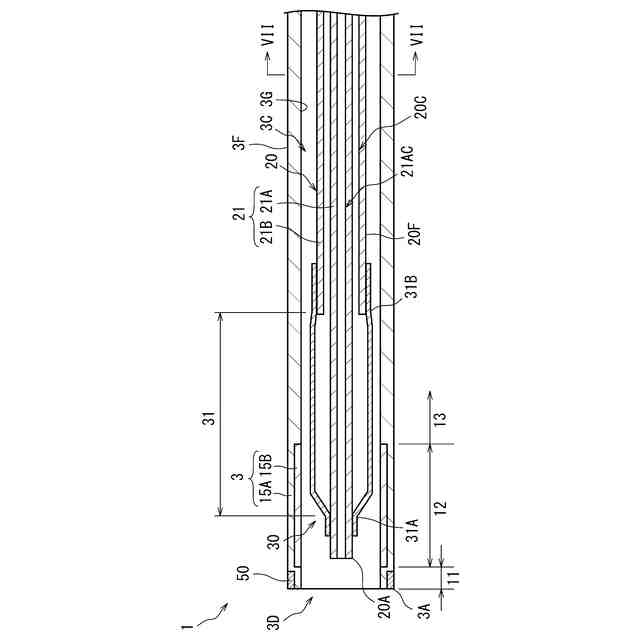
【0009】
本発明の一実施形態に係るカテーテルの側面図である。
本発明の一実施形態に係るカテーテルが有する第2シャフトおよびバルーンの側面図である。
本発明の一実施形態に係るカテーテルの長手方向に沿った断面図であり、第1シャフト内に収縮状態のバルーンの本体部を配置した状態を示している。
本発明の一実施形態に係るカテーテルの長手方向に沿った断面図であり、第1シャフトから収縮状態のバルーンの本体部を突出させた状態を示している。
本発明の一実施形態に係るカテーテルの長手方向に沿った断面図であり、第1シャフトから突出させたバルーンの本体部を拡張させた状態を示している。
図2に示したカテーテルに備えられたバルーンの斜視図である。
図3に示したカテーテルのVII-VII線に沿った切断部端面図である。
図5に示したカテーテルのVIII-VIII線に沿った切断部端面図である。
図5に示したカテーテルの変形例を示す断面図である。
図4に示したカテーテルの他の変形例を示す断面図である。
図10に示したカテーテルにおいて、バルーンの本体部を拡張させた状態を示す断面図である。
図5に示したカテーテルの他の変形例を示す断面図である。
図12に示したカテーテルの他の変形例を示す断面図である。
図5に示したカテーテルのさらに他の変形例を示す断面図である。
図14に示したカテーテルのXVI-XVI線に沿った切断部端面図である。
図14に示したカテーテルに備えられたバルーンの斜視図である。
図14に示したカテーテルのバルーンの収縮状態を示す切断部端面図である。
図14に示したカテーテルのバルーンの収縮状態の変形例を示す切断部端面図である。
図14に示したバルーンの凸部周りの拡大断面図である。
図15に示したカテーテルの変形例を示す切断部端面図である。
図15に示したカテーテルの他の変形例を示す切断部端面図である。
図15に示したカテーテルのさらに他の変形例を示す切断部端面図である。
図5に示した第1シャフトの変形例を示す断面図である。
図23に示した第1シャフトの内側凸部とバルーンの凸部の位置関係を示す図である。
【発明を実施するための形態】
【0010】
以下、下記実施の形態に基づき本発明をより具体的に説明するが、本発明はもとより下記実施の形態によって制限を受けるものではなく、前・後記の趣旨に適合し得る範囲で適当に変更を加えて実施することも勿論可能であり、それらはいずれも本発明の技術的範囲に包含される。なお、各図面において、便宜上、ハッチングや部材符号等を省略する場合もあるが、かかる場合、明細書や他の図面を参照するものとする。また、図面における種々部材の寸法は、本発明の特徴の理解に資することを優先しているため、実際の寸法とは異なる場合がある。
(【0011】以降は省略されています)
この特許をJ-PlatPat(特許庁公式サイト)で参照する
関連特許
株式会社カネカ
飲料
2日前
株式会社カネカ
飲料
2日前
株式会社カネカ
抗菌剤
13日前
株式会社カネカ
積層装置
10日前
株式会社カネカ
塗布装置
10日前
株式会社カネカ
電解装置
1か月前
株式会社カネカ
製膜装置
6日前
株式会社カネカ
医療用具
6日前
株式会社カネカ
二次電池
1か月前
株式会社カネカ
製膜装置
6日前
株式会社カネカ
カテーテル
1日前
株式会社カネカ
汎用かつら
21日前
株式会社カネカ
正極活物質
10日前
株式会社カネカ
カテーテル
今日
株式会社カネカ
カテーテル
今日
株式会社カネカ
カテーテル
6日前
株式会社カネカ
カテーテル
今日
株式会社カネカ
カテーテル
6日前
株式会社カネカ
ヘルメット
1か月前
株式会社カネカ
カテーテル
6日前
株式会社カネカ
カテーテル
今日
株式会社カネカ
濃縮システム
1か月前
株式会社カネカ
生体内留置具
6日前
株式会社カネカ
硬化性組成物
1か月前
株式会社カネカ
蓄冷材組成物
1か月前
株式会社カネカ
硬化性組成物
20日前
株式会社カネカ
樹脂チューブ
20日前
株式会社カネカ
保護キャップ
1か月前
株式会社カネカ
製造システム
1か月前
株式会社カネカ
生体内留置具
1か月前
株式会社カネカ
硬化性組成物
1か月前
株式会社カネカ
酵母含有菓子
1日前
株式会社カネカ
製造システム
1か月前
株式会社カネカ
光学フィルム
1か月前
株式会社カネカ
油脂の製造方法
8日前
株式会社カネカ
医療用具セット
2日前
続きを見る
他の特許を見る