TOP
|
特許
|
意匠
|
商標
特許ウォッチ
Twitter
他の特許を見る
10個以上の画像は省略されています。
公開番号
2025148193
公報種別
公開特許公報(A)
公開日
2025-10-07
出願番号
2024048830
出願日
2024-03-25
発明の名称
地盤削孔装置を用いた削孔方法
出願人
株式会社日東テクノ・グループ
代理人
個人
主分類
E21B
7/20 20060101AFI20250930BHJP(地中もしくは岩石の削孔;採鉱)
要約
【課題】地盤内に埋設された管や杭などの地中埋設物を、途中で切断したり残置することなく、また再削孔などをせずに撤去・縁切りを可能とする地盤削孔装置を提供する。
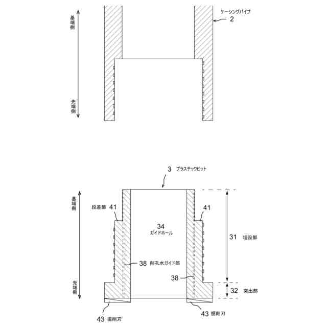
【解決手段】地盤削孔装置1は、埋設管などの地中埋設物の撤去に用いる装置であって、撤去対象の地中埋設物の周囲の地盤を縁切りするケーシングパイプ2と、その先端部に装着するプラスチックビット3を有する。プラスチックビット3は、撤去対象の地中埋設物をセンタリングしつつケーシングパイプ2内にガイドするガイドホール34を具備する。プラスチックビット3のガイドホール34は、地中埋設物と同程度の径に設定されている。ケーシングパイプ2の先端にプラスチックビット3を装着した状態では、プラスチックビット3の突出部32が突き出ていて、ケーシングパイプ先端とプラスチックビット先端との間に段差がある。
【選択図】図1
特許請求の範囲
【請求項1】
地中埋設物の撤去に用いる地盤削孔装置であって、
撤去対象の地中埋設物と周囲の地盤との縁切りを行うためのケーシングパイプと、
前記ケーシングパイプの先端部に設けられたプラスチックビットと、を有しており、
前記プラスチックビットは、撤去対象の前記地中埋設物をセンタリングしつつ前記ケーシングパイプ内にガイドするガイドホールを具備する、ことを特徴とする地盤削孔装置。
続きを表示(約 1,100 文字)
【請求項2】
前記プラスチックビットの前記ガイドホールは、前記地中埋設物とほぼ同程度の径を有する、ことを特徴とする請求項1に記載の地盤削孔装置。
【請求項3】
前記プラスチックビットは、
前記ケーシングパイプの先端部の内側に部分的に埋め込むように設けられ、かつ、
前記ケーシングパイプの先端と前記プラスチックビットの先端との間に段差が生じるように、または、前記プラスチックビットが前記ケーシングパイプの先端を覆うように、設けられている、ことを特徴とする請求項1に記載の地盤削孔装置。
【請求項4】
前記プラスチックビットは、
削孔水を吐出するための吐出口と、
前記ケーシングパイプ内を介して送水された削孔水を前記吐出口へガイドするための削孔水ガイド部と、
を更に具備する、ことを特徴とする請求項1に記載の地盤削孔装置。
【請求項5】
請求項1に記載の地盤削孔装置を用いた削孔方法であって、
ケーシングパイプの先端部にプラスチックビットを備えた地盤削孔装置を、撤去対象の地中埋設物に向かって前進させてかぶせ掘りを行い、
前記地盤削孔装置によるかぶせ掘りの過程で、前記プラスチックビットのガイドホールを介して、前記地中埋設物をセンタリングしつつ前記ケーシングパイプ内に収容する、
ことを特徴とする削孔方法。
【請求項6】
請求項1に記載の地盤削孔装置を用いた地中埋設物の撤去方法であって、
ケーシングパイプの先端部にプラスチックビットを備えた地盤削孔装置を、撤去対象の地中埋設物に向かって前進させてかぶせ掘りを行い、
前記地盤削孔装置によるかぶせ掘りの過程で、前記プラスチックビットのガイドホールを介して、前記地中埋設物をセンタリングしつつ前記ケーシングパイプ内に収容し、
前記ケーシングパイプ内の前記地中埋設物を引き抜く、
ことを特徴とする地中埋設物の撤去方法。
【請求項7】
請求項1に記載の地盤削孔装置で用いるプラスチックビットであって、
プラスチックビットをケーシングパイプに装着した状態で、当該ケーシングパイプの先端部の内側に埋没する埋没部と、
前記埋没部と一体的に形成されており、プラスチックビットをケーシングパイプに装着した状態で、当該ケーシングパイプの先端から突き出る突出部と、
前記埋没部と前記突出部を貫くように形成され、撤去対象の地中埋設物をセンタリングしつつ前記ケーシングパイプ内にガイドするガイドホールと、
を有することを特徴とするプラスチックビット。
発明の詳細な説明
【技術分野】
【0001】
本発明は、埋設管や杭などの地中埋設物の撤去に利用可能な地盤削孔装置、削孔方法、地中埋設物の撤去方法、プラスチックビットに関するものである。
続きを表示(約 1,300 文字)
【背景技術】
【0002】
地盤改良の施工時において、改良効果の確認や改良品質の確認、周辺地盤の影響確認などを目的とし、計測管を鉛直・水平・斜めに埋設する。そして、埋設した計測管に挿入・貼り付け等を行ったセンサーや計器を用いて、音・光・圧力・温度などを機械的・電磁気的・熱的・音響的・化学的な性質や物理量を検知・検出・測定し評価する。一般的に、計測管は10mm程度~200mm程度の径を有しており、計測管の材質は鉄(スチール)や銅、ステンレス、アルミ、硬質ポリ塩化ビニル等である。
【0003】
上記のような計測管等からなる地中埋設物は、計測終了後にそのまま地中に残置すると次工程の障害(シールドマシンの通過、立坑の構築、構造物の築造などの妨げ)となる場合があるので、計測管を抜管するなどして当該地中埋設物を撤去する必要がある。
【0004】
例えば埋設管(埋設された計測管)を抜管する際、従来では、埋設管を収容可能な径のケーシングパイプ(ボーリングをしている間に、孔壁が崩れないように挿入されるパイプ)の先端にプラスチックビットを用いて埋設管を損傷させないようにしていた。また、ケーシングパイプ先端のビットに鉄製の材質のものを使用する場合もあった。
【0005】
しかしながら、ケーシングパイプ先端に鉄製ビットを用いる場合において、図9に示すように撤去対象の埋設管が地中で曲がっている場合には、先端の鉄製ビットで埋設管を切断したり、ケーシングパイプ内に切削したものを巻き込み除去に時間が掛かり、場合によっては回収できず地中に残置するなどの問題があった。
【0006】
また、ケーシングパイプ先端にプラスチックビットを用いる場合において、埋設管が地中で曲がっている場合は途中で掘削が出来なくなったり再削孔を余儀なくされるなどして効率が悪かった。
【0007】
なお、埋設管を撤去する場合に限らず、杭などを撤去する場合でも上記と同様の問題が生じていた。
【発明の概要】
【発明が解決しようとする課題】
【0008】
上述した従来技術の問題点に鑑み、本発明の目的は、地盤内に埋設された管や杭などの地中埋設物を、途中で切断したり残置することなく、また再削孔などをせずに撤去・縁切りを可能とする地盤削孔装置、削孔方法、地中埋設物の撤去方法、プラスチックビットを提供することにある。
【課題を解決するための手段】
【0009】
上記目的は、地中埋設物の撤去に用いる地盤削孔装置であって、
撤去対象の地中埋設物と周囲の地盤との縁切りを行うためのケーシングパイプと、
前記ケーシングパイプの先端部に設けられたプラスチックビットと、を有しており、
前記プラスチックビットは、撤去対象の前記地中埋設物をセンタリングしつつ前記ケーシングパイプ内にガイドするガイドホールを具備する地盤削孔装置によって達成される。
【0010】
上記地盤削孔装置において、プラスチックビットのガイドホールは、前記地中埋設物とほぼ同程度の径を有している。
(【0011】以降は省略されています)
この特許をJ-PlatPat(特許庁公式サイト)で参照する
関連特許
個人
掘削機
4か月前
日特建設株式会社
切断装置
1日前
株式会社奥村組
地山探査方法
2か月前
株式会社奥村組
地山探査装置
2か月前
株式会社奥村組
地山探査装置
2か月前
株式会社奥村組
地山探査装置
2か月前
株式会社笠原建設
横孔形成方法
5か月前
株式会社奥村組
シールド掘進機
27日前
株式会社奥村組
シールド掘進機
4か月前
日特建設株式会社
ボーリング装置
6か月前
岐阜工業株式会社
トンネルセントル
27日前
花王株式会社
岩盤の掘削方法
3か月前
個人
掘削機、及び、資源回収システム
5か月前
個人
オープンシールド機
1か月前
個人
オープンシールド機
1か月前
株式会社熊谷組
天井板撤去装置
5か月前
株式会社奥村組
セグメントの組立方法
1か月前
株式会社奥村組
泥土圧シールド掘進機
5か月前
大阪瓦斯株式会社
牽引装置
5か月前
個人
箱形ルーフおよびその施工法
20日前
株式会社ケー・エフ・シー
剥落防止構造
6か月前
デンカ株式会社
静的破砕方法
1か月前
株式会社金澤製作所
発進坑口のエントランス装置
4か月前
地中空間開発株式会社
トンネル掘削機
13日前
大阪瓦斯株式会社
切欠開裂治具
5か月前
個人
メタンハイドレート等海底鉱物資源の採取方法
2か月前
岐阜工業株式会社
トンネルセントルの妻板装置
2か月前
日鉄建材株式会社
構造物用補強リング及び構造物
21日前
古河ロックドリル株式会社
穿孔機械
7か月前
株式会社神島組
小割用工具および小割方法
6か月前
株式会社奥村組
地山探査装置に用いる地山保持材
2か月前
戸田建設株式会社
掘削機切削部側壁
3か月前
大栄工機株式会社
トンネル防水工法
6か月前
株式会社ケー・エフ・シー
トンネル水圧調整装置
1か月前
大成建設株式会社
トンネルとその施工方法
6か月前
株式会社奥村組
先行ビットおよびそれを備える掘削機
1か月前
続きを見る
他の特許を見る