TOP
|
特許
|
意匠
|
商標
特許ウォッチ
Twitter
他の特許を見る
10個以上の画像は省略されています。
公開番号
2025148221
公報種別
公開特許公報(A)
公開日
2025-10-07
出願番号
2024185633
出願日
2024-10-22
発明の名称
板状ワークの研削方法及び研削装置
出願人
株式会社ディスコ
代理人
インフォート弁理士法人
主分類
B24B
7/04 20060101AFI20250930BHJP(研削;研磨)
要約
【課題】中央が盛り上がるように反りを有する板状ワークを研削する際の作業性を向上すること。
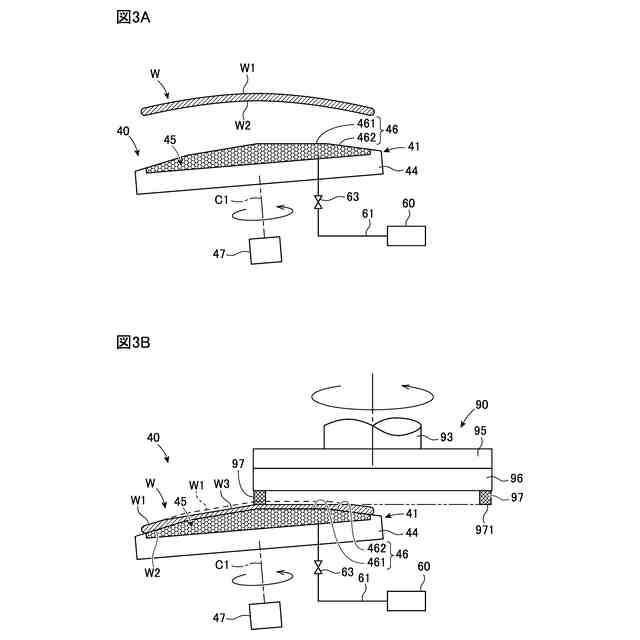
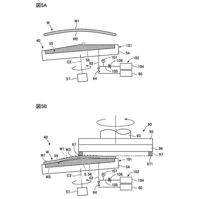
【解決手段】本発明は、中央が盛り上がった板状ワーク(W)を研削砥石(97)で研削する板状ワークの研削方法である。この研削方法は、第1チャックテーブル(41)の中央が外周より盛り上がった形状の保持面(46)で板状ワークを吸引保持する第1保持工程と、板状ワークの中央部分(W3)を研削砥石で研削して、板状ワークを平たんにするときの反力を低減させる反力低減研削工程と、第2チャックテーブル(42)の研削砥石の下面に対して平行な保持面(56)で、板状ワークを吸引保持する第2保持工程と、板状ワークを研削砥石で仕上げ研削する仕上げ研削工程とを含む。
【選択図】図3
特許請求の範囲
【請求項1】
中央が盛り上がった板状ワークを研削砥石で研削する板状ワークの研削方法であって、
第1チャックテーブルの中央が外周より盛り上がった形状の保持面で、該板状ワークを吸引保持する第1保持工程と、
該板状ワークの中央部分を該研削砥石で研削して、該板状ワークを平たんにするときの反力を低減させる反力低減研削工程と、
第2チャックテーブルの該研削砥石の下面に対して平行な保持面で、該板状ワークを吸引保持する第2保持工程と、
該板状ワークを該研削砥石で仕上げ研削する仕上げ研削工程と、からなる、板状ワークの研削方法。
続きを表示(約 910 文字)
【請求項2】
請求項1記載の板状ワークの研削方法を可能とする研削装置であって、
該研削砥石の下面に対して盛り上がっている該保持面の該第1チャックテーブルと、
該研削砥石の下面に対して平行な該保持面の該第2チャックテーブルと、
該第1チャックテーブルおよび該第2チャックテーブルに吸引保持された該板状ワークを研削する研削機構と、を少なくとも備える研削装置。
【請求項3】
中央が盛り上がった板状ワークを研削砥石で研削する板状ワークの研削方法であって、
チャックテーブルの該研削砥石の下面に対して平行な保持面によって該板状ワークの中央が盛り上がった状態で該板状ワークを吸引保持する第1保持工程と、
該板状ワークの中央部分を該研削砥石で研削して、該板状ワークを平たんにするときの反力を低減させる反力低減研削工程と、
該チャックテーブルの該保持面と該板状ワークの下面との間に隙間無く該保持面で該板状ワークを吸引保持する第2保持工程と、
該板状ワークを該研削砥石で仕上げ研削する仕上げ研削工程と、からなる、板状ワークの研削方法。
【請求項4】
請求項3記載の板状ワークの研削方法を可能とする研削装置であって、
該保持面を有する該チャックテーブルと、
該保持面と吸引源とを連通する吸引路と、
該吸引路に配置し該保持面の負圧値を調整する圧力調整部と、
該チャックテーブルに吸引保持された該板状ワークを研削する研削機構と、を少なくとも備える研削装置。
【請求項5】
請求項3記載の板状ワークの研削方法を可能とする研削装置であって、
同心円状の中央保持面と外周保持面との少なくとも2つの保持面を有するチャックテーブルと、
該中央保持面と吸引源とを連通する中央吸引路と、
該外周保持面と該吸引源とを連通する外周吸引路と、
該保持面の面積を変更する面積変更部と、
該チャックテーブルに吸引保持された板状ワークを研削する研削機構と、を少なくとも備える研削装置。
発明の詳細な説明
【技術分野】
【0001】
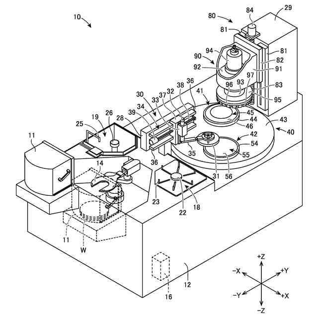
本発明は、板状ワークを保持するチャックテーブルを用いた板状ワークの研削方法及び研削装置に関する。
続きを表示(約 1,600 文字)
【背景技術】
【0002】
特許文献1は、反りがある板状ワークを回転する研削砥石で研削する研削方法を開示している。特許文献1では、反りがある板状ワークをチャックテーブルに保持させるため、反りによって凹状となる板状ワークの面の外周部にテープを貼り付けている。かかるテープの貼り付けによって、テープと凹状の面とで閉鎖する空間が形成され、該空間を形成した状態でテープを介して板状ワークをチャックテーブルに保持させている。
【先行技術文献】
【特許文献】
【0003】
特開2021-062460号公報
【発明の概要】
【発明が解決しようとする課題】
【0004】
しかしながら、上述したテープの貼り付けは、貼り付けと同時に閉塞する空間を形成する負担があり、作業性が低下するという問題がある。
【0005】
本発明はかかる点に鑑みてなされたものであり、中央が盛り上がるように反りを有する板状ワークを研削する際の作業性を向上することができる板状ワークの研削方法及び研削装置を提供することを目的の一つとする。
【課題を解決するための手段】
【0006】
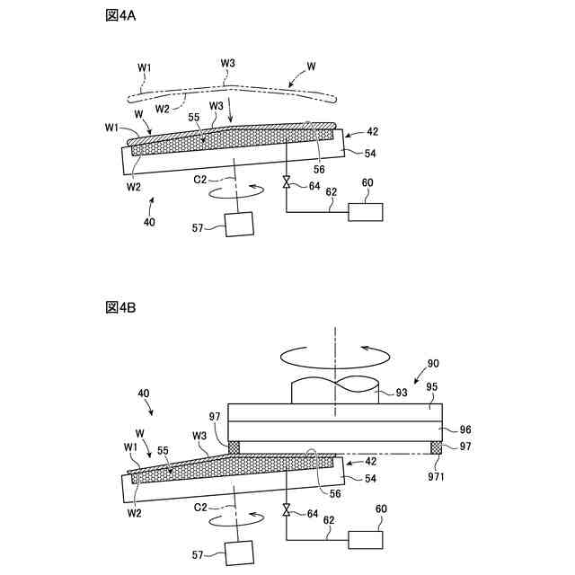
本発明の一態様の板状ワークの研削方法は、中央が盛り上がった板状ワークを研削砥石で研削する板状ワークの研削方法であって、第1チャックテーブルの中央が外周より盛り上がった形状の保持面で、該板状ワークを吸引保持する第1保持工程と、該板状ワークの中央部分を該研削砥石で研削して、該板状ワークを平たんにするときの反力を低減させる反力低減研削工程と、第2チャックテーブルの該研削砥石の下面に対して平行な保持面で、該板状ワークを吸引保持する第2保持工程と、該板状ワークを該研削砥石で仕上げ研削する仕上げ研削工程と、からなる。
【0007】
本発明の一態様の板状ワークの研削装置は、前記板状ワークの研削方法を可能とする研削装置であって、該研削砥石の下面に対して盛り上がっている該保持面の該第1チャックテーブルと、該研削砥石の下面に対して平行な該保持面の該第2チャックテーブルと、該第1チャックテーブルおよび該第2チャックテーブルに吸引保持された該板状ワークを研削する研削機構と、を少なくとも備える。
【0008】
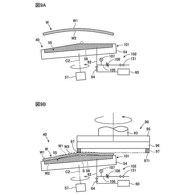
本発明の他の一態様の板状ワークの研削方法は、中央が盛り上がった板状ワークを研削砥石で研削する板状ワークの研削方法であって、チャックテーブルの該研削砥石の下面に対して平行な保持面によって該板状ワークの中央が盛り上がった状態で該板状ワークを吸引保持する第1保持工程と、該板状ワークの中央部分を該研削砥石で研削して、該板状ワークを平たんにするときの反力を低減させる反力低減研削工程と、該チャックテーブルの該保持面と該板状ワークの下面との間に隙間無く該保持面で該板状ワークを吸引保持する第2保持工程と、該板状ワークを該研削砥石で仕上げ研削する仕上げ研削工程と、からなる。
【0009】
本発明の他の一態様の研削装置は、前記板状ワークの研削方法を可能とする研削装置であって、該保持面を有する該チャックテーブルと、該保持面と吸引源とを連通する吸引路と、該吸引路に配置し該保持面の負圧値を調整する圧力調整部と、該チャックテーブルに吸引保持された該板状ワークを研削する研削機構と、を少なくとも備える。
【0010】
本発明の更に他の一態様の研削装置は、前記板状ワークの研削方法を可能とする研削装置であって、同心円状の中央保持面と外周保持面との少なくとも2つの保持面を有するチャックテーブルと、該中央保持面と吸引源とを連通する中央吸引路と、該外周保持面と該吸引源とを連通する外周吸引路と、該保持面の面積を変更する面積変更部と、該チャックテーブルに吸引保持された板状ワークを研削する研削機構と、を少なくとも備える。
【発明の効果】
(【0011】以降は省略されています)
この特許をJ-PlatPat(特許庁公式サイト)で参照する
関連特許
個人
包丁研ぎ器具
2か月前
株式会社松風
研磨用ゴム砥石
7日前
株式会社東京精密
研削装置
3日前
株式会社ディスコ
被加工物の加工方法
28日前
株式会社東京精密
加工装置
7日前
ノリタケ株式会社
超砥粒ホイール
7日前
株式会社東京精密
加工方法
9日前
株式会社東京精密
加工装置
9日前
ノリタケ株式会社
研磨パッド
7日前
トヨタ自動車株式会社
回転砥石の製造方法
2か月前
秀和工業株式会社
処理装置および処理方法
1か月前
株式会社アイドゥス企画
受動変形内面研磨ホイール
2か月前
株式会社東京精密
研削装置
1か月前
富士紡ホールディングス株式会社
研磨パッド
3日前
富士紡ホールディングス株式会社
研磨パッド
3日前
富士紡ホールディングス株式会社
研磨パッド
3日前
富士紡ホールディングス株式会社
研磨パッド
3日前
Mipox株式会社
研磨部材の製造方法
1か月前
株式会社東京精密
ダイシング装置
7日前
Mipox株式会社
研磨部材の製造方法
1か月前
旭化成株式会社
研磨パッド
1か月前
Mipox株式会社
研磨部材の製造方法
1か月前
株式会社東京精密
ダイシング装置
3日前
株式会社ディスコ
研削装置
2か月前
株式会社ディスコ
加工装置
1か月前
株式会社東京精密
ハブレスブレード
9日前
株式会社クラッチ
ブラスト加工用ボックス
今日
ノリタケ株式会社
平面研削用レジンボンド砥石
7日前
株式会社ディスコ
研削装置
1か月前
株式会社ディスコ
加工装置
1か月前
株式会社ダイヘン
制御装置
7日前
株式会社東京精密
スラリー供給装置
29日前
信越半導体株式会社
ウェーハの加工方法
16日前
株式会社ディスコ
切削装置
2か月前
ノリタケ株式会社
砥材及びその製造方法
8日前
株式会社東京精密
加工装置
28日前
続きを見る
他の特許を見る