TOP
|
特許
|
意匠
|
商標
特許ウォッチ
Twitter
他の特許を見る
公開番号
2025130870
公報種別
公開特許公報(A)
公開日
2025-09-09
出願番号
2024028219
出願日
2024-02-28
発明の名称
半導体パッケージ
出願人
富士電機株式会社
代理人
個人
主分類
G01L
19/14 20060101AFI20250902BHJP(測定;試験)
要約
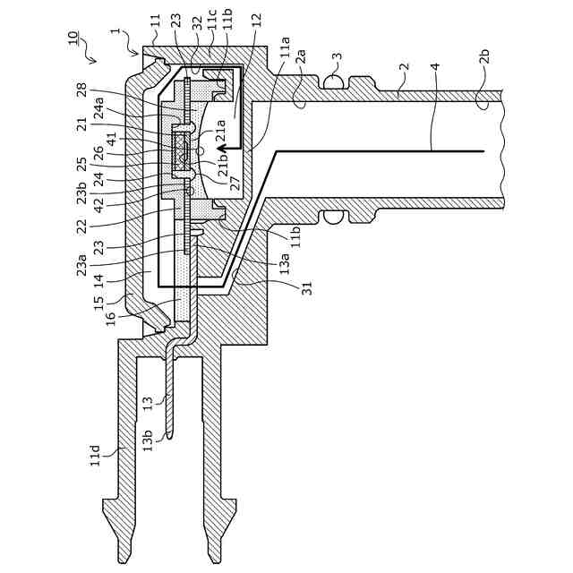
【課題】結露を抑制することができる半導体パッケージを提供すること。
【解決手段】半導体パッケージ10は、圧力センサ1および圧力導入部2を備え、圧力導入部2を介して排気管に直接取り付けられている。圧力センサ1は、リードフレーム13をインサート成型したケース本体11を備え、ケース本体11の内部の圧力検出室12に圧力センサチップ21を収納する。圧力導入部2と圧力検出室12とは直接的に接続されておらず、ケース本体11の下面11aの内部に形成された第1,2通路31,32を介して空間的に接続されている。第1通路31は、ケース本体11にインサート成型されたリードフレーム13の近傍に形成されている。排気管から圧力導入部2に流れ込んだ排気ガスは、圧力媒体4として、圧力導入部2の閉口端2aから第1通路31へ流れ込み、リードフレーム13の近傍を経由して圧力検出室12に伝達される。
【選択図】図1
特許請求の範囲
【請求項1】
配管を流れる気体の圧力を検出する半導体パッケージであって、
圧力媒体が伝達される圧力検出室を有するケース本体と、
前記圧力検出室に収納され、前記圧力媒体から受けた圧力を電気信号に変換する圧力センサチップと、
前記ケース本体にインサート成型され、前記圧力センサチップと電気的に接続されたリードフレームと、
前記ケース本体の下面から外部へ突出して前記配管と空間的に接続され、前記配管から前記圧力媒体となる前記気体が流入する圧力導入部と、
を備え、
前記圧力導入部は、前記ケース本体の下面で閉じられた閉口端と、前記配管と空間的に連続する開口端と、を有し、
前記ケース本体の下面の内部に、前記圧力導入部の閉口端から前記リードフレームの近傍を経由して前記圧力検出室まで達して、前記圧力検出室と前記圧力導入部とを連通する通路が形成されていることを特徴とする半導体パッケージ。
続きを表示(約 660 文字)
【請求項2】
前記ケース本体は、前記圧力検出室と異なる空間を有し、
前記通路は、前記圧力導入部の閉口端から前記空間を経由して前記圧力検出室に達することを特徴とする請求項1に記載の半導体パッケージ。
【請求項3】
前記通路は、
前記リードフレームの近傍を経由して前記圧力導入部と前記空間と連通する第1通路と、
前記空間と前記圧力検出室とを連通する第2通路と、を有することを特徴とする請求項2に記載の半導体パッケージ。
【請求項4】
前記空間は、前記ケース本体の天面に囲まれていることを特徴とする請求項3に記載の半導体パッケージ。
【請求項5】
前記第2通路は、前記ケース本体の側面の近傍に形成されていることを特徴とする請求項3に記載の半導体パッケージ。
【請求項6】
前記空間は、前記ケース本体の下面の内部において前記リードフレームの近傍に形成され、
前記通路は、
前記圧力導入部と前記空間と連通する第1通路と、
前記空間と前記圧力検出室とを連通する第2通路と、を有することを特徴とする請求項1に記載の半導体パッケージ。
【請求項7】
前記空間は、前記ケース本体の下面と直交する方向に前記リードフレームに対向することを特徴とする請求項6に記載の半導体パッケージ。
【請求項8】
前記配管はエンジン配管であることを特徴とする請求項1ないし7のいずれか一項に記載の半導体パッケージ。
発明の詳細な説明
【技術分野】
【0001】
この開示は、半導体パッケージに関する。
続きを表示(約 2,000 文字)
【背景技術】
【0002】
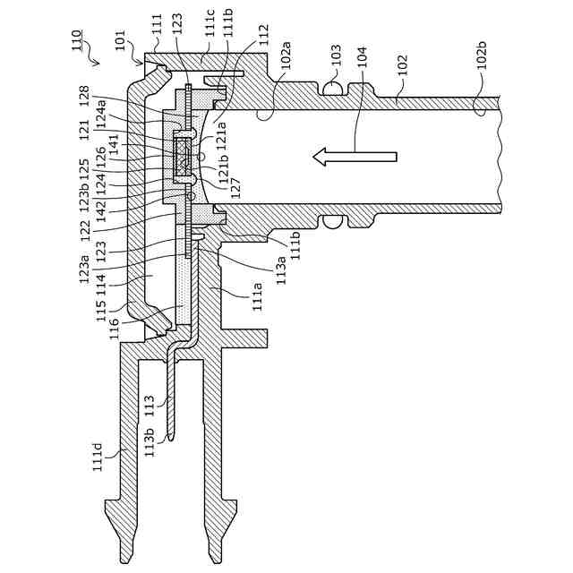
下記特許文献1には、内燃機関の吸気圧測定や排気圧測定に用いる圧力センサであって、外装ケース内に、被測定気体が導入される圧力測定室と、圧力測定室に臨むセンサチップと、センサチップを支持する支持面を有するセンサ支持体と、センサ支持体の支持面と反対側の背面に臨む保温室と、保温室と圧力測定室とを連通する気体通路と、を備え、圧力測定室から気体通路を介して保温室へ導入される被測定気体によってセンサチップを両主面側から保温することで、センサチップの周囲での結露を抑制する技術が記載されている。
【先行技術文献】
【特許文献】
【0003】
国際公開第2017/212800号
【発明の概要】
【発明が解決しようとする課題】
【0004】
上記特許文献1では、外装ケースのカバーで囲まれた空間しか温めることができず、センサチップに生じた熱を外部へ逃がすヒートシンクとして機能するコネクタピンの温度は外装ケース内の部品の温度よりも低くなる。このため、センサ支持体の接続端子とコネクタピンとの接続部近傍において被測定気体中の水蒸気が自然冷却され、圧力測定室内に結露が発生する。この結露によりセンサ支持体の接続端子やワイヤが腐食し、断線や短絡の虞がある。
【0005】
この開示は、結露を抑制することができる半導体パッケージを提供することを目的とする。
【課題を解決するための手段】
【0006】
この開示の一態様にかかる半導体パッケージは、配管を流れる気体の圧力を検出する半導体パッケージであって、以下の通りである。ケース本体は、圧力媒体が伝達される圧力検出室を有する。圧力センサチップは、前記圧力検出室に収納され、前記圧力媒体から受けた圧力を電気信号に変換する。リードフレームは、前記ケース本体にインサート成型され、前記圧力センサチップと電気的に接続されている。圧力導入部は、前記ケース本体の下面から外部へ突出して前記配管と空間的に接続されている。前記圧力導入部には、前記配管から前記圧力媒体となる前記気体が流入する。前記圧力導入部は、前記ケース本体の下面で閉じられた閉口端と、前記配管と空間的に連続する開口端と、を有する。前記ケース本体の下面の内部に、前記圧力導入部の閉口端から前記リードフレームの近傍を経由して前記圧力検出室まで達して、前記圧力検出室と前記圧力導入部とを連通する通路が形成されている。
【発明の効果】
【0007】
本開示にかかる半導体パッケージによれば、結露を抑制することができるという効果を奏する。
【図面の簡単な説明】
【0008】
実施の形態1にかかる半導体パッケージの構造を模式的に示す断面図である。
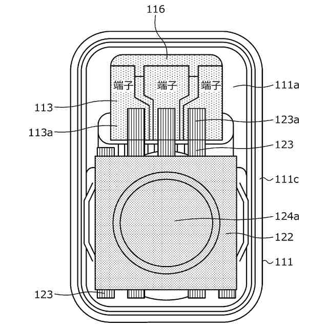
図1のケース本体の内部を蓋体側から見たレイアウトを模式的に示す平面図である。
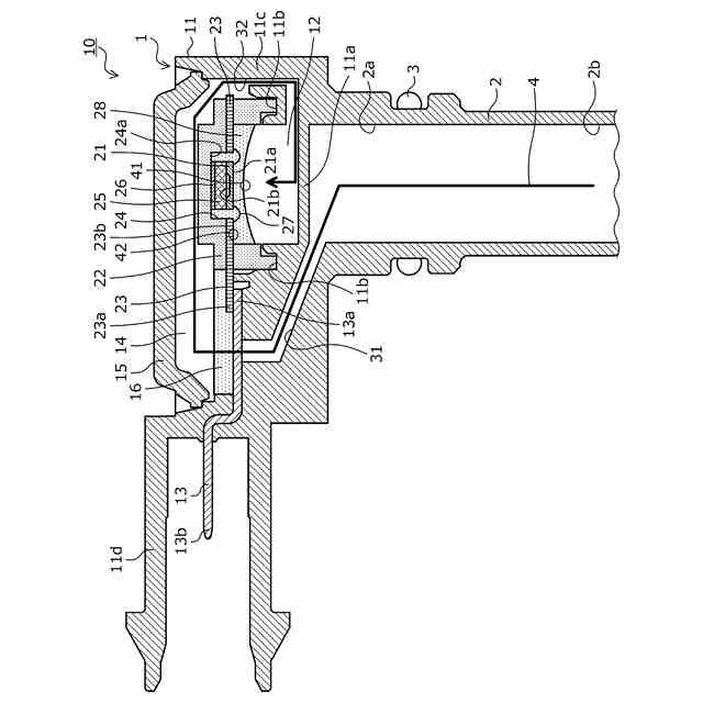
実施の形態2にかかる半導体パッケージの構造を模式的に示す断面図である。
参考例の半導体パッケージの構造を模式的に示す断面図である。
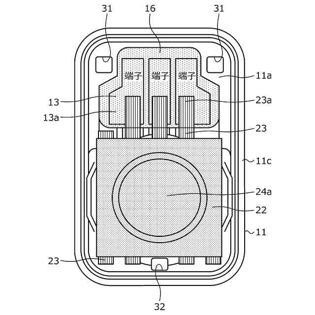
図4のケース本体の内部を蓋体側から見たレイアウトを模式的に示す平面図である。
【発明を実施するための形態】
【0009】
<本開示の実施形態の概要>
(1)この開示の一態様にかかる半導体パッケージは、配管を流れる気体の圧力を検出する半導体パッケージであって、以下の通りである。ケース本体は、圧力媒体が伝達される圧力検出室を有する。圧力センサチップは、前記圧力検出室に収納され、前記圧力媒体から受けた圧力を電気信号に変換する。リードフレームは、前記ケース本体にインサート成型され、前記圧力センサチップと電気的に接続されている。圧力導入部は、前記ケース本体の下面から外部へ突出して前記配管と空間的に接続されている。前記圧力導入部には、前記配管から前記圧力媒体となる前記気体が流入する。前記圧力導入部は、前記ケース本体の下面で閉じられた閉口端と、前記配管と空間的に連続する開口端と、を有する。前記ケース本体の下面の内部に、前記圧力導入部の閉口端から前記リードフレームの近傍を経由して前記圧力検出室まで達して、前記圧力検出室と前記圧力導入部とを連通する通路が形成されている。
【0010】
上述した開示によれば、リードフレームを積極的に温めることができる。これによって、リードフレームの温度を圧力センサチップの温度よりも高くすることができるため、圧力媒体に水蒸気が含まれていても、リードフレームと圧力センサチップとの電気的な接続部をなす金属部材の近傍での結露を抑制することができる。
(【0011】以降は省略されています)
この特許をJ-PlatPat(特許庁公式サイト)で参照する
関連特許
富士電機株式会社
溶接装置
1か月前
富士電機株式会社
駆動回路
5日前
富士電機株式会社
冷却装置
1か月前
富士電機株式会社
搬送機構
1か月前
富士電機株式会社
電磁接触器
1か月前
富士電機株式会社
電磁接触器
1か月前
富士電機株式会社
電磁接触器
1か月前
富士電機株式会社
電磁接触器
1か月前
富士電機株式会社
半導体装置
1か月前
富士電機株式会社
半導体装置
18日前
富士電機株式会社
エンコーダ
1か月前
富士電機株式会社
電磁接触器
1か月前
富士電機株式会社
自動販売機
12日前
富士電機株式会社
回路遮断器
1か月前
富士電機株式会社
半導体装置
1か月前
富士電機株式会社
硬貨処理装置
5日前
富士電機株式会社
ショーケース
28日前
富士電機株式会社
自動販売装置
19日前
富士電機株式会社
学習システム
14日前
富士電機株式会社
金銭処理装置
13日前
富士電機株式会社
硬貨処理装置
5日前
富士電機株式会社
商品収納装置
28日前
富士電機株式会社
飲料抽出装置
7日前
富士電機株式会社
電力変換システム
1か月前
富士電機株式会社
半導体モジュール
今日
富士電機株式会社
ガス処理システム
8日前
富士電機株式会社
半導体モジュール
21日前
富士電機株式会社
半導体モジュール
11日前
富士電機株式会社
電力変換システム
1か月前
富士電機株式会社
チャンネルベース
1か月前
富士電機株式会社
チャンネルベース
1か月前
富士電機株式会社
集積回路、電源回路
18日前
富士電機株式会社
制御装置、制御方法
5日前
富士電機株式会社
エレベータ制御装置
1か月前
富士電機株式会社
エレベータ制御装置
1か月前
富士電機株式会社
自動販売機の保護装置
1か月前
続きを見る
他の特許を見る