TOP
|
特許
|
意匠
|
商標
特許ウォッチ
Twitter
他の特許を見る
公開番号
2025149398
公報種別
公開特許公報(A)
公開日
2025-10-08
出願番号
2024050018
出願日
2024-03-26
発明の名称
多目的車両
出願人
株式会社クボタ
代理人
弁理士法人R&C
主分類
B60P
1/26 20060101AFI20251001BHJP(車両一般)
要約
【課題】下方揺動するテイルゲートと車両構成部材との接触を防止するための接触防止機構を低コストで提供する。
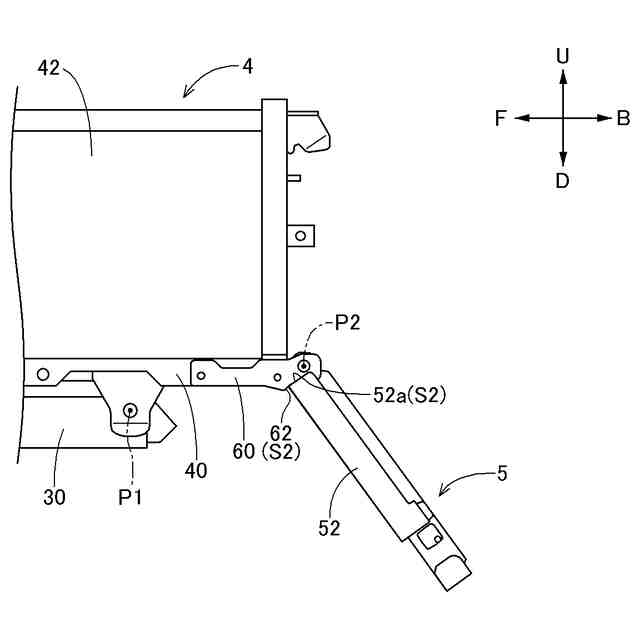
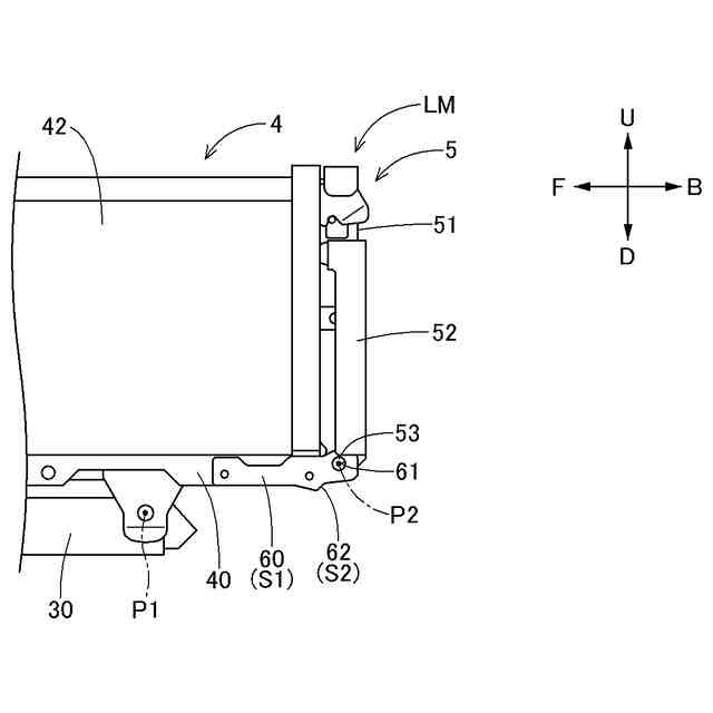
【解決手段】多目的車両は、前輪及び後輪によって対地支持された車体フレームとダンプ揺動可能に車体フレームに支持された荷台4とを備え、荷台4は、床板と左右のサイドカバー42と、テイルゲート5とを含み、テイルゲート5の下端領域に位置する横揺動軸心P2周りでテイルゲート5を下方揺動させる揺動機構は、テイルゲート5を第1揺動角によって規定される第1姿勢に維持する第1ストッパと、第1揺動角を超えた第2揺動角よって規定される第2姿勢に維持する第2ストッパS2とを有し、第2ストッパS2が、既存の構成部材を用いて形成されている。
【選択図】図5
特許請求の範囲
【請求項1】
前輪及び後輪によって対地支持された車体フレームと、
ダンプ揺動可能に前記車体フレームに支持された荷台と、を備え、
前記荷台は、床板と、左右のサイドカバーと、テイルゲートとを含み、
前記テイルゲートの下端領域に位置する横揺動軸心周りで前記テイルゲートを下方揺動させる揺動機構は、前記テイルゲートを第1揺動角によって規定される第1姿勢に維持する第1ストッパと、前記第1揺動角を超えた第2揺動角によって規定される第2姿勢に維持する第2ストッパとを有し、前記第2ストッパが、既存の構成部材を用いて形成されている多目的車両。
続きを表示(約 390 文字)
【請求項2】
前記第2ストッパは、前記床板または前記サイドカバーの左右の後端部に固定されている左右一対の、前記揺動機構を構成するゲートブラケットと、前記テイルゲートとから構成されており、前記ゲートブラケットと前記テイルゲートとの接当により前記テイルゲートが前記第2姿勢に維持される請求項1に記載の多目的車両。
【請求項3】
前記ゲートブラケットに形成された被接当面に前記テイルゲートの下端部が接当することにより前記テイルゲートが前記第2姿勢に維持される請求項2に記載の多目的車両。
【請求項4】
前記第1ストッパは、一端を前記テイルゲートに装着されるとともに他端を前記サイドカバーに装着された保持ワイヤであり、前記一端または前記他端の装着を外すことにより、前記テイルゲートは前記第2姿勢への揺動可能となる請求項1に記載の多目的車両。
発明の詳細な説明
【技術分野】
【0001】
本発明は、床板と左右のサイドカバーとテイルゲートとを含む荷台を、ダンプ揺動可能に車体フレームに支持している多目的車両に関する。
続きを表示(約 1,700 文字)
【背景技術】
【0002】
特許文献1に、床板と前板と左右のサイドカバーとテイルゲートとを含む荷台を備えた多目的車両が開示されている。テイルゲートは、荷台の後端側の下部に形成されたゲート支持部に支軸を介して支持され、支軸周りに上昇閉じ姿勢(直立姿勢)と下降開き姿勢(水平姿勢)とにわたって揺動可能である。テイルゲートとサイドカバーとにわたって連結されているワイヤにより、下降開き姿勢のテイルゲートが水平に保持される。さらに、上昇閉じ姿勢のテイルゲートは、テイルゲートとサイドカバーとにわたって設けられたロック機構によって、直立に保持される。
【先行技術文献】
【特許文献】
【0003】
米国特許第10,618,572号明細書(図15、図17)
【発明の概要】
【発明が解決しようとする課題】
【0004】
ワイヤが取り外された状態で、荷台をフルダンプさせると、テイルゲートが荷台の後端部の直下に配置された車両構成部材に接近・接触する可能性がある。テイルゲートと車両構成部材とが接触すると、双方がダメージを受けることになる。
【0005】
本発明の目的は、下方揺動するテイルゲートと車両構成部材との接触を防止するための接触防止機構を低コストで提供することである。
【課題を解決するための手段】
【0006】
本発明による多目的車両は、前輪及び後輪によって対地支持された車体フレームと、ダンプ揺動可能に前記車体フレームに支持された荷台と、を備え、前記荷台は、床板と、左右のサイドカバーと、テイルゲートとを含み、前記テイルゲートの下端領域に位置する横揺動軸心周りで前記テイルゲートを下方揺動させる揺動機構は、前記テイルゲートを第1揺動角によって規定される第1姿勢に維持する第1ストッパと、前記第1揺動角を超えた第2揺動角によって規定される第2姿勢に維持する第2ストッパとを有し、前記第2ストッパが、既存の構成部材を用いて形成されている。
【0007】
この構成によれば、テイルゲートと車両構成部材との接触を防止するための第2ストッパが既存の構成部材を用いて形成されるので、別部材としてのストッパを溶接やボルト連結するような方策に較べて、低コストとなる。
【0008】
既存の構成部材を用いて、正確な位置決めが可能でかつ堅固で低コストの第2ストッパを形成するためには、揺動機構や剛性の高いテイルゲートの構成部材を利用することが好適である。このため、本発明では、前記第2ストッパは、前記床板または前記サイドカバーの左右の後端部に固定されている左右一対の、前記揺動機構を構成するゲートブラケットと、前記テイルゲートとから構成されており、前記ゲートブラケットと前記テイルゲートとの接当により前記テイルゲートが前記第2姿勢に維持される。
【0009】
第2ストッパの具体的な構成として、前記ゲートブラケットに形成された被接当面に前記テイルゲートの下端部が接当することにより前記テイルゲートが前記第2姿勢に維持されることが提案される。この構成では、ゲートブラケットの一部に、例えば、機械加工等で被接当面を形成すれば、テイルゲートは正確な揺動角度で保持される。所望の揺動角度でテイルゲートを保持するためには、被接当面の加工角度を相応の角度になるように加工すればよい。
【0010】
本発明の好適な実施形態では、前記第1ストッパは、一端を前記テイルゲートに装着されるとともに他端をサイドカバーに装着された保持ワイヤであり、前記一端または前記他端の装着を外すことにより、前記テイルゲートは前記第2姿勢への揺動可能となるように構成されている。この構成では、第1ストッパである保持ワイヤを外すことにより、荷台のフルダンプ時において、テイルゲートは、第2ストッパによって、素早く所望の角度位置に保持される。
【図面の簡単な説明】
(【0011】以降は省略されています)
この特許をJ-PlatPat(特許庁公式サイト)で参照する
関連特許
株式会社クボタ
作業車
2日前
株式会社クボタ
作業車
2日前
株式会社クボタ
作業車
2日前
株式会社クボタ
作業車
3日前
株式会社クボタ
作業車
3日前
株式会社クボタ
作業車両
2日前
株式会社クボタ
作業車両
2日前
株式会社クボタ
コンバイン
3日前
株式会社クボタ
圃場作業車
3日前
株式会社クボタ
コンバイン
3日前
株式会社クボタ
多目的車両
3日前
株式会社クボタ
多目的車両
3日前
株式会社クボタ
多目的車両
3日前
株式会社クボタ
多目的車両
3日前
株式会社クボタ
コンバイン
3日前
株式会社クボタ
多目的車両
3日前
株式会社クボタ
多目的車両
3日前
株式会社クボタ
電解水生成装置
2日前
株式会社クボタ
電解水生成装置
2日前
株式会社クボタ
電解水生成装置
2日前
株式会社クボタ
電解水生成装置
2日前
株式会社クボタ
作業機及び作業機の制御方法
3日前
株式会社クボタ
電解水生成装置および運転方法
2日前
株式会社クボタ
作業機及び作業機のための傘ホルダ
9日前
株式会社クボタ
作業機、及び、作業機の車軸延長ケース
3日前
株式会社クボタ
電解水生成設備および原水タンク浄化方法
2日前
株式会社クボタケミックス
電気融着装置
4日前
株式会社クボタケミックス
受口部材、受口部材を備えた排水集合管および脚部継手ならびに受口部材を用いた接続方法
5日前
個人
カーテント
4か月前
個人
タイヤレバー
2か月前
個人
前輪キャスター
1か月前
個人
上部一体型自動車
8日前
個人
車輪清掃装置
4か月前
個人
ルーフ付きトライク
2か月前
個人
ホイルのボルト締結
3か月前
個人
タイヤ脱落防止構造
1か月前
続きを見る
他の特許を見る