TOP
|
特許
|
意匠
|
商標
特許ウォッチ
Twitter
他の特許を見る
公開番号
2025140299
公報種別
公開特許公報(A)
公開日
2025-09-29
出願番号
2024039611
出願日
2024-03-14
発明の名称
回転電機のステータおよびその製造方法
出願人
三菱電機株式会社
代理人
弁理士法人ぱるも特許事務所
主分類
H02K
3/38 20060101AFI20250919BHJP(電力の発電,変換,配電)
要約
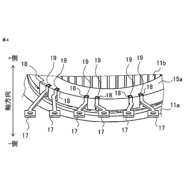
【課題】ステータコイルの端部と給電端子とを接続する給電接続部の位置精度を向上させることができる回転電機のステータを提供する。
【解決手段】円環形状のステータコアと、ステータコアの軸方向の両端部にそれぞれコイルエンド部を有するステータコイルと、ステータコイルに電力を供給する給電端子17と、コイルエンド部を覆うモールド樹脂15aとを備えた回転電機のステータであって、一方のコイルエンド部はステータコイルのコイル端部と給電端子とを接続する給電接続部18を有し、給電接続部は一方のモールド樹脂に形成された収納溝19に収納されている。
【選択図】図4
特許請求の範囲
【請求項1】
円環形状のステータコアと、前記ステータコアの軸方向の両端部にそれぞれコイルエンド部を有するステータコイルと、前記ステータコイルに電力を供給する給電端子と、前記コイルエンド部を覆うモールド樹脂とを備えた回転電機のステータであって、
一方の前記コイルエンド部は、前記ステータコイルのコイル端部と前記給電端子とを接続する給電接続部を有し、前記給電接続部は、一方の前記モールド樹脂に形成された収納溝に収納されていることを特徴とする回転電機のステータ。
続きを表示(約 1,000 文字)
【請求項2】
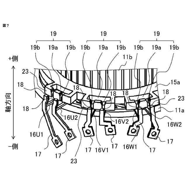
前記収納溝は、前記給電接続部を収納する給電接続部収納溝と、前記コイル端部を収納するコイル端部収納溝とを有することを特徴とする請求項1に記載の回転電機のステータ。
【請求項3】
前記収納溝は、外径側に向かって開口した凹形状となっていることを特徴とする請求項2に記載の回転電機のステータ。
【請求項4】
前記収納溝に収納された前記給電接続部は、樹脂で覆われていることを特徴とする請求項1から3のいずれか1項に記載の回転電機のステータ。
【請求項5】
前記給電接続部を覆う前記樹脂は、前記モールド樹脂と同じ材料であることを特徴とする請求項4に記載の回転電機のステータ。
【請求項6】
円環形状のステータコアと、前記ステータコアの軸方向の両端部にそれぞれコイルエンド部を有するステータコイルと、前記ステータコイルに電力を供給する給電端子と、前記コイルエンド部を覆うモールド樹脂とを備えた回転電機のステータの製造方法であって、
一方のコイルエンド部において、前記ステータコイルのコイル端部を露出させて前記コイルエンド部をモールド樹脂で覆う工程と、
露出させた前記コイル端部と前記給電端子とを給電接続部で接続する工程と、
前記コイル端部の曲げ加工によって前記給電接続部を前記モールド樹脂に形成された収納溝に収納する工程と、
他方のコイルエンド部をモールド樹脂で覆う工程とを備えたことを特徴とする回転電機のステータの製造方法。
【請求項7】
前記収納溝は、前記給電接続部を収納する給電接続部収納溝と、前記コイル端部を収納するコイル端部収納溝とを有することを特徴とする請求項6に記載の回転電機のステータの製造方法。
【請求項8】
前記収納溝に収納された前記給電接続部を樹脂で覆う工程をさらに備えたことを特徴とする請求項6または7に記載の回転電機のステータの製造方法。
【請求項9】
前記給電接続部を覆う前記樹脂は、前記モールド樹脂と同じ材料であることを特徴とする請求項8に記載の回転電機のステータの製造方法。
【請求項10】
前記給電接続部を覆う前記樹脂の溶融状態の粘度は、前記モールド樹脂の溶融状態の粘度よりも大きいことを特徴とする請求項8に記載の回転電機のステータの製造方法。
発明の詳細な説明
【技術分野】
【0001】
本開示は、回転電機のステータおよびその製造方法に関する。
続きを表示(約 1,800 文字)
【背景技術】
【0002】
回転電機のステータは、ロータを回転させるための磁界の発生に必要なステータコイルと、このステータコイルに電力を供給するための給電端子とを有している。ステータコイル同士、およびステータコイルの端部と給電端子とは、それぞれコイルエンド部の接続部を介して電気的に接続される。コイルエンド部の接続部は強度が低いため、一般の回転電機においては接続部を樹脂で覆って固定することによりに強度を高めている。
【0003】
給電端子の一方の端部は、接続部においてステータコイルと接続されて樹脂で覆われている。給電端子の他方の端部は樹脂から露出しており、インバータなどの外部電源に接続されるための締結部となっている。この締結部は、外部電源のケーブルとボルト締結するために丸穴を有する構造となっている場合が多い。給電端子の位置にばらつきがあると締結部の位置もずれるため、ボルト締結における組み立て性が悪くなること、位置がずれた状態でボルト締結された場合、残留応力により給電端子が曲がったり破断したりする可能性があることなどの問題があった。
【0004】
このような問題に対処した従来の回転電機ステータとして、コイルエンド部のステータコイル同士を接続する接続部を覆う樹脂と、ステータコイルの端部と給電端子とを接続する給電接続部を覆う樹脂とを分離した構成が開示されている(例えば、特許文献1参照)。
【先行技術文献】
【特許文献】
【0005】
特開2023-86465号公報
【発明の概要】
【発明が解決しようとする課題】
【0006】
従来の回転電機のステータにおいては、ステータコイルの端部と給電端子とを接続する給電接続部を覆う樹脂を小さくできるので、樹脂の熱収縮に起因する給電端子の位置ずれを抑制することはできる。しかしながら、従来の回転電機のステータにおいては、給電接続部を樹脂で覆う前に給電接続部に位置ずれが生じていた場合、位置がずれた状態で給電接続部を樹脂で覆うことになるので、給電端子の位置がずれた状態が維持されるという問題があった。すなわち、従来の回転電機のステータにおいては、給電接続部の位置精度が低いという問題があった。
【0007】
本開示は、上述の課題を解決するためになされたもので、給電接続部の位置精度を向上させることができる回転電機のステータを提供することを目的とする。
【課題を解決するための手段】
【0008】
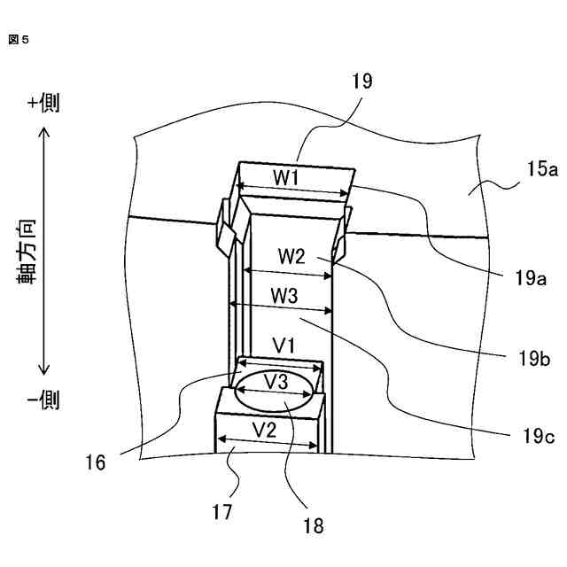
本開示の回転電機のステータは、円環形状のステータコアと、ステータコアの軸方向の両端部にそれぞれコイルエンド部を有するステータコイルと、ステータコイルに電力を供給する給電端子と、コイルエンド部を覆うモールド樹脂とを備えており、一方のコイルエンド部はステータコイルのコイル端部と給電端子とを接続する給電接続部を有し、給電接続部は一方のモールド樹脂に形成された収納溝に収納されている。
【発明の効果】
【0009】
本開示の回転電機のステータにおいては、給電接続部が一方のモールド樹脂に形成された収納溝に収納されているので、給電接続部の位置精度を向上させることができる。
【図面の簡単な説明】
【0010】
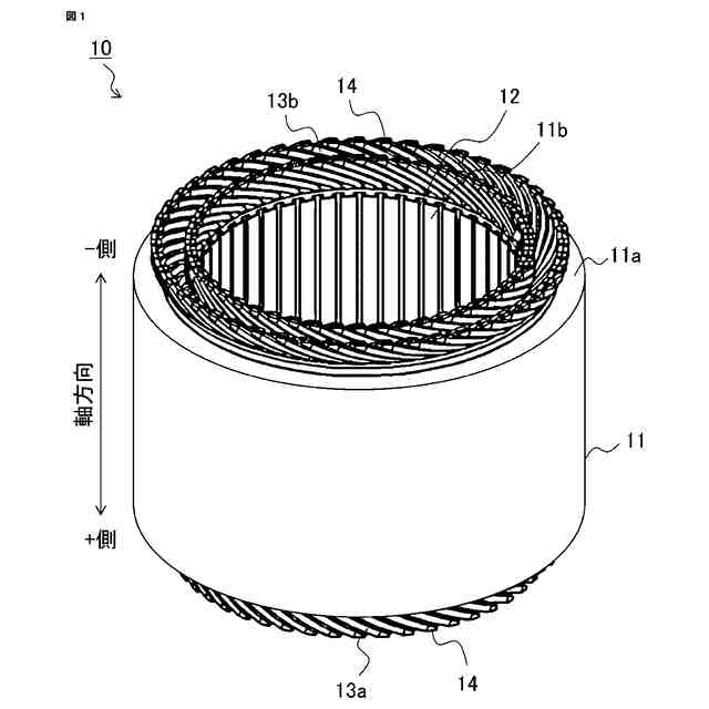
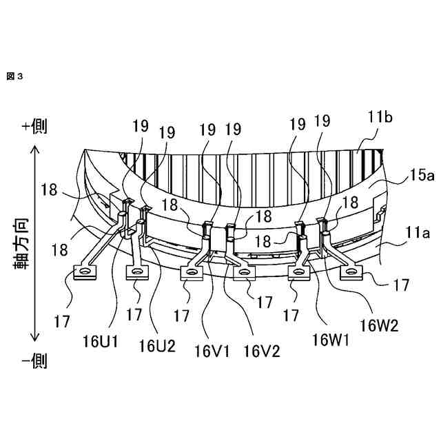
実施の形態1に係る回転電機のステータの斜視図である。
実施の形態1に係る回転電機のステータの斜視図である
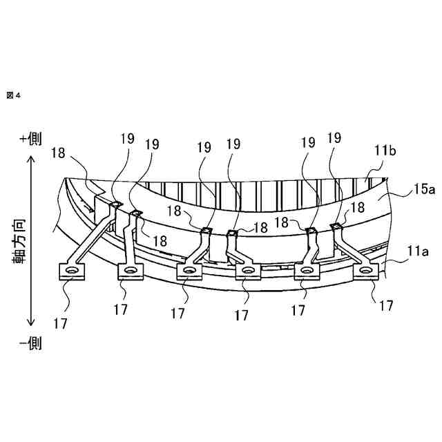
実施の形態1に係る回転電機のステータにおけるコイルエンド部の拡大斜視図である。
実施の形態1に係る回転電機のステータにおけるコイルエンド部の拡大斜視図である。
実施の形態1に係る回転電機のステータにおける収納溝の拡大斜視図である。
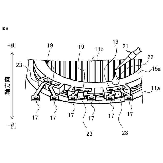
実施の形態1に係る回転電機のステータにおける反給電側のコイルエンド部をモールド樹脂で覆う工程を説明するための図である。
実施の形態2に係る回転電機のステータにおけるコイルエンド部の拡大斜視図である。
実施の形態2に係る回転電機のステータにおけるコイルエンド部の拡大斜視図である。
【発明を実施するための形態】
(【0011】以降は省略されています)
この特許をJ-PlatPat(特許庁公式サイト)で参照する
関連特許
三菱電機株式会社
計測器
1か月前
三菱電機株式会社
冷蔵庫
1か月前
三菱電機株式会社
照明器具
1か月前
三菱電機株式会社
照明装置
1か月前
三菱電機株式会社
換気装置
1か月前
三菱電機株式会社
回転電機
1か月前
三菱電機株式会社
照明器具
1か月前
三菱電機株式会社
回転電機
27日前
三菱電機株式会社
照明装置
1か月前
三菱電機株式会社
電子機器
1か月前
三菱電機株式会社
照明装置
1か月前
三菱電機株式会社
回転電機
13日前
三菱電機株式会社
照明装置
24日前
三菱電機株式会社
照明装置
13日前
三菱電機株式会社
照明装置
1か月前
三菱電機株式会社
回転電機
3日前
三菱電機株式会社
回転電機
1か月前
三菱電機株式会社
電気掃除機
1か月前
三菱電機株式会社
回路遮断器
1か月前
三菱電機株式会社
加熱調理器
1か月前
三菱電機株式会社
半導体装置
7日前
三菱電機株式会社
半導体装置
1か月前
三菱電機株式会社
半導体装置
23日前
三菱電機株式会社
半導体装置
1か月前
三菱電機株式会社
加熱調理器
6日前
三菱電機株式会社
半導体装置
13日前
三菱電機株式会社
半導体装置
1か月前
三菱電機株式会社
回路遮断器
1か月前
三菱電機株式会社
加熱調理器
1か月前
三菱電機株式会社
半導体装置
1か月前
三菱電機株式会社
梱包チューブ
1か月前
三菱電機株式会社
制御システム
1か月前
三菱電機株式会社
電力変換装置
23日前
三菱電機株式会社
電力変換装置
1か月前
三菱電機株式会社
給湯システム
6日前
三菱電機株式会社
回転電機装置
27日前
続きを見る
他の特許を見る