TOP
|
特許
|
意匠
|
商標
特許ウォッチ
Twitter
他の特許を見る
公開番号
2025150785
公報種別
公開特許公報(A)
公開日
2025-10-09
出願番号
2024051854
出願日
2024-03-27
発明の名称
電解システム
出願人
株式会社アイシン
代理人
弁理士法人アイテック国際特許事務所
主分類
C25B
9/00 20210101AFI20251002BHJP(電気分解または電気泳動方法;そのための装置)
要約
【課題】高純度かつ高圧の水素を製造すると共にエネルギ効率の向上を図る。
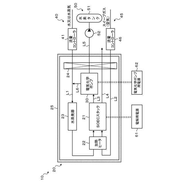
【解決手段】電解システムは、水蒸気電解により水素を生成する固体酸化物形の電解セルと、電解セルを収容する断熱性の収容容器と、を有する電解モジュールと、電解セルに水蒸気を供給する水蒸気供給ラインと、収容容器に収容された電気化学ポンプと、を備える。電気化学ポンプは、固体電解質とアノードとカソードとを含むポンプセルを有し、電解セルで生成された水素と未反応の水蒸気とを含むオフガスをアノードの入口に導入するよう電解セルに接続され、カソードの出口から昇圧された水素を収容容器外へ出力するよう水素回収ラインに接続され、アノードの出口から残余の水素と水蒸気とを収容容器内で水蒸気供給ラインに出力するよう水素供給ラインに接続される。
【選択図】図1
特許請求の範囲
【請求項1】
水蒸気電解により水素を生成する固体酸化物形の電解セルと、前記電解セルを収容する断熱性の収容容器と、を有する電解モジュールと、
前記電解セルに水蒸気を供給する水蒸気供給ラインと、
固体電解質とアノードとカソードとを含むポンプセルを有すると共に前記収容容器に収容され、前記電解セルで生成された水素と未反応の水蒸気とを含むオフガスを前記アノードの入口に導入するよう該電解セルに接続され、前記カソードの出口から昇圧された水素を前記収容容器外へ出力するよう水素回収ラインに接続され、前記アノードの出口から残余の水素と水蒸気とを前記収容容器内で前記水蒸気供給ラインに出力するよう該水蒸気供給ラインに接続された電気化学ポンプと、
を備える電解システム。
続きを表示(約 360 文字)
【請求項2】
請求項1に記載の電解システムであって、
前記ポンプセルは、前記電解セルが動作する温度環境下でプロトン伝導性を有するプロトン導電性セルである、
電解システム。
【請求項3】
請求項1または2に記載の電解システムであって、
前記ポンプセルは、筒状のセルである、
電解システム。
【請求項4】
請求項3に記載の電解システムであって、
前記電気化学ポンプは、前記ポンプセルと、前記ポンプセルを収容する圧力容器と、を有し、
前記ポンプセルは、前記圧力容器を貫通するように挿通され、
前記アノードは、前記固定電解質の内周面側に配置され、
前記カソードは、前記固定電解質の外周面側に配置される、
電解システム。
発明の詳細な説明
【技術分野】
【0001】
本明細書は、電解システムについて開示する。
続きを表示(約 1,400 文字)
【背景技術】
【0002】
従来、この種の電解システムでは、固体酸化物形電解セル(SOEC)を収容するホットボックスと、SOECで生成された水素と水蒸気とを含む生成物流を冷却して水蒸気を凝縮させる凝縮器と、凝縮器を通過して脱水された生成物流を圧送する水素ポンプとを備えるものが提案されている(例えば、特許文献1参照)。水素ポンプは、固体高分子形の電気化学式水素ポンプを含み、ポリマー膜(電解質)に電流又は電圧が印加されることで、当該ポリマー膜を通して純粋な圧縮水素生成物を圧送する。水素ポンプの未圧送の排出物は、再加熱された後、SOECに再循環される。
【先行技術文献】
【特許文献】
【0003】
特開2022-180308号公報
【発明の概要】
【発明が解決しようとする課題】
【0004】
上述した電解システムでは、ホットボックスから取り出された生成物流に含まれる水素と水蒸気は、ホットボックス外で一旦冷却されるため、SOECに再循環する際には、再度加熱が必要であり、エネルギ効率が低下する。
【0005】
本開示は、高純度かつ高圧の水素を製造すると共にエネルギ効率の向上を図ることを主目的とする。
【課題を解決するための手段】
【0006】
本開示は、上述の主目的を達成するために以下の手段を採った。
【0007】
本開示の電解システムは、
水蒸気電解により水素を生成する固体酸化物形の電解セルと、前記電解セルを収容する断熱性の収容容器と、を有する電解モジュールと、
前記電解セルに水蒸気を供給する水蒸気供給ラインと、
固体電解質とアノードとカソードとを含むポンプセルを有すると共に前記収容容器に収容され、前記電解セルで生成された水素と未反応の水蒸気とを含むオフガスを前記アノードの入口に導入するよう該電解セルに接続され、前記カソードの出口から昇圧された水素を前記収容容器外へ出力するよう水素回収ラインに接続され、前記アノードの出口から残余の水素と水蒸気とを前記収容容器内で前記水蒸気供給ラインに出力するよう該水蒸気供給ラインに接続された電気化学ポンプと、
を備えることを要旨とする。
【0008】
この本開示の電解システムは、電解セルで生成された水素と未反応の水蒸気とを含むオフガスをアノード入口から導入し、カソード出口から昇圧された水素を収容容器外へ出力し、アノード出口から残余の水素と水蒸気とを収容容器内で水蒸気供給ラインに出力する電気化学ポンプを備える。電気化学ポンプにより高純度かつ高圧の水素を製造することができる。更に、残余の水素と未反応の水蒸気とを高温の状態のまま水蒸気供給ラインに還流させるため、収容容器外に放出される熱量をより少なくすることができ、エネルギ効率をより向上させることができる。
【図面の簡単な説明】
【0009】
本実施形態の電解システムの概略構成図である。
電気化学ポンプの概略構成図である。
ポンプセルの斜視図である。
ポンプセルのA方向から見た平面図である。
【発明を実施するための形態】
【0010】
次に、本開示を実施するための形態について図面を参照しながら説明する。
(【0011】以降は省略されています)
この特許をJ-PlatPat(特許庁公式サイト)で参照する
関連特許
株式会社アイシン
ロータ
4日前
株式会社アイシン
ロータ
6日前
株式会社アイシン
保護装置
5日前
株式会社アイシン
制御装置
5日前
株式会社アイシン
ステータ
4日前
株式会社アイシン
ステータ
4日前
株式会社アイシン
ステータ
4日前
株式会社アイシン
制御装置
5日前
株式会社アイシン
駆動装置
5日前
株式会社アイシン
検知装置
5日前
株式会社アイシン
電子機器
5日前
株式会社アイシン
ステータ
4日前
株式会社アイシン
回転電機
7日前
株式会社アイシン
回転電機
7日前
株式会社アイシン
制御装置
11日前
株式会社アイシン
車体構造
11日前
株式会社アイシン
回転電機
11日前
株式会社アイシン
駆動装置
13日前
株式会社アイシン
制御装置
5日前
株式会社アイシン
レーダ装置
5日前
株式会社アイシン
温度調節器
11日前
株式会社アイシン
温度調節器
15日前
株式会社アイシン
運転支援装置
11日前
株式会社アイシン
超音波センサ
6日前
株式会社アイシン
運転支援装置
5日前
株式会社アイシン
走行制御装置
4日前
株式会社アイシン
マニホールド
13日前
株式会社アイシン
運転支援装置
5日前
株式会社アイシン
振動発生装置
13日前
株式会社アイシン
衝撃吸収部材
5日前
株式会社アイシン
運転支援装置
11日前
株式会社アイシン
案内システム
5日前
株式会社アイシン
折り畳み装置
4日前
株式会社アイシン
電解システム
6日前
株式会社アイシン
超音波センサ
6日前
株式会社アイシン
牽引支援装置
4日前
続きを見る
他の特許を見る