TOP
|
特許
|
意匠
|
商標
特許ウォッチ
Twitter
他の特許を見る
公開番号
2025150029
公報種別
公開特許公報(A)
公開日
2025-10-09
出願番号
2024050682
出願日
2024-03-27
発明の名称
電子機器
出願人
株式会社アイシン
代理人
Knowledge Partners弁理士法人
主分類
H05K
9/00 20060101AFI20251002BHJP(他に分類されない電気技術)
要約
【課題】筐体から放射される電磁波ノイズを抑制することが可能な技術の提供。
【解決手段】基板と、前記基板を収容する筐体と、前記筐体の外面に形成された開口部に固定されるファンと、前記開口部において前記筐体と前記ファンとの間に固定され、前記開口部に取り付けられることによって前記開口部の開口径より小さく、かつ、電磁波ノイズの波長の1/2より小さい開口径を有する分割開口部を形成する電磁シールド部材と、を備える電子機器を構成する。
【選択図】図1
特許請求の範囲
【請求項1】
基板と、
前記基板を収容する筐体と、
前記筐体の外面に形成された開口部に固定されるファンと、
前記開口部において前記筐体と前記ファンとの間に固定され、前記開口部に取り付けられることによって前記開口部の開口径より小さく、かつ、電磁波ノイズの波長の1/2より小さい開口径を有する分割開口部を形成する電磁シールド部材と、
を備える電子機器。
続きを表示(約 380 文字)
【請求項2】
前記分割開口部のそれぞれの外周において、前記電磁シールド部材と前記筐体とを接続する部位同士の距離の最大値は電磁波ノイズの波長の1/2より小さい、
請求項1に記載の電子機器。
【請求項3】
前記ファンは、
回転軸を含む円柱状のハブと、
前記ハブに取り付けられたプロペラと、を備え、
前記電磁シールド部材は、
前記回転軸に垂直な径方向において前記ハブよりも内径側に配置される環状部と、
前記環状部から径方向に延びる複数の放射部と、を備える、
請求項1または請求項2に記載の電子機器。
【請求項4】
前記電磁シールド部材は、
前記電磁シールド部材の弾性によって前記開口部に固定される部位を含む、
請求項1または請求項2に記載の電子機器。
発明の詳細な説明
【技術分野】
【0001】
本発明は、電子機器に関する。
続きを表示(約 1,600 文字)
【背景技術】
【0002】
チップや配線等の回路が形成された基板が筐体に収容されて構成される電子機器においては、チップ等の回路を冷却するために、筐体の外面にファンが取り付けられる場合がある。例えば、特許文献1参照。
【先行技術文献】
【特許文献】
【0003】
特開2011-211103号公報
【発明の概要】
【発明が解決しようとする課題】
【0004】
筐体にファンを取り付ける場合、気流を妨げないようにするために大きな開口部を筐体に形成し、当該開口部にファンを取り付けることが多い。しかし、大きい開口部が形成されると、筐体の内部から電磁波ノイズが漏洩しやすくなってしまう。
本発明は、上記課題に鑑みてなされたものであり、筐体から放射される電磁波ノイズを抑制することが可能な技術を提供することを目的とする。
【課題を解決するための手段】
【0005】
上記の目的を達成するために、基板と、前記基板を収容する筐体と、前記筐体の外面に形成された開口部に固定されるファンと、前記開口部において前記筐体と前記ファンとの間に固定され、前記開口部に取り付けられることによって前記開口部の開口径より小さく、かつ、電磁波ノイズの波長の1/2より小さい開口径を有する分割開口部を形成する電磁シールド部材と、を備える電子機器が構成される。
【0006】
すなわち、筐体に設けられた開口部を通して、ファンによって筐体の内外の気体を流動させる構成において、開口部の形状を電磁シールド部材によって分割した分割開口部を形成する。電磁シールド部材は筐体に取り付けられることで筐体と電気的に接続するため、電磁シールドとして機能する。電磁シールドに開口部が存在する場合、当該開口部の開口径が電磁波ノイズの波長の1/2以上であると、筐体内の電磁波ノイズが外部に対して効率的に放射されてしまう。そこで、分割開口部の開口径が、電磁波ノイズの波長の1/2より小さくなるように構成されている。この構成によれば、分割開口部の開口径が電磁波ノイズの波長の1/2以上である構成と比較して、筐体から放射される電磁波ノイズを抑制することが可能である。
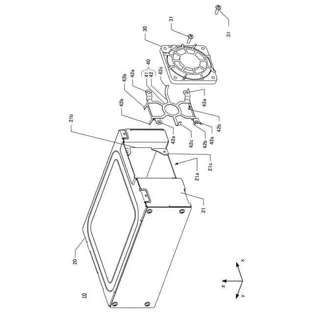
【図面の簡単な説明】
【0007】
図1Aは電子機器の斜視図、図1Bは電子機器においてファンが固定された面を見た状態の側面図である。
図2Aは図1Bに示す面を、ファンが取り外された状態において示した側面図である。図2Bは図1Bに示す面を、裏側から(筐体の内側から)見た状態の図である。
電子機器の分解斜視図である。
【発明を実施するための形態】
【0008】
ここでは、下記の順序に従って本発明の実施の形態について説明する。
(1)電子機器の構成:
(2)他の実施形態等:
【0009】
(1)電子機器の構成:
本発明の一実施形態にかかる電子機器10は、筐体20およびファン30を備えている。図1Aは電子機器10の斜視図、図1Bは電子機器10においてファン30が固定された面を見た状態の側面図である。図2Aは図1Bに示す面を、ファン30が取り外された状態において示した側面図である。図2Bは図1Bに示す面を、裏側から(筐体20の内側から)見た状態の図である。図3は、電子機器10の分解斜視図である。
【0010】
電子機器10は、筐体20内に収容された、図示しない基板に形成された回路によって各種の機能を実現する。すなわち、基板には、チップや各種素子が実装され、基板に形成された配線とともに所定の回路を構成している。
(【0011】以降は省略されています)
この特許をJ-PlatPat(特許庁公式サイト)で参照する
関連特許
株式会社アイシン
空気袋
10日前
株式会社アイシン
ロータ
1日前
株式会社アイシン
回転電機
2日前
株式会社アイシン
回転電機
6日前
株式会社アイシン
電子機器
今日
株式会社アイシン
保護装置
今日
株式会社アイシン
検知装置
今日
株式会社アイシン
制御装置
6日前
株式会社アイシン
駆動装置
今日
株式会社アイシン
車体構造
6日前
株式会社アイシン
回転電機
2日前
株式会社アイシン
制御装置
今日
株式会社アイシン
制御装置
今日
株式会社アイシン
制御装置
今日
株式会社アイシン
駆動装置
8日前
株式会社アイシン
レーダ装置
今日
株式会社アイシン
温度調節器
6日前
株式会社アイシン
鋳ぐるみ品
10日前
株式会社アイシン
温度調節器
10日前
株式会社アイシン
駐車支援装置
6日前
株式会社アイシン
運転支援装置
6日前
株式会社アイシン
案内システム
今日
株式会社アイシン
超音波センサ
1日前
株式会社アイシン
電解システム
1日前
株式会社アイシン
超音波センサ
1日前
株式会社アイシン
運転支援装置
6日前
株式会社アイシン
車両制御装置
6日前
株式会社アイシン
センサ固定具
1日前
株式会社アイシン
駐車支援装置
2日前
株式会社アイシン
衝撃吸収部材
今日
株式会社アイシン
振動発生装置
8日前
株式会社アイシン
立体構造基板
10日前
株式会社アイシン
運転支援装置
今日
株式会社アイシン
車両制御装置
今日
株式会社アイシン
乗員検知装置
今日
株式会社アイシン
電解システム
今日
続きを見る
他の特許を見る