TOP
|
特許
|
意匠
|
商標
特許ウォッチ
Twitter
他の特許を見る
10個以上の画像は省略されています。
公開番号
2025144811
公報種別
公開特許公報(A)
公開日
2025-10-03
出願番号
2024044670
出願日
2024-03-21
発明の名称
複合型電子部品
出願人
株式会社村田製作所
代理人
弁理士法人岡田特許事務所
主分類
H01G
4/228 20060101AFI20250926BHJP(基本的電気素子)
要約
【課題】大電流に対応しつつ、電気抵抗が高くなることを抑制する複合型電子部品を提供する。
【解決手段】複合型電子部品1は、積層体12及び第1~第4の外部電極30a~30dを備えた積層セラミックコンデンサ10と、第1、第2の外部電極と電気的に接続された導体部(チップ型コイル部品)40と、を備える。第1の外部電極は、第1の面12a側の表面に配置される第1の領域と、第3の面12c側の表面に配置される第2の領域とを有し、導体部は、第1の外部電極と第1の導電性接着剤70aによって接続された第1の胴体用電極60aと、第2の外部電極と第2の導電性接着剤70bによって接続された第2の胴体用電極60bと、を有し、積層セラミックコンデンサの直流抵抗をRdc1とし、導体部の直流抵抗をRdc2としたとき、Rdc2≦Rdc1であり、第1の導電性接着剤は、第1の外部電極における第1の領域から第2の領域に亘って配置される。
【選択図】図1
特許請求の範囲
【請求項1】
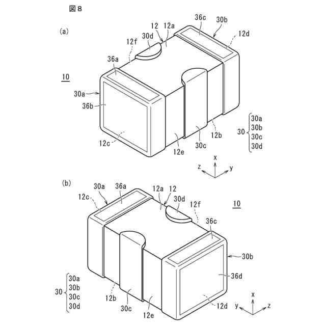
積層方向に相対する第1の面および第2の面と、前記積層方向に直交する第1の方向に相対する第3の面および第4の面と、前記積層方向および前記第1の方向に直交する第2の方向に相対する第5の面および第6の面とを有する積層体と、
前記第1の面上および前記第3の面上に配置された第1の外部電極と、
前記第1の面上および前記第4の面上に配置された第2の外部電極と、
前記第5の面上および前記第1の面上に配置された第3の外部電極と、
前記第6の面上および前記第1の面上に配置された第4の外部電極と、
を備えた積層セラミックコンデンサと、
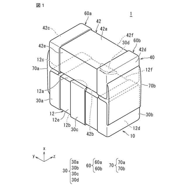
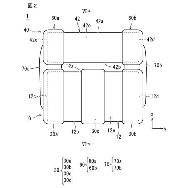
前記第1の外部電極および前記第2の外部電極と電気的に接続された導体部と、
を備えた複合型電子部品であって、
前記第1の外部電極は、前記第1の面側の表面に配置される第1の領域と、前記第3の面側の表面に配置される第2の領域とを有し、
前記導体部は、
前記第1の外部電極と前記第1の導電性接着剤によって接続された第1の電極と、
前記第2の外部電極と前記第2の導電性接着剤によって接続された第2の電極と、
を有し、
前記積層セラミックコンデンサの直流抵抗をRdc1とし、前記導体部の直流抵抗をRdc2としたとき、Rdc2≦Rdc1であり、
前記第1の導電性接着剤は、前記第1の外部電極における前記第1の領域から前記第2の領域にわたって配置される、複合型電子部品。
続きを表示(約 1,300 文字)
【請求項2】
前記第2の外部電極は、前記第1の面側の表面に配置される第3の領域と、前記第4の面側の表面に配置される第4の領域とを有し、
前記第2の導電性接着剤は、前記第2の外部電極における前記第3の領域から前記第4の領域にわたって配置される、請求項1に記載の複合型電子部品。
【請求項3】
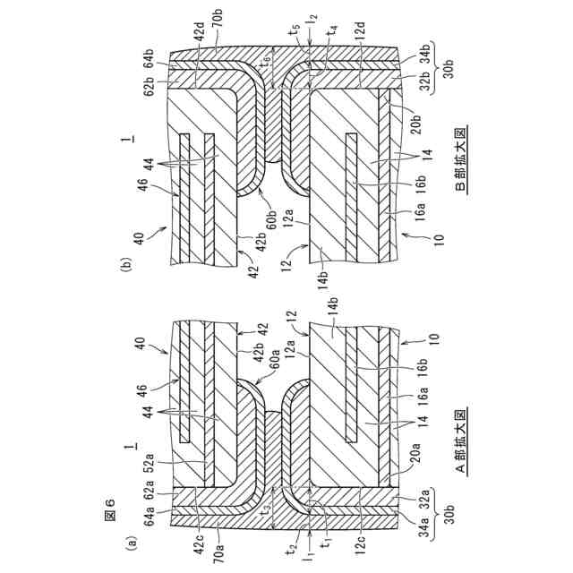
前記積層体の前記第5の面または前記第6の面と平行な断面であって、前記積層体の前記第2の方向の寸法の1/2の長さのところで切断した断面において、前記断面での前記第1の面の延長線に沿った前記第1の外部電極の厚みと前記第1の導電性接着剤の厚みとの合計厚みは、7μm以上である、請求項1に記載の複合型電子部品。
【請求項4】
前記積層体の前記第5の面または前記第6の面と平行な断面であって、前記積層体の前記第2の方向の寸法の1/2の長さのところで切断した断面において、前記断面での前記第1の面の延長線に沿った前記第2の外部電極の厚みと前記第2の導電性接着剤の厚みとの合計厚みは、7μm以上である、請求項2に記載の複合型電子部品。
【請求項5】
前記積層体の前記第5の面または前記第6の面と平行な断面であって、前記積層体の前記第2の方向の寸法の1/2の長さのところで切断した断面において、前記断面での前記第1の面の延長線に沿った前記第1の外部電極の厚みと前記第1の導電性接着剤の厚みとの合計厚みは、12μm以上である、請求項1に記載の複合型電子部品。
【請求項6】
前記積層体の前記第5の面または前記第6の面と平行な断面であって、前記積層体の前記第2の方向の寸法の1/2の長さのところで切断した断面において、前記断面での前記第1の面の延長線に沿った前記第2の外部電極の厚みと前記第2の導電性接着剤の厚みとの合計厚みは、12μm以上である、請求項2に記載の複合型電子部品。
【請求項7】
前記積層体の前記第5の面または前記第6の面と平行な断面であって、前記積層体の前記第2の方向の寸法の1/2の長さのところで切断した断面において、前記断面での前記第1の面の延長線に沿った前記第1の外部電極の厚みと前記第1の導電性接着剤の厚みとの合計厚みは、62μm以上である、請求項1に記載の複合型電子部品。
【請求項8】
前記積層体の前記第5の面または前記第6の面と平行な断面であって、前記積層体の前記第2の方向の寸法の1/2の長さのところで切断した断面において、前記断面での前記第1の面の延長線に沿った前記第2の外部電極の厚みと前記第2の導電性接着剤の厚みとの合計厚みは、62μm以上である、請求項2に記載の複合型電子部品。
【請求項9】
前記導体部は、チップ型コイル部品である、請求項1または請求項2に記載の複合型電子部品。
【請求項10】
前記導体部と前記積層セラミックコンデンサとの間には、絶縁樹脂が配置され、
前記絶縁樹脂は、前記積層セラミックコンデンサの少なくとも一部を被覆している、請求項1または請求項2に記載の複合型電子部品。
(【請求項11】以降は省略されています)
発明の詳細な説明
【技術分野】
【0001】
本発明は、複合型電子部品に関するものである。
続きを表示(約 2,000 文字)
【背景技術】
【0002】
例えば、高速で動作する集積回路部品(IC)に供給される電源電圧を安定化するために用いられるデカップリングコンデンサや、集積回路部品(IC)に供給される電源ラインのノイズ対策部品として、貫通型3端子コンデンサが知られている。貫通型3端子コンデンサは、一般的に、互いに対向する第1の主面および第2の主面、互いに対向する第5の面および第6の面ならびに互いに対向する第3の面および第4の面を有する積層体を備える。積層体の内部には、複数の第1の内部電極層および第2の内部電極層が積層方向において交互に配置されている。そして、第1の内部電極層は、その両端が第3の面および第4の面に導出され、第2の内部電極層は、その両端が第5の面および第6の面に導出されている。また、第1の内部電極層は、第1の外部電極および第2の外部電極に接続され、第2の内部電極層は第3の外部電極および第4の外部電極に接続されている。
【0003】
一般的な貫通型3端子コンデンサは、ノイズフィルタとして使用される場合、信号用内部電極(第1の内部電極層)に直流電流が流れる。しかし、低容量になると信号用内部電極(第1の内部電極層)の枚数が少なくなり、直流抵抗が大きくなることでコンデンサから発生する熱が大きくなってしまうという問題がある。
【0004】
そこで、静電容量が大きくなることを抑制しつつ、直流抵抗が大きくなることを抑制することが可能な低容量の貫通型3端子コンデンサの構造として、特許文献1のような構造が提供されている。信号用内部電極(第1の内部電極層)の枚数を多くするとともに、信号用内部電極(第1の内部電極層)同士を対向させることで静電容量および直流抵抗の両方が抑制される。
【先行技術文献】
【特許文献】
【0005】
特開平9-55335号公報
【発明の概要】
【発明が解決しようとする課題】
【0006】
しかしながら、特許文献1のような構造は、下記の問題がある。すなわち、所定のサイズ制約の中で信号用内部電極(第1の内部電極層)の枚数を増やすには限界があり、さらなる大電流対応が困難である。さらに、静電容量ごとに一品一様で内部構造を設計する必要があり、商品ラインナップの展開性が劣る。
また、積層セラミックコンデンサの稜線部の金属成分の体積が小さくなると、電気抵抗が高くなってしまっていた。
【0007】
それゆえに、本発明の主たる目的は、大電流に対応しつつ、電気抵抗が高くなることを抑制しうる複合型電子部品を提供することである。
【課題を解決するための手段】
【0008】
本発明に係る複合型電子部品は、積層方向に相対する第1の面および第2の面と、積層方向に直交する第1の方向に相対する第3の面および第4の面と、積層方向および第1の方向に直交する第2の方向に相対する第5の面および第6の面とを有する積層体と、第1の面上および前記第3の面上に配置された第1の外部電極と、第1の面上および前記第4の面上に配置された第2の外部電極と、第5の面上および前記第1の面上に配置された第3の外部電極と、第6の面上および前記第1の面上に配置された第4の外部電極と、を備えた積層セラミックコンデンサと、第1の外部電極および第2の外部電極と電気的に接続された導体部と、を備えた複合型電子部品であって、第1の外部電極は、第1の面側の表面に配置される第1の領域と、第3の面側の表面に配置される第2の領域とを有し、導体部は、第1の外部電極と第1の導電性接着剤によって接続された第1の電極と、第2の外部電極と第2の導電性接着剤によって接続された第2の電極と、を有し、積層セラミックコンデンサの直流抵抗をRdc1とし、導体部の直流抵抗をRdc2としたとき、Rdc2≦Rdc1であり、第1の導電性接着剤は、第1の外部電極における第1の領域から第2の領域にわたって配置されることを特徴とする。
【0009】
本発明に係る複合型電子部品では、積層セラミックコンデンサの直流抵抗をRdc1とし、導体部の直流抵抗をRdc2としたとき、Rdc2≦Rdc1である。これにより、インピーダンスの低い積層セラミックコンデンサに優先的に交流電流を流し、直流電流を直流抵抗が低い方へ流すことができる。第1の導電性接着剤は、第1の外部電極における第1の領域から第2の領域にわたって配置されるので、積層セラミックコンデンサの少なくも一方の稜線部における金属成分の体積を増加させることができることから、電気抵抗の増加を抑制することができる。
【発明の効果】
【0010】
本発明によれば、大電流に対応しつつ、電気抵抗が高くなることを抑制しうる複合型電子部品を提供することができる。
(【0011】以降は省略されています)
この特許をJ-PlatPat(特許庁公式サイト)で参照する
関連特許
株式会社村田製作所
電池
9日前
株式会社村田製作所
釣り具
8日前
株式会社村田製作所
電子部品
1日前
株式会社村田製作所
コイル部品
15日前
株式会社村田製作所
噴霧ノズル
3日前
株式会社村田製作所
フィルタ回路
5日前
株式会社村田製作所
流体制御装置
16日前
株式会社村田製作所
複合型電子部品
1日前
株式会社村田製作所
弾性波フィルタ
15日前
株式会社村田製作所
インダクタ部品
15日前
株式会社村田製作所
グラビア印刷版
23日前
株式会社村田製作所
積層インダクタ
5日前
株式会社村田製作所
呼吸検出システム
5日前
株式会社村田製作所
多層基板及び電子機器
5日前
株式会社村田製作所
多層基板及び電子機器
5日前
株式会社村田製作所
積層セラミック電子部品
17日前
株式会社村田製作所
積層セラミック電子部品
2日前
株式会社村田製作所
積層セラミック電子部品
2日前
株式会社村田製作所
積層セラミック電子部品
17日前
株式会社村田製作所
積層セラミック電子部品
17日前
株式会社村田製作所
積層セラミック電子部品
1日前
株式会社村田製作所
光学的パターン表示物品
1日前
株式会社村田製作所
積層セラミック電子部品
24日前
株式会社村田製作所
電池および電池の製造方法
1日前
株式会社村田製作所
積層インダクタの製造方法
1日前
株式会社村田製作所
積層セラミックコンデンサ
8日前
株式会社村田製作所
積層セラミックコンデンサ
17日前
株式会社村田製作所
樹脂多層基板及び電子機器
5日前
株式会社村田製作所
樹脂多層基板及び電子機器
5日前
株式会社村田製作所
積層セラミックコンデンサ
5日前
株式会社村田製作所
タブおよび電池モジュール
1日前
株式会社村田製作所
積層セラミックコンデンサ
5日前
株式会社村田製作所
積層セラミックコンデンサ
3日前
株式会社村田製作所
タブおよび電池モジュール
1日前
株式会社村田製作所
積層セラミックコンデンサ
2日前
株式会社村田製作所
積層コイル部品の製造方法
17日前
続きを見る
他の特許を見る