TOP
|
特許
|
意匠
|
商標
特許ウォッチ
Twitter
他の特許を見る
公開番号
2025144142
公報種別
公開特許公報(A)
公開日
2025-10-02
出願番号
2024043772
出願日
2024-03-19
発明の名称
積層セラミック電子部品
出願人
株式会社村田製作所
代理人
個人
,
個人
主分類
H01G
4/30 20060101AFI20250925BHJP(基本的電気素子)
要約
【課題】内部導体層と外部電極の接合性を確保しつつ、外部電極の薄膜化を図ることが可能な積層セラミック電子部品を提供すること。
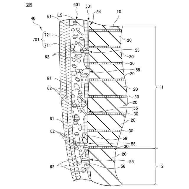
【解決手段】積層セラミック電子部品1であって、端面側下地電極層501は、少なくとも内層部11の第1の主面側外層部12A近傍領域および第2の主面側外層部12B近傍領域において、端面側下地電極層501が途切れながら断続して存在する断続領域54を有し、端面側下地電極層501が途切れている途絶領域55において、端面側導電性樹脂層601は、セラミック層20および内部導体層30端部と接触している。
【選択図】図5
特許請求の範囲
【請求項1】
積層された複数のセラミック層および複数の内部導体層を含み、高さ方向に相対する第1の主面および第2の主面と、高さ方向に直交する幅方向に相対する第1の側面および第2の側面と、高さ方向および幅方向に直交する長さ方向に相対する第1の端面および第2の端面と、を有する積層体と、
前記第1の端面上に配置された第1の外部電極と、
前記第2の端面上に配置された第2の外部電極と、
を有する積層セラミック電子部品であって、
前記積層体は、
前記セラミック層と前記内部導体層を有する内層部と、
高さ方向において前記内層部を挟み込むように配置された第1の外層部および第2の外層部と、を備え、
前記第1の外部電極および前記第2の外部電極は、
端面側下地電極層と、
前記端面側下地電極層上に配置された端面側導電性樹脂層と、
前記端面側導電性樹脂層上に配置された端面側めっき層と、を備え、
前記端面側下地電極層は、少なくとも前記内層部の第1の外層部近傍領域および第2の外層部近傍領域において、前記端面側下地電極層が途切れながら断続して存在する断続領域を有し、
前記端面側下地電極層が途切れている領域において、前記端面側導電性樹脂層は、前記セラミック層および前記内部導体層の端部と接触している、積層セラミック電子部品。
続きを表示(約 420 文字)
【請求項2】
前記端面側導電性樹脂層のフィラーと、前記内部導体層の端部とが接触している、
請求項1に記載の積層セラミック電子部品。
【請求項3】
前記端面側下地電極層は、
当該前記端面側下地電極層が途切れている前記領域に隣接する部分に位置し、前記長さ方向で前記端面から離れる方向に延びた後、前記端面側に曲がるアンカー部を有し、
前記端面側導電性樹脂層の一部は、
前記アンカー部と前記端面の間に入り込む、
請求項1または2に記載の積層セラミック電子部品。
【請求項4】
前記断続領域は、前記内層部から前記第1の外層部および前記内層部から前記第2の外層部にわたって形成され、
前記端面側下地電極層が途切れている前記領域において、前記端面側導電性樹脂層が前記第1の外層部または前記第2の外層部に接触している、
請求項1または2に記載の積層セラミック電子部品。
発明の詳細な説明
【技術分野】
【0001】
本発明は、積層セラミック電子部品に関する。
続きを表示(約 2,300 文字)
【背景技術】
【0002】
近年、積層セラミック電子部品としての積層セラミックコンデンサは、熱膨張によるたわみ応力等の過酷な環境下への耐久性が要求され、その対応として積層セラミックコンデンサの外部電極に熱硬化性導電樹脂ペーストを用いる技術が知られている。この種の技術を示すものとして特許文献1が挙げられる。特許文献1では、導電ペーストをディッピングして塗布し、それを焼き付けた電極層と、導電性のエポキシ系熱硬化性樹脂層と、ニッケルメッキ層と、スズ系層とが順次積層された層構成の外部電極を有する積層セラミックコンデンサが記載されている。
【先行技術文献】
【特許文献】
【0003】
特開平11-162771号公報
【発明の概要】
【発明が解決しようとする課題】
【0004】
特許文献1の積層セラミックコンデンサであれば、樹脂層の犠牲破壊および変形による応力緩和によって、積層体にクラックが発生することを抑制可能である。一方、このような樹脂層を有する積層セラミックコンデンサは、内部電極層と外部電極の接合性を確保しつつ、外部電極の薄膜化を図ることが課題となる。例えば、外部電極の厚膜化により、積層セラミックコンデンサの長さ方向寸法が大きくなることは好ましくない。
【0005】
本発明は、内部導体層と外部電極の接合性を確保しつつ、外部電極の薄膜化を図ることが可能な積層セラミック電子部品を提供することを目的とする。
【課題を解決するための手段】
【0006】
本発明に係る積層セラミック電子部品は、積層された複数のセラミック層および複数の内部導体層を含み、高さ方向に相対する第1の主面および第2の主面と、高さ方向に直交する幅方向に相対する第1の側面および第2の側面と、高さ方向および幅方向に直交する長さ方向に相対する第1の端面および第2の端面と、を有する積層体と、前記第1の端面上に配置された第1の外部電極と、前記第2の端面上に配置された第2の外部電極と、を有する積層セラミック電子部品において、前記積層体は、前記セラミック層と前記内部導体層を有する内層部と、高さ方向において前記内層部を挟み込むように配置された第1の外層部および第2の外層部と、を備え、前記第1の外部電極および前記第2の外部電極は、端面側下地電極層と、前記端面側下地電極層上に配置された端面側導電性樹脂層と、前記端面側導電性樹脂層上に配置された端面側めっき層と、を備え、前記端面側下地電極層は、少なくとも前記内層部の第1の外層部近傍領域および第2の外層部近傍領域において、前記端面側下地電極層が途切れながら断続して存在する断続領域を有し、前記端面側下地電極層が途切れている領域において、前記端面側導電性樹脂層は、前記セラミック層および前記内部導体層の端部と接触している。
【発明の効果】
【0007】
本発明によれば、内部導体層と外部電極の接合性を確保しつつ、外部電極の薄膜化を図ることが可能な積層セラミック電子部品を提供できる。
【図面の簡単な説明】
【0008】
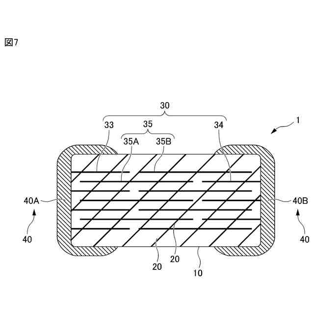
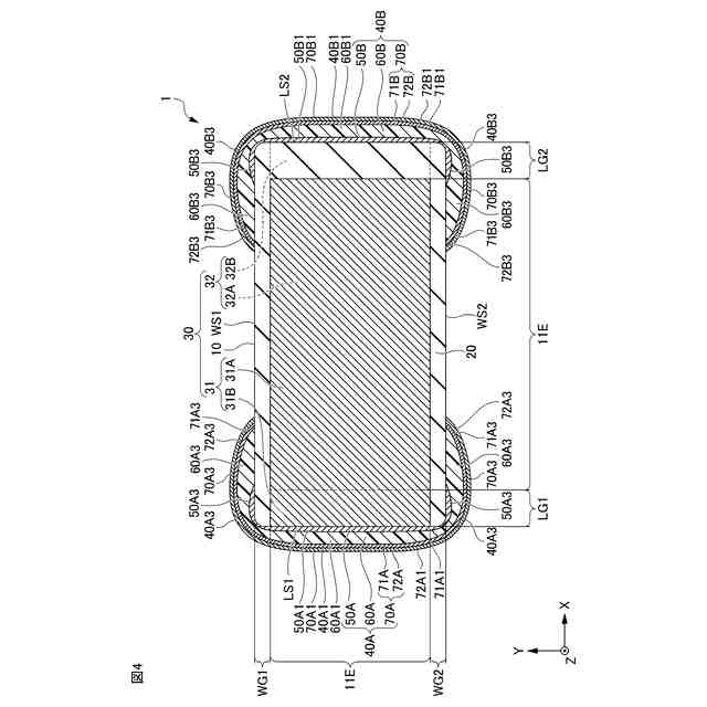
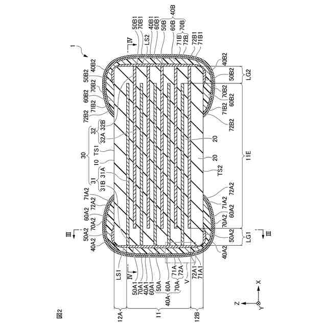
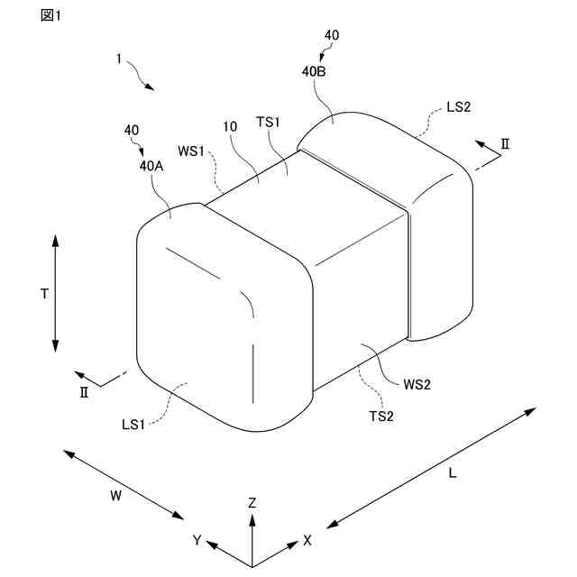
本実施形態の積層セラミックコンデンサの外観斜視図である。
図1に示す積層セラミックコンデンサのII-II線に沿った断面図である。
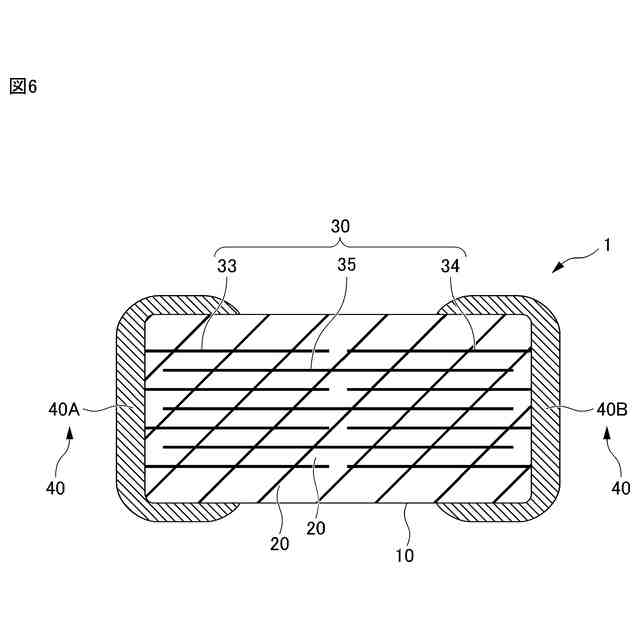
図2に示す積層セラミックコンデンサのIII-III線に沿った断面図である。
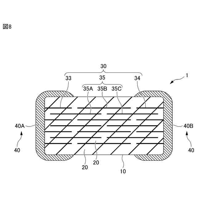
図2に示す積層セラミックコンデンサのIV-IV線に沿った断面図である。
図2に示す積層セラミックコンデンサのV部の拡大図であり、積層セラミックコンデンサの端面側下地電極層と端面側導電性樹脂層の接合部分を説明するための模式図である。
2連構造の積層セラミックコンデンサの構成の一例を示す模式図である。
3連構造の積層セラミックコンデンサの構成の一例を示す模式図である。
4連構造の積層セラミックコンデンサの構成の一例を示す模式図である。
【発明を実施するための形態】
【0009】
<実施形態>
以下、本開示の第1実施形態に係る積層セラミック電子部品としての積層セラミックコンデンサ1について、図1~図4を用いて説明する。図1は、本実施形態の積層セラミックコンデンサ1の外観斜視図である。図2は、図1の積層セラミックコンデンサ1のII-II線に沿った断面図である。図3は、図2の積層セラミックコンデンサ1のIII-III線に沿った断面図である。図4は、図2の積層セラミックコンデンサ1のIV-IV線に沿った断面図である。
【0010】
なお、図面は、発明の内容を説明するため、模式的に簡略化して描画している場合があり、描画された構成要素または構成要素間の寸法の比率が、明細書に記載されたそれらの寸法の比率と一致していない場合がある。また、明細書に記載されている構成要素が、図面において省略されている場合や、個数を省略して描画されている場合などがある。例えば、図2、図3に記述される内部電極層の数は、説明の便宜上、10層となっているが、これは、実際の内部電極層30の数を示すものではない。なお、本発明において用いる、形状や幾何学的条件、および、それらの程度を特定する用語、例えば、「平行」、「直交」、「同一」等の用語や長さや角度の値等については、厳密な意味に縛られることなく、同様の機能を期待し得る程度の範囲を含めて解釈することとする。
(【0011】以降は省略されています)
この特許をJ-PlatPat(特許庁公式サイト)で参照する
関連特許
株式会社村田製作所
測定装置
今日
株式会社村田製作所
電池パック
今日
株式会社村田製作所
圧力センサ装置
今日
株式会社村田製作所
電子部品包装装置
今日
株式会社村田製作所
高周波回路および通信装置
今日
株式会社村田製作所
積層セラミックコンデンサ
1日前
株式会社村田製作所
二次電池および電池パック
1日前
株式会社村田製作所
二次電池および電池パック
1日前
株式会社村田製作所
高周波モジュール及び通信装置
5日前
株式会社 東京ウエルズ
テープ送り装置及びテーピング機
1日前
日置電機株式会社
校正方法、測定装置、及びインダクタの検査方法
今日
株式会社村田製作所
積層セラミックコンデンサ
2日前
個人
安全なNAS電池
1か月前
日本発條株式会社
積層体
9日前
東レ株式会社
多孔質炭素シート
28日前
個人
フリー型プラグ安全カバー
1か月前
個人
防雪防塵カバー
9日前
エイブリック株式会社
半導体装置
1か月前
ローム株式会社
半導体装置
7日前
ローム株式会社
半導体装置
28日前
ローム株式会社
半導体装置
7日前
エイブリック株式会社
半導体装置
1か月前
ローム株式会社
半導体装置
7日前
ローム株式会社
半導体装置
今日
キヤノン株式会社
電子機器
28日前
ローム株式会社
半導体装置
5日前
オムロン株式会社
電磁継電器
1か月前
株式会社GSユアサ
蓄電装置
1か月前
株式会社ティラド
面接触型熱交換器
20日前
株式会社ホロン
冷陰極電子源
5日前
株式会社GSユアサ
蓄電装置
5日前
個人
半導体パッケージ用ガラス基板
8日前
東レ株式会社
ガス拡散層の製造方法
28日前
ニチコン株式会社
コンデンサ
21日前
株式会社GSユアサ
蓄電装置
9日前
沖電気工業株式会社
アンテナ
1か月前
続きを見る
他の特許を見る