TOP
|
特許
|
意匠
|
商標
特許ウォッチ
Twitter
他の特許を見る
公開番号
2025143927
公報種別
公開特許公報(A)
公開日
2025-10-02
出願番号
2024043442
出願日
2024-03-19
発明の名称
積層セラミック電子部品
出願人
株式会社村田製作所
代理人
個人
,
個人
主分類
H01G
4/30 20060101AFI20250925BHJP(基本的電気素子)
要約
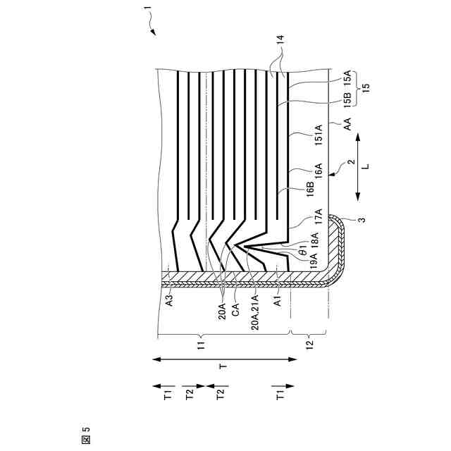
【課題】界面剥離の発生を抑制することが可能な積層セラミック電子部品を提供すること。
【解決手段】第1引出部17Aは、LT断面において、屈曲部20Aを有する。第1端面CAの接線であって積層方向Tと平行に延びる直線を第1端面側基準線LC1とし、第1主面AAの接線であって長さ方向Lと平行に延びる直線を第1主面側基準線LA1とし、屈曲部20Aと第1端面側基準線LC1との距離をxとし、屈曲部20Aと第1主面側基準線LA1との距離をyとし、積層体2のうち、積層体2の積層方向Tの中央部を通る直線と、積層体2の長さ方向Lの中央部を通る直線と、により4分割された領域のうちの第1主面AA側且つ第1端面CA側の領域を第1基準領域A1とし、第1基準領域A1内の屈曲部20Aに関するx及びyの値に基づいて導出された回帰直線を、仮想連結線VLとすると、仮想連結線VLは、有効層部10と交差する。
【選択図】図3
特許請求の範囲
【請求項1】
交互に積層されたセラミック層及び内部電極を含む内層部と、積層方向に相対する第1主面及び第2主面と、前記積層方向に直交する方向である幅方向に相対する第1側面及び第2側面と、前記積層方向及び前記幅方向に直交する方向である長さ方向に相対する第1端面及び第2端面と、を有する積層体と、
前記各端面に対となって配置された外部電極と、
を備える積層セラミック電子部品であって、
前記内部電極は、前記積層方向に隣り合う前記内部電極と対向する対向部と、前記対向部から引き出されるとともに前記外部電極と接続される引出部と、を有し、
前記積層体は、各前記対向部と、各前記セラミック層のうち隣り合う前記対向部に挟まれた部分と、からなる有効層部を有し、
前記積層方向のうち、前記積層体の前記積層方向の中央部から前記各主面を見た方向を、積層方向外側とし、前記積層方向のうち、前記各主面から前記積層体の前記積層方向の中央部を見た方向を積層方向中心側とし、
前記積層方向及び前記長さ方向に平行な断面をLT断面とすると、
前記LT断面において、
前記引出部は、前記対向部から引き出され、前記対向部側から前記対向部とは離間する側に向かうにつれて前記積層方向中心側に傾斜する第1傾斜部と、前記第1傾斜部から前記対向部とは離間する側に延び、前記対向部側から前記対向部とは離間する側に向かうにつれて前記積層方向外側に傾斜する第2傾斜部と、前記第1傾斜部と前記第2傾斜部とを接続する屈曲部と、を有し、
前記端面の接線であって前記積層方向と平行に延びる直線を端面側基準線とし、
前記主面の接線であって前記長さ方向と平行に延びる直線を主面側基準線とし、
前記屈曲部と前記端面側基準線との距離をxとし、
前記屈曲部と前記主面側基準線との距離をyとし、
前記積層体のうち、前記積層体の前記積層方向の中央部を通る直線と、前記積層体の前記長さ方向の中央部を通る直線と、により4分割された領域のうちの一の領域を基準領域とし、
前記基準領域内の前記屈曲部に関する前記x及び前記yの値に基づいて導出された回帰直線を、仮想連結線とすると、
前記仮想連結線は、前記有効層部と交差する、積層セラミック電子部品。
続きを表示(約 410 文字)
【請求項2】
前記基準領域において、最も前記積層方向外側に位置する前記屈曲部を、最外屈曲部とすると、
前記最外屈曲部の屈曲角は、前記最外屈曲部よりも前記積層方向中心側に位置する前記屈曲部の屈曲角よりも小さい、請求項1に記載の積層セラミック電子部品。
【請求項3】
前記最外屈曲部の屈曲角は、30°よりも小さい、請求項2に記載の積層セラミック電子部品。
【請求項4】
最も前記積層方向外側に位置する前記内部電極を、最外内部電極とし、
前記対向部の前記積層方向外側の輪郭線の長さを、当該対向部の前記長さ方向の各端部の前記長さ方向の離間距離で除して得られた量を、うねり量とすると、
前記最外内部電極の前記対向部の前記うねり量は、前記最外内部電極と隣り合う前記内部電極の前記対向部の前記うねり量よりも大きい、請求項1~3のいずれか1項に記載の積層セラミック電子部品。
発明の詳細な説明
【技術分野】
【0001】
本発明は、積層セラミック電子部品に関する。
続きを表示(約 1,900 文字)
【背景技術】
【0002】
従来、積層セラミック電子部品として積層セラミックコンデンサが知られている。一般に、積層セラミックコンデンサは、誘電体層と内部電極層とが交互に複数積層された積層体と、積層体の両端面に設けられた外部電極と、を備えている。例えば特許文献1には、上述の構造を有し、かつ、外部電極が、焼き付けにより形成された下地電極層を含む積層セラミックコンデンサが開示されている。
【先行技術文献】
【特許文献】
【0003】
特開2003-243249号公報
【発明の概要】
【発明が解決しようとする課題】
【0004】
積層セラミックコンデンサにおいては、例えば積層チップのカット工程において、内部電極が隣接する誘電体から剥離する現象(「界面剥離」という)が発生することがある。この界面剥離は製品の歩留まりを低下させる。
【0005】
本発明は、界面剥離の発生を抑制することが可能な積層セラミック電子部品を提供することを目的とする。
【課題を解決するための手段】
【0006】
上記課題を解決すべく、本発明の積層セラミック電子部品は、面及び第2主面と、前記積層方向に直交する方向である幅方向に相対する第1側面及び第2側面と、前記積層方向及び前記幅方向に直交する方向である長さ方向に相対する第1端面及び第2端面と、を有する積層体と、前記各端面に対となって配置された外部電極と、を備える積層セラミック電子部品であって、前記内部電極は、前記積層方向に隣り合う前記内部電極と対向する対向部と、前記対向部から引き出されるとともに前記外部電極と接続される引出部と、を有し、前記積層体は、各前記対向部と、各前記セラミック層のうち隣り合う前記対向部に挟まれた部分と、からなる有効層部を有し、前記積層方向のうち、前記積層体の前記積層方向の中央部から前記各主面を見た方向を、積層方向外側とし、前記積層方向のうち、前記各主面から前記積層体の前記積層方向の中央部を見た方向を積層方向中心側とし、前記積層方向及び前記長さ方向に平行な断面をLT断面とすると、前記LT断面において、前記引出部は、前記対向部から引き出され、前記対向部側から前記対向部とは離間する側に向かうにつれて前記積層方向中心側に傾斜する第1傾斜部と、前記第1傾斜部から前記対向部とは離間する側に延び、前記対向部側から前記対向部とは離間する側に向かうにつれて前記積層方向外側に傾斜する第2傾斜部と、前記第1傾斜部と前記第2傾斜部とを接続する屈曲部と、を有し、前記端面の接線であって前記積層方向と平行に延びる直線を端面側基準線とし、前記主面の接線であって前記長さ方向と平行に延びる直線を主面側基準線とし、前記屈曲部と前記端面側基準線との距離をxとし、前記屈曲部と前記主面側基準線との距離をyとし、前記積層体のうち、前記積層体の前記積層方向の中央部を通る直線と、前記積層体の前記長さ方向の中央部を通る直線と、により4分割された領域のうちの一の領域を基準領域とし、前記基準領域内の前記屈曲部に関する前記x及び前記yの値に基づいて導出された回帰直線を、仮想連結線とすると、前記仮想連結線は、前記有効層部と交差する。
【発明の効果】
【0007】
本発明によれば、界面剥離の発生を抑制することが可能な積層セラミック電子部品を提供することができる。
【図面の簡単な説明】
【0008】
第1実施形態に係る積層セラミックコンデンサの概略斜視図である。
図1のII-II断面図である。
図2における第1基準領域付近の拡大図である。
第2実施形態の積層セラミックコンデンサを示す図であり、図2に対応する図である。
第3実施形態の積層セラミックコンデンサを示す図であり、図3に対応する図である。
【発明を実施するための形態】
【0009】
<第1実施形態>
以下、本発明の第1実施形態に係る積層セラミックコンデンサ1について図1及び図2を参照しつつ説明する。積層セラミックコンデンサ1は、積層セラミック電子部品に相当する。
【0010】
(積層セラミックコンデンサ1)
図1に示すように、積層セラミックコンデンサ1は、いわゆる二端子構造の積層セラミックコンデンサである。積層セラミックコンデンサ1は、積層体2と、一対の外部電極3とを備える。積層体2は、略直方体状をなし、6つの外表面を有する。積層体2は、誘電体層14と内部電極15とが積層された内層部11を含む。
(【0011】以降は省略されています)
この特許をJ-PlatPat(特許庁公式サイト)で参照する
関連特許
個人
安全なNAS電池
27日前
東レ株式会社
多孔質炭素シート
22日前
個人
フリー型プラグ安全カバー
1か月前
日本発條株式会社
積層体
3日前
ローム株式会社
半導体装置
22日前
エイブリック株式会社
半導体装置
24日前
ローム株式会社
半導体装置
1日前
ローム株式会社
半導体装置
1日前
個人
防雪防塵カバー
3日前
ローム株式会社
半導体装置
1日前
エイブリック株式会社
半導体装置
24日前
キヤノン株式会社
電子機器
22日前
株式会社ティラド
面接触型熱交換器
14日前
沖電気工業株式会社
アンテナ
1か月前
株式会社GSユアサ
蓄電装置
1か月前
株式会社GSユアサ
蓄電装置
3日前
個人
半導体パッケージ用ガラス基板
2日前
東レ株式会社
ガス拡散層の製造方法
22日前
ニチコン株式会社
コンデンサ
15日前
ニチコン株式会社
コンデンサ
15日前
オムロン株式会社
電磁継電器
1か月前
日本特殊陶業株式会社
保持装置
1日前
トヨタ自動車株式会社
二次電池
3日前
日本特殊陶業株式会社
保持装置
29日前
日本特殊陶業株式会社
保持装置
3日前
株式会社カネカ
二次電池
1か月前
ローム株式会社
電子装置
3日前
株式会社ヨコオ
コネクタ
24日前
マクセル株式会社
配列用マスク
14日前
矢崎総業株式会社
コネクタ
6日前
トヨタ自動車株式会社
電池パック
7日前
個人
多層樹脂シート電池の電流制限方法
13日前
ヒロセ電機株式会社
電気コネクタ
3日前
ローム株式会社
半導体装置
3日前
株式会社デンソー
電子装置
3日前
ローム株式会社
半導体装置
1か月前
続きを見る
他の特許を見る