TOP
|
特許
|
意匠
|
商標
特許ウォッチ
Twitter
他の特許を見る
10個以上の画像は省略されています。
公開番号
2025151144
公報種別
公開特許公報(A)
公開日
2025-10-09
出願番号
2024052414
出願日
2024-03-27
発明の名称
無線通信システム
出願人
株式会社デンソー
代理人
個人
,
個人
主分類
H04W
52/34 20090101AFI20251002BHJP(電気通信技術)
要約
【課題】通信信頼性を担保しつつ、消費電力が過大となるとことを抑制することが可能な無線通信システムを提供する。
【解決手段】通信チャネル制御により、複数の通信チャネルごとの通信品質を示す通信品質データに基づいて、複数の通信チャネルから通信品質が低下した通信チャネルを除外した後の複数の通信チャネルを示すチャネルマップを作成する。そして、送信電力制御により、チャネルマップによって示される無線通信に使用可能な複数の通信チャネルのそれぞれの通信品質データに基づいて、チャネルマップによって示される無線通信に使用可能な複数の通信チャネルでの送信電力値を決定する。
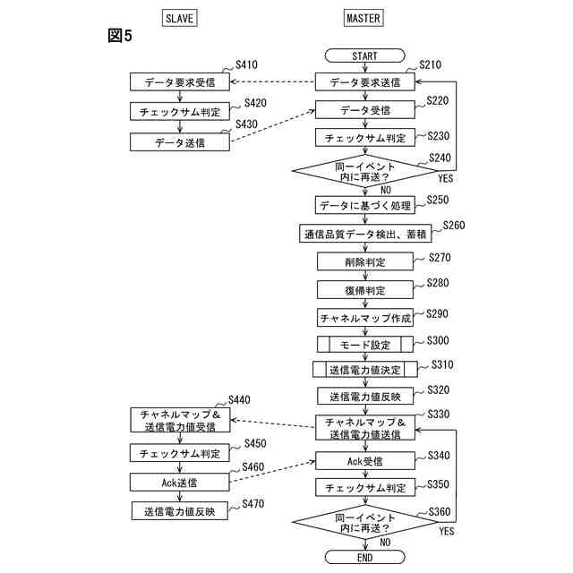
【選択図】図5
特許請求の範囲
【請求項1】
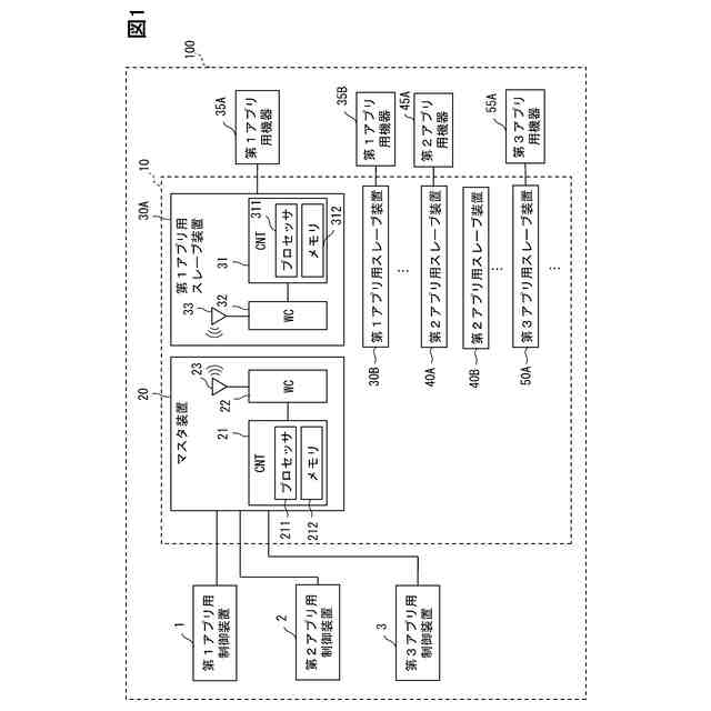
複数の通信チャネルから順次に選択される1つの通信チャネルを介して、マスタノード(20)とスレーブノード(30A、30B、40A、40B、50A)との間で無線通信を実行する無線通信システムであって、
前記複数の通信チャネルごとの通信品質を示す通信品質データに基づいて、前記複数の通信チャネルから通信品質が低下した通信チャネルを除外した後の複数の通信チャネルを示すチャネルマップを作成し、前記チャネルマップによって示される無線通信に使用可能な前記複数の通信チャネルから無線通信に使用する通信チャネルが選択されるようにする通信チャネル制御部(S290)と、
前記チャネルマップによって示される無線通信に使用可能な前記複数の通信チャネルのそれぞれの前記通信品質データに基づいて、前記チャネルマップによって示される無線通信に使用可能な前記複数の通信チャネルでの送信電力値を決定する送信電力値決定部(S310)と、
前記送信電力値決定部によって決定された送信電力値となるように、前記チャネルマップによって示される無線通信に使用可能な前記複数の通信チャネルでの送信電力を制御する送信電力制御部(S320、S470)と、を備える無線通信システム。
続きを表示(約 2,000 文字)
【請求項2】
前記送信電力値決定部は、前記チャネルマップによって示される無線通信に使用可能な前記複数の通信チャネルのそれぞれの前記通信品質データに含まれる受信信号強度と、所定の電力制御閾値とに基づいて、前記チャネルマップによって示される無線通信に使用可能な前記複数の通信チャネルでの送信電力値を決定する、請求項1に記載の無線通信システム。
【請求項3】
前記所定の電力制御閾値は、前記チャネルマップによって示される無線通信に使用可能な前記複数の通信チャネルのそれぞれの前記通信品質データに基づいて、通信信頼性が良好である場合には不良である場合に比較して、小さい値になるように変更される、請求項2に記載の無線通信システム。
【請求項4】
前記通信チャネル制御部は、通信チャネルごとの受信信号強度が削除閾値以下に低下したことに基づいて、該当する通信チャネルを、無線通信に使用する通信チャネルから除外するものであり、
前記所定の電力制御閾値は、前記削除閾値よりも大きな値に設定される、請求項2又は3に記載の無線通信システム。
【請求項5】
前記スレーブノードは少なくとも2つ設けられ、
前記通信チャネル制御部は、少なくとも2つの前記スレーブノードに対して共通のチャネルマップを作成し、
前記送信電力値決定部は、前記共通のチャネルマップによって示される無線通信に使用可能な前記複数の通信チャネルのそれぞれの受信信号強度の中の最小値と前記所定の電力制御閾値との比較結果に基づいて、前記共通のチャネルマップによって示される無線通信に使用可能な前記複数の通信チャネルのための共通の送信電力値を決定する、請求項2又は3に記載の無線通信システム。
【請求項6】
前記スレーブノードは少なくとも2つ設けられ、
前記通信チャネル制御部は、少なくとも2つの前記スレーブノードに対して個別のチャネルマップを作成し、
前記送信電力値決定部は、前記個別のチャネルマップ毎に、前記個別のチャネルマップによって示される無線通信に使用可能な前記複数の通信チャネルのそれぞれの受信信号強度の中の最小値と前記所定の電力制御閾値との比較結果に基づいて、前記個別のチャネルマップに対して別々に、前記個別のチャネルマップによって示される無線通信に使用可能な前記複数の通信チャネルのための共通の送信電力値を決定する、請求項2又は3に記載の無線通信システム。
【請求項7】
前記スレーブノードは少なくとも2つ設けられ、
前記通信チャネル制御部は、少なくとも2つの前記スレーブノードに対して共通のチャネルマップを作成し、
前記送信電力値決定部は、前記共通のチャネルマップによって示される無線通信に使用可能な前記複数の通信チャネル毎の、少なくとも2つの前記スレーブノードにおける小さい方の受信信号強度と前記所定の電力制御閾値との比較結果に基づいて、前記共通のチャネルマップによって示される無線通信に使用可能な前記複数の通信チャネル毎の送信電力値を決定する、請求項2又は3に記載の無線通信システム。
【請求項8】
前記スレーブノードは少なくとも2つ設けられ、
前記通信チャネル制御部は、少なくとも2つの前記スレーブノードに対して個別のチャネルマップを作成し、
前記送信電力値決定部は、前記個別のチャネルマップ毎に、前記個別のチャネルマップによって示される無線通信に使用可能な前記複数の通信チャネル毎の受信信号強度と前記所定の電力制御閾値との比較結果に基づいて、前記個別のチャネルマップに対して別々に、前記個別のチャネルマップによって示される無線通信に使用可能な前記複数の通信チャネル毎の送信電力値を決定する、請求項2又は3に記載の無線通信システム。
【請求項9】
前記無線通信システムは、送信電力を最大値とする信頼性モードと、最大値と最小値との間の送信電力とするバランスモードと、送信電力を最小値とする省電力モードとの3つのモードにて動作可能であり、
前記チャネルマップによって示される無線通信に使用可能な前記複数の通信チャネルのそれぞれの前記通信品質データに基づいて、前記無線通信システムのモードが遷移する、請求項1乃至3のいずれか1項に記載の無線通信システム。
【請求項10】
前記送信電力値決定部は、前記マスタノードに設けられ、
前記マスタノードが、決定された送信電力値を、メッセージを介して、前記スレーブノードに送信し、
前記送信電力制御部は、前記スレーブノードに設けられ、
前記スレーブノードの前記送信電力制御部は、前記マスタノードから送信された送信電力値に従って、送信電力を制御する、請求項1乃至3のいずれか1項に記載の無線通信システム。
(【請求項11】以降は省略されています)
発明の詳細な説明
【技術分野】
【0001】
本開示は、複数の通信チャネルから順次に選択される1つの通信チャネルを介して、マスタノードとスレーブノードとの間で無線通信を実行する無線通信システムに関する。
続きを表示(約 2,200 文字)
【背景技術】
【0002】
例えば、特許文献1には、複数の電池を監視制御する電池システムが開示されている。電池システムは、マスタ管理装置と、複数の電池モジュールを備える。各電池モジュールは、スレーブ管理装置と電池セルを備える。マスタ管理装置は、スレーブ管理装置へ、電池セルの計測内容、計測タイミング、各スレーブ管理装置の無線通信タイミング、及び無線通信に用いる周波数チャネルの情報を含む監視制御指示信号を送信する。スレーブ管理装置は、電池セルの計測結果と監視制御指示信号の受信状態の情報を含む監視制御結果信号を、指示された周波数チャネルを介して、送信する。
【0003】
マスタ管理装置は、スレーブ管理装置毎、周波数チャネル毎に通信品質を管理する。そして、通信品質が劣化した周波数チャネルは、監視制御指示信号に含まれる周波数チャネルの情報によって、通信品質が劣化していない他の周波数チャネルに変更される。このようにして、監視制御指示信号や監視制御結果信号の通信信頼性を高く維持するようにしている。
【0004】
さらに、特許文献1には、監視制御指示信号や監視制御結果信号の送信電力を増やすことや、周波数チャネルホッピングのホッピングパターンを変更することで、より通信信頼性を高めることができることも記載されている。
【先行技術文献】
【特許文献】
【0005】
国際公開第WO2015/189898A1号公報
【発明の概要】
【発明が解決しようとする課題】
【0006】
上述したように、特許文献1に記載されたシステムは、マスタ管理装置とスレーブ管理装置との間で送受信される無線通信信号(監視制御指示信号や監視制御結果信号)の通信信頼性を高めることしか考慮していない。しかしながら、特許文献1に記載されたシステムのように、常時、無線通信システムの通信信頼性を高める制御を実施すると、消費電力が過大となる虞がある。例えば、無線通信システムが、バッテリからの電力の供給を受けて無線通信を行う場合、バッテリに蓄えられた電力には限りがあるため、電力の消費を抑制することも重要である。
【0007】
本開示は、上述した点に鑑みてなされたものであり、通信信頼性を担保しつつ、消費電力が過大となるとことを抑制することが可能な無線通信システムを提供することを目的とするものである。
【課題を解決するための手段】
【0008】
上記目的を達成するために、本開示による無線通信システムは、複数の通信チャネルから順次に選択される1つの通信チャネルを介して、マスタノード(20)とスレーブノード(30A、30B、40A、40B、50A)との間で無線通信を実行する無線通信システムであって、
複数の通信チャネルごとの通信品質を示す通信品質データに基づいて、複数の通信チャネルから通信品質が低下した通信チャネルを除外した後の複数の通信チャネルを示すチャネルマップを作成し、チャネルマップによって示される無線通信に使用可能な複数の通信チャネルから無線通信に使用する通信チャネルが選択されるようにする通信チャネル制御部(S290)と、
チャネルマップによって示される無線通信に使用可能な複数の通信チャネルのそれぞれの通信品質データに基づいて、チャネルマップによって示される無線通信に使用可能な複数の通信チャネルでの送信電力値を決定する送信電力値決定部(S310)と、
送信電力値決定部によって決定された送信電力値となるように、チャネルマップによって示される無線通信に使用可能な複数の通信チャネルでの送信電力を制御する送信電力制御部(S320、S470)と、を備える。
【0009】
上述したように、本開示の無線通信システムでは、通信チャネル制御部が、複数の通信チャネルごとの通信品質を示す通信品質データに基づいて、複数の通信チャネルから通信品質が低下した通信チャネルを除外した後の複数の通信チャネルを示すチャネルマップを作成する。従って、チャネルマップによって示される無線通信に使用可能な複数の通信チャネルは、一定の通信品質を満たした通信チャネルであると言える。そして、送信電力値決定部は、チャネルマップによって示される無線通信に使用可能な複数の通信チャネルのそれぞれの通信品質データに基づいて、チャネルマップによって示される無線通信に使用可能な複数の通信チャネルでの送信電力値を決定する。従って、例えば、通信品質データに基づいて、十分な通信信頼性が確保されていると判断できる場合、送信電力値決定部は、送信電力値が低下するように、送信電力値を決定することができる。このように、一定の通信品質を満たした通信チャネルの通信品質データに基づいて送信電力値を決定することにより、無駄に送信電力を高めることを抑制することが可能となる。その結果、本開示の無線通信システムによれば、通信信頼性を担保しつつ、消費電力が過大となるとことを抑制することができる。
【0010】
上記括弧内の参照番号は、本開示の理解を容易にすべく、後述する実施形態における具体的な構成との対応関係の一例を示すものにすぎず、なんら本開示の範囲を制限することを意図したものではない。
(【0011】以降は省略されています)
この特許をJ-PlatPat(特許庁公式サイト)で参照する
関連特許
株式会社デンソー
車載器
7日前
株式会社デンソー
ねじ部材
7日前
株式会社デンソー
ステータ
7日前
株式会社デンソー
反力装置
1日前
株式会社デンソー
電子装置
2日前
株式会社デンソー
電子装置
11日前
株式会社デンソー
電子装置
1日前
株式会社デンソーエレクトロニクス
発音装置
11日前
株式会社デンソー
ステータ
7日前
株式会社デンソー
レーダ装置
11日前
株式会社デンソーテン
インバータ
1日前
株式会社デンソー
農業用装置
3日前
株式会社デンソー
半導体装置
7日前
株式会社デンソー
レーダ装置
今日
株式会社デンソー
運転支援装置
2日前
株式会社デンソー
電力変換装置
15日前
株式会社デンソー
衝突予測装置
2日前
株式会社デンソー
フィルタ回路
15日前
株式会社デンソー
衝突予測装置
2日前
株式会社デンソーエアクール
換気空調装置
8日前
株式会社デンソー
電子制御装置
11日前
株式会社デンソー
電力変換装置
3日前
株式会社デンソー
電圧検出回路
3日前
株式会社デンソーテン
車載映像装置
7日前
株式会社デンソー
電子制御装置
7日前
株式会社デンソー
制御システム
14日前
株式会社デンソー
ステータコア
14日前
株式会社デンソー
電力変換装置
7日前
株式会社デンソー
通信システム
11日前
株式会社デンソー
電波吸収装置
11日前
株式会社デンソー
電気化学セル
11日前
株式会社デンソー
車載システム
1日前
株式会社デンソー
車両制御装置
1日前
株式会社デンソー
運航管理装置
今日
株式会社デンソー
車載システム
1日前
株式会社デンソー
画像符号化装置
9日前
続きを見る
他の特許を見る