TOP
|
特許
|
意匠
|
商標
特許ウォッチ
Twitter
他の特許を見る
公開番号
2025151221
公報種別
公開特許公報(A)
公開日
2025-10-09
出願番号
2024052537
出願日
2024-03-27
発明の名称
ロータリーキルン用の炉心管
出願人
ノリタケ株式会社
,
株式会社ノリタケTCF
代理人
個人
,
個人
主分類
F27B
7/22 20060101AFI20251002BHJP(炉,キルン,窯;レトルト)
要約
【課題】炉心管本体のみを容易に交換可能なロータリーキルン用の炉心管を提供すること。
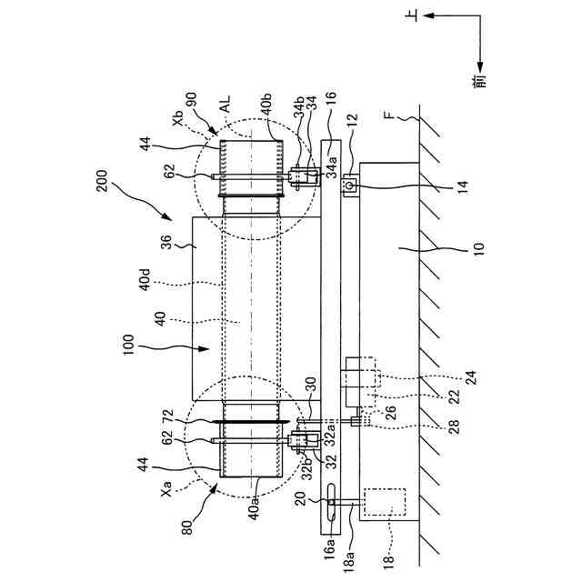
【解決手段】端側パッキン部材50および内側パッキン部材58は入口端面板52およびパッキン押え76の間で軸方向に圧潰されたものであり、径方向に膨らむことによって炉心管本体40の外周面40cおよびシールドラム46の内周面46bに接触している。このシールドラム46はタイヤ62が溶接されたものであり、端側パッキン部材50および内側パッキン部材58の摩擦力で炉心管本体40に周り止め状態に結合されている。このため、パッキン押え76を取外すことによってシールドラム46を炉心管本体40から取外し、炉心管本体40のみを容易に交換することが可能になる。
【選択図】図2
特許請求の範囲
【請求項1】
被加熱物が投入される管状の炉心管本体および前記炉心管本体の外周部に設けられたタイヤを備え、前記タイヤをローラー上に載置することによって前記炉心管本体を軸心周り方向へ回転可能とし、前記炉心管本体を前記軸心周り方向へ回転させながら前記被加熱物を前記炉心管本体の外部から加熱することによって前記被加熱物の焼成を行うロータリーキルン用の炉心管において、
前記炉心管本体の外周部に設けられ、前記炉心管本体の外周面との間に隙間を形成する内周面を有するものであって前記タイヤを支持する筒部材と、
前記筒部材の一端部に設けられ、前記隙間を軸方向から塞ぐ環状の端面板と、
前記隙間内に設けられた筒状のパッキン部材と、
前記筒部材の他端部に設けられ、前記パッキン部材を軸方向へ押すことによって前記端面板との間で圧潰する押え部材と、を備え、
前記パッキン部材は、前記筒部材の内周面および前記炉心管本体の外周面に接触することによって前記筒部材を前記炉心管本体の外周部に前記軸心周り方向へ周り止め状態に結合するものであることを特徴とするロータリーキルン用の炉心管。
続きを表示(約 290 文字)
【請求項2】
前記端面板および前記押え部材の少なくとも一方は、前記筒部材に着脱可能に設けられていることを特徴とする請求項1に記載のロータリーキルン用の炉心管。
【請求項3】
前記パッキン部材は、軸方向に並ぶ複数の環状パッキンからなることを特徴とする請求項1に記載のロータリーキルン用の炉心管。
【請求項4】
前記隙間内には、軸方向へ移動可能な内側筒部材が設けられ、
前記パッキン部材は、前記内側筒部材および前記端面板の間と、前記内側筒部材および前記押え部材の間と、に設けられていることを特徴とする請求項1に記載のロータリーキルン用の炉心管。
発明の詳細な説明
【技術分野】
【0001】
本発明は管状の炉心管本体を軸心周り方向へ回転させながら炉心管本体内の被加熱物を炉心管本体外から加熱するロータリーキルン用の炉心管に関する。
続きを表示(約 1,900 文字)
【背景技術】
【0002】
上記ロータリーキルン用の炉心管には炉心管本体およびタイヤを備えたものがある。炉心管本体は粉体状の被加熱物が投入される管状をなすものであり、炉心管本体内の被加熱物は炉心管本体の外部から炉心管本体を介して加熱されることによって焼成される。タイヤは炉心管本体の外周部に設けられたものであり、ローラー上に載置されている。この炉心管本体は回転力が与えられることによってローラー上で軸心周り方向へ回転するものであり、被加熱物の焼成は炉心管本体を回転させながら行われる。
【先行技術文献】
【特許文献】
【0003】
特開2019-196848号公報
【発明の概要】
【発明が解決しようとする課題】
【0004】
上記従来のロータリーキルン用の炉心管の場合には炉心管本体にタイヤが溶接によって固定されていた。このため、炉心管本体を交換する場合に炉心管本体に比べて交換の必要性が乏しいタイヤを炉心管本体と共に交換する必要があり、炉心管本体のみを容易に交換することが困難だった。
【0005】
本発明は以上の事情を背景として為されたものであり、その目的は、炉心管本体のみを容易に交換することが可能なロータリーキルン用の炉心管を提供することにある。
【課題を解決するための手段】
【0006】
第1の発明のロータリーキルン用の炉心管の要旨とするところは、(a)被加熱物が投入される管状の炉心管本体および前記炉心管本体の外周部に設けられたタイヤを備え、(b)前記タイヤをローラー上に載置することによって前記炉心管本体を軸心周り方向へ回転可能とし、前記炉心管本体を前記軸心周り方向へ回転させながら前記被加熱物を前記炉心管本体の外部から加熱することによって前記被加熱物の焼成を行うロータリーキルン用の炉心管において、(c)前記炉心管本体の外周部に設けられ前記炉心管本体の外周面との間に隙間を形成する内周面を有するものであって前記タイヤを支持する筒部材と、(d)前記筒部材の一端部に設けられ前記隙間を軸方向から塞ぐ環状の端面板と、(e)前記隙間内に設けられた筒状のパッキン部材と、(f)前記筒部材の他端部に設けられ前記パッキン部材を軸方向へ押すことによって前記端面板との間で圧潰する押え部材とを備え、(g)前記パッキン部材は前記筒部材の内周面および前記炉心管本体の外周面に接触することによって前記筒部材を前記炉心管本体の外周部に前記軸心周り方向へ周り止め状態に結合するものであることにある。
【0007】
第2の発明のロータリーキルン用の炉心管の要旨とするところは、第1の発明において、(a)前記端面板および前記押え部材の少なくとも一方は前記筒部材に着脱可能に設けられていることにある。
【0008】
第3の発明のロータリーキルン用の炉心管の要旨とするところは、第1の発明において、(a)前記パッキン部材は軸方向に並ぶ複数の環状パッキンからなることにある。
【0009】
第4の発明のロータリーキルン用の炉心管の要旨とするところは、第1の発明において、(a)前記隙間内には軸方向へ移動可能な内側筒部材が設けられ、前記パッキン部材は前記内側筒部材および前記端面板の間と前記内側筒部材および前記押え部材の間とに設けられていることにある。
【発明の効果】
【0010】
第1の発明によれば、炉心管本体の外周面および筒部材の内周面の間の隙間内に筒状のパッキン部材が設けられている。このパッキン部材は端面板および押え部材の間で圧潰されることによって炉心管本体の外周面および筒部材の内周面のそれぞれに接触するものであり、筒部材は炉心管本体の外周部にパッキン部材の摩擦力で周り止め状態に結合されている。このため、押え部材または端面板を筒部材から取外すことによってパッキン部材の圧潰が解除され、パッキン部材の圧潰が解除されることによって炉心管本体および筒部材の間の結合が解除される。この状態で筒部材が炉心管本体の外周部から引抜かれることによってタイヤが筒部材と共に炉心管本体から除去されるので、炉心管本体のみを容易に交換することが可能になる。しかも、炉心管本体にタイヤを溶接する必要がなくなる。このため、耐摩耗性が高い耐熱鋳鋼や開発中の開発金属やセラミックス等の溶接が困難な材料からなる炉心管本体を使用することが可能になり、炉心管本体が溶接によって脆くなることも防止される。
(【0011】以降は省略されています)
この特許をJ-PlatPat(特許庁公式サイト)で参照する
関連特許
ノリタケ株式会社
冷却炉
3日前
ノリタケ株式会社
加熱炉
3日前
ノリタケ株式会社
焼成炉
9日前
ノリタケ株式会社
焼成炉
9日前
ノリタケ株式会社
焼成炉
9日前
ノリタケ株式会社
洗浄装置
今日
ノリタケ株式会社
熱処理容器
今日
ノリタケ株式会社
金ペースト
11日前
ノリタケ株式会社
焼成用治具
1日前
ノリタケ株式会社
焼成用治具
1日前
ノリタケ株式会社
担体構造体
1日前
ノリタケ株式会社
焼成用治具
1日前
ノリタケ株式会社
熱処理設備
1か月前
ノリタケ株式会社
棒材切断機
今日
ノリタケ株式会社
熱処理設備
1か月前
ノリタケ株式会社
熱処理装置
1か月前
ノリタケ株式会社
熱処理装置
2か月前
ノリタケ株式会社
熱処理装置
2か月前
ノリタケ株式会社
熱処理装置
2か月前
ノリタケ株式会社
熱処理装置
2か月前
ノリタケ株式会社
研磨パッド
今日
ノリタケ株式会社
熱伝導シート
今日
ノリタケ株式会社
導電性ペースト
今日
ノリタケ株式会社
超砥粒ホイール
今日
ノリタケ株式会社
ガス吸収シート
22日前
ノリタケ株式会社
ローラ式搬送装置
3日前
ノリタケ株式会社
ローラ式搬送装置
3日前
ノリタケ株式会社
静電容量タッチパネル
1日前
ノリタケ株式会社
封止用グリーンシート
今日
ノリタケ株式会社
静電容量タッチパネル
1日前
ノリタケ株式会社
砥材及びその製造方法
7日前
ノリタケ株式会社
砥材及びその製造方法
1日前
ノリタケ株式会社
インクジェットインク
1か月前
ノリタケ株式会社
触媒材料およびその利用
1日前
ノリタケ株式会社
触媒材料およびその利用
1日前
ノリタケ株式会社
電気化学セル用ペースト
2日前
続きを見る
他の特許を見る